Friday, April 9th, 2021 AT 6:38 PM
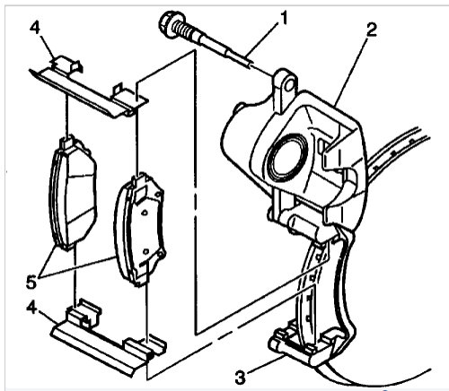
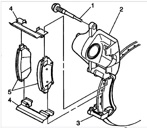
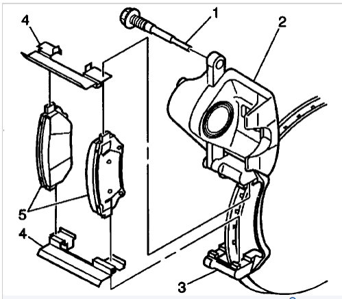
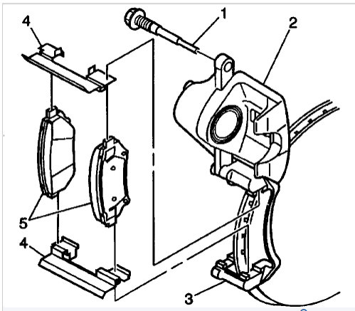
I'm looking for Power Stop carbon Fibre pads and rotors for the rear tires. I find for the front tires and not for the rear tires. Where can I find these pads and rotors?






















