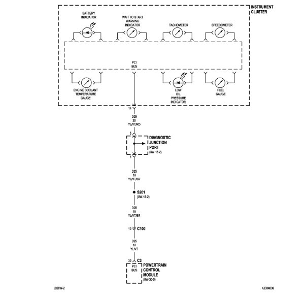
Oil pressure light

Tiny
STEVEKLOSTER
  • MEMBER
  • 2002 JEEP LIBERTY
  • 6.4L
  • V6
  • 4WD
  • AUTOMATIC
  • 135,000 MILES
When the engine gets warmed up and shut off the oil pressure light comes on and stays on until the engine cools down.
Monday, December 10th, 2018 AT 7:18 PM

5 Replies

Tiny
ASEMASTER6371
  • MECHANIC
  • 52,796 POSTS
Good afternoon,

Do you mean after you turn it off and pull out the key, the light stays on?

The PCM controls that light along with several others. If it was the PCM, the others would be on as well.

This sounds like you have a dash cluster issue.

Roy
Was this
answer
helpful?
Yes
No
Tuesday, December 11th, 2018 AT 1:36 PM
Tiny
STEVEKLOSTER
  • MEMBER
  • 4 POSTS
It only comes on after turning the car off and it has warmed up and when restarted.
Was this
answer
helpful?
Yes
No
Tuesday, December 11th, 2018 AT 2:58 PM
Tiny
ASEMASTER6371
  • MECHANIC
  • 52,796 POSTS
Okay, if it is on when you restart, there may be a oil pressure issue.

I would suggest checking the oil pressure with a manual gauge while running to verify the correct pressure. If it is low, then that needs to addressed as to why the pressure is low.

https://www.2carpros.com/articles/high-or-low-engine-oil-pressure

It could be a bad oil pump, clogged pick up screen or internal engine issue.

If the pressure is good, replace the sender unit.

Roy
Was this
answer
helpful?
Yes
No
+1
Tuesday, December 11th, 2018 AT 3:04 PM
Tiny
STEVEKLOSTER
  • MEMBER
  • 4 POSTS
Thank you, I will check it.
Was this
answer
helpful?
Yes
No
Tuesday, December 11th, 2018 AT 5:33 PM
Tiny
ASEMASTER6371
  • MECHANIC
  • 52,796 POSTS
You are welcome.

We are always glad to help.

Roy
Was this
answer
helpful?
Yes
No
+1
Tuesday, December 11th, 2018 AT 6:06 PM

Please login or register to post a reply.