Noise when making left turn and small bumps at low speed

Tiny
JASK40
  • MEMBER
  • 2004 CHEVROLET SILVERADO
  • 5.3L
  • V8
  • 4WD
  • AUTOMATIC
  • 116,232 MILES
I have heard the the noise when making left turn and small bumps at low speed is due to the plastic bearing in the column, and also the intermediate shaft is also a common problem. Are the any know fixes for the intermediate shaft issue, short of buying a new one? I'm going to replace the plastic bearing in the column.
Thursday, November 26th, 2020 AT 10:13 AM

1 Reply

Tiny
JACOBANDNICKOLAS
  • MECHANIC
  • 110,194 POSTS
Hi,

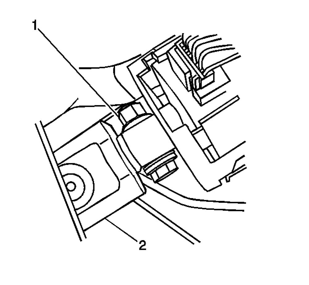
Is the sound under the dash? As far as the intermediate shaft, there is a universal joint at each end which can wear out and cause play in the steering and noise. I attached a pic below and highlighted the joints. Check them for play. Note: If it has excessive play, it should be replaced.

If the noise is from the steering column area, pic two below provides a diagnostic flow chart to identify the problem.

__________________________________________

Here are directions for removal and replacement of the column. I'm adding them in the event you take it completely out of the vehicle. The remaining pics correlate with the directions.

_________________________________________

2004 Chevy Truck Silverado 1500 4WD V8-5.3L VIN T
Steering Column
Vehicle Steering and Suspension Steering Steering Column Service and Repair Removal and Replacement Steering Column
STEERING COLUMN
Steering Column Replacement

Tools Required

- J 42640 Steering Column Anti-Rotation Pin

Removal Procedure

Caution: When performing service on or near the SIR components or the SIR wiring, the SIR system must be disabled. Refer to SIR Disabling and Enabling See: Air Bag(s) Arming and Disarming > Procedures. Failure to observe the correct procedure could cause deployment of the SIR components, personal injury, or unnecessary SIR system repairs.

1. Disable the supplemental inflatable restraint (SIR) system. Refer to SIR Disabling and Enabling See: Air Bag(s) Arming and Disarming > Procedures.
2. Remove the knee bolster. Refer to Knee Bolster Replacement See: Dashboard / Instrument Panel > Removal and Replacement.

Pic 3

Notice: With wheels of the vehicle facing straight ahead, secure the steering wheel utilizing steering column anti-rotation pin, steering column lock, or a strap to prevent rotation. Locking of the steering column will prevent damage and a possible malfunction of the SIR system. The steering wheel must be secured in position before disconnecting the following components:
- The steering column
- The intermediate shaft(s)
- The steering gear
After disconnecting these components, do not rotate the steering wheel or move the front tires and wheels. Failure to follow this procedure may cause the SIR coil assembly to become un-centered and cause possible damage to the SIR coil. If you think the SIR coil has became un-centered, refer to your specific SIR coil's centering procedure to re-center SIR Coil.

3. Lock the steering column through the access hole in the lower trim cover using J 42640.
4. Remove the body control module bracket. Do not disconnect the harness from the body control module. Refer to Body Control Module Replacement See: Body Control Module > Removal and Replacement.

Pic 4

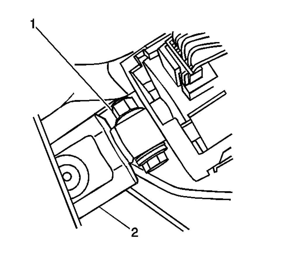
5. Disconnect the transmission shift cable (1) from the column.

Pic 5

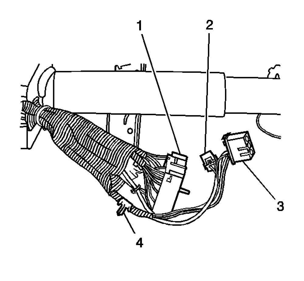
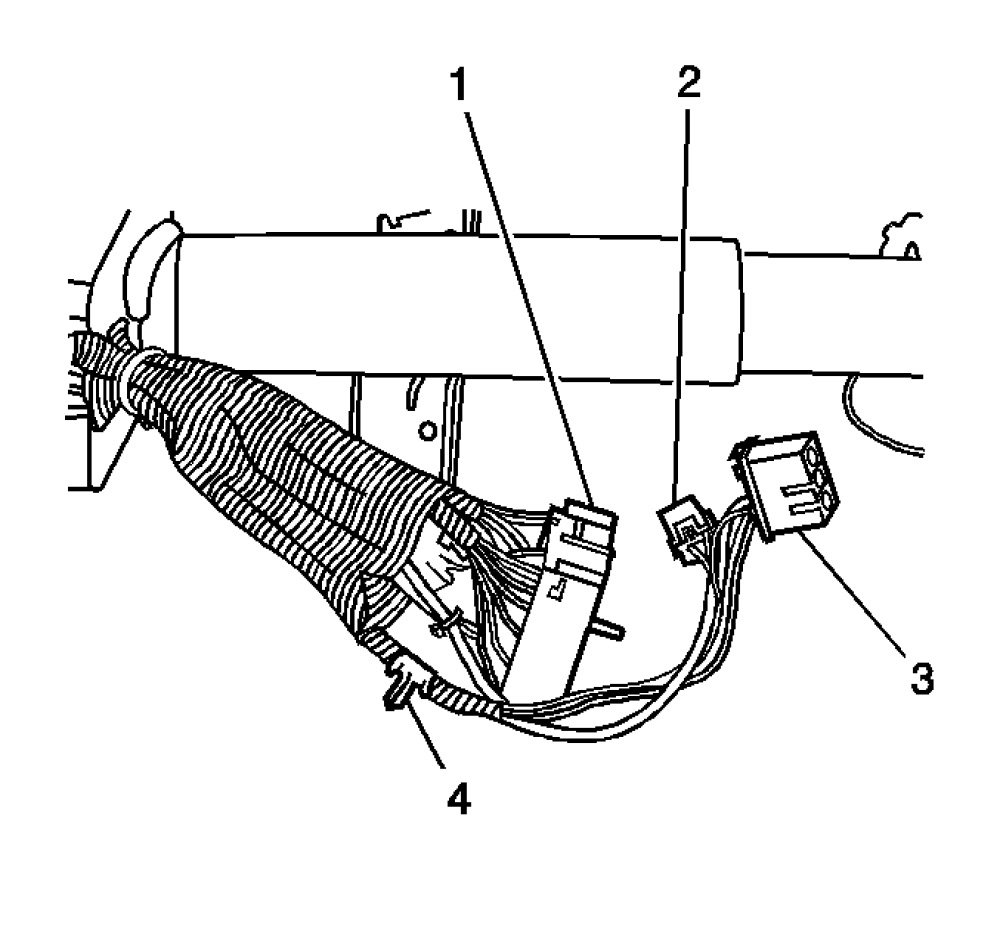
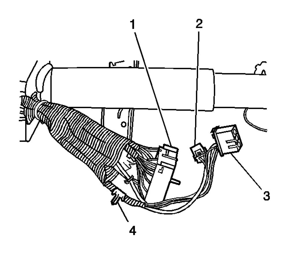
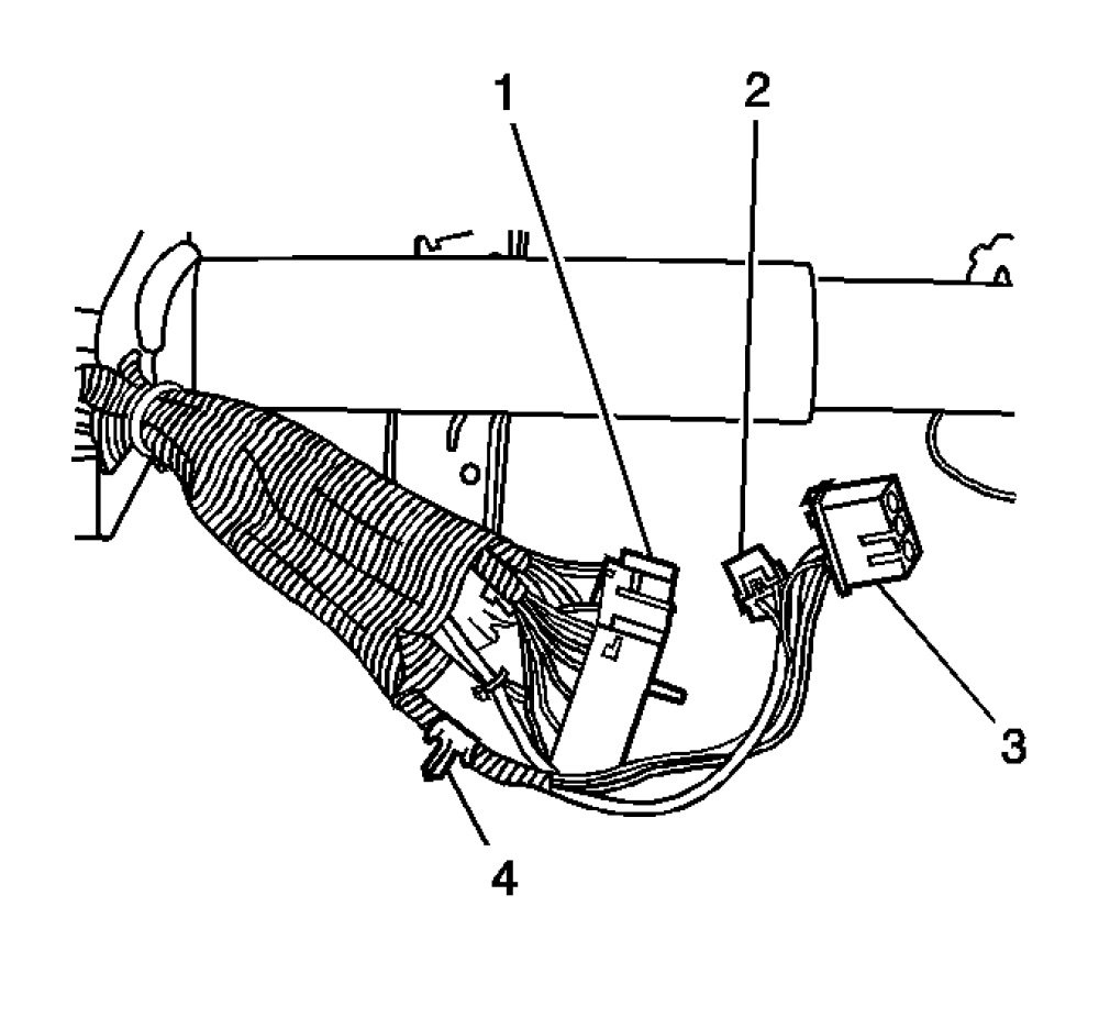
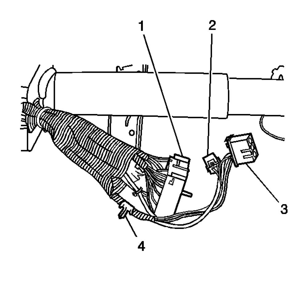
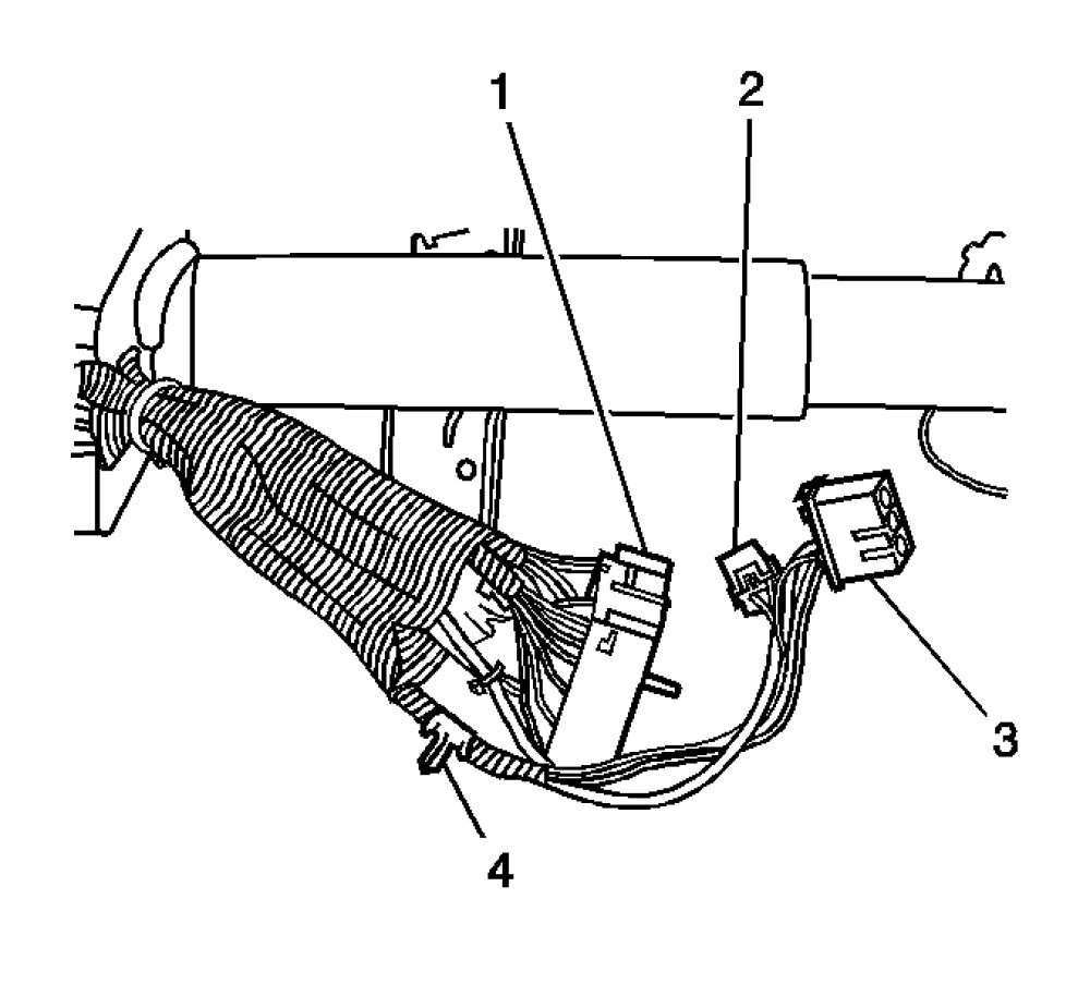
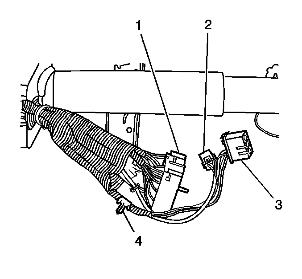
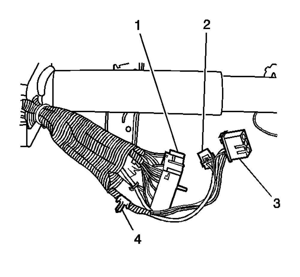
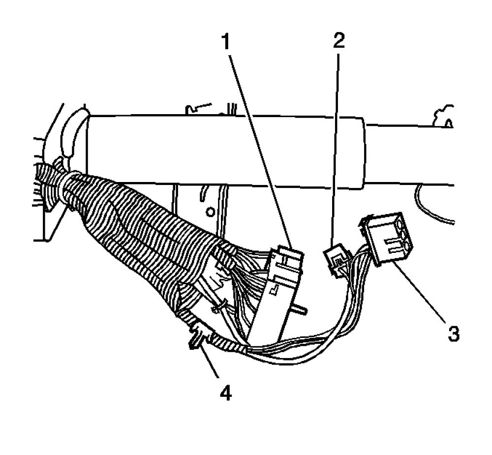
6. Disconnect the steering column electrical connectors.

Pic 6

Notice: During removal of the steering column the wire harness retaining clip must be removed and reinstalled after installing the steering column or damage may occur to the wire harness.

7. Remove the wiring harness retaining pin (4) from the instrument panel.

Pic 7

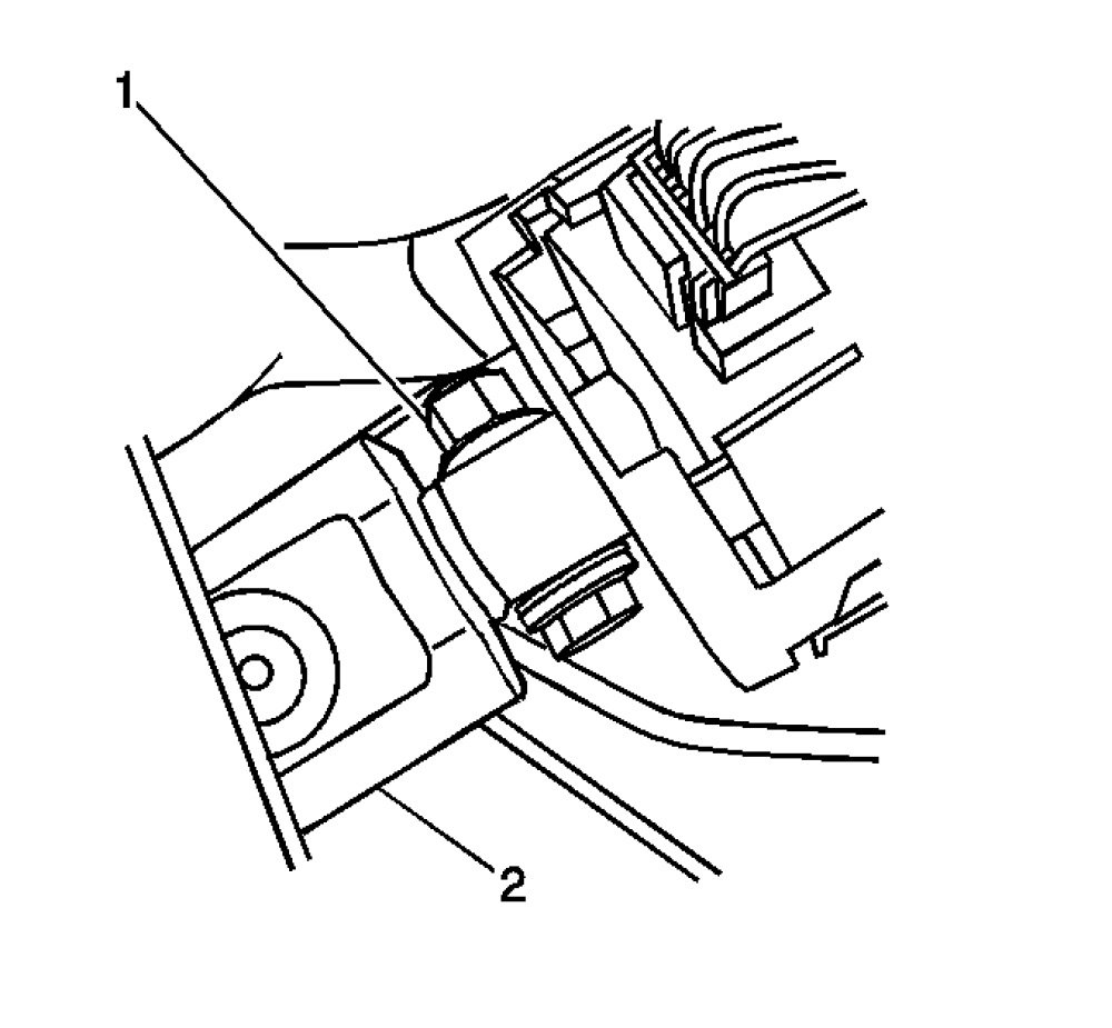
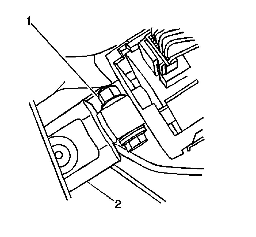
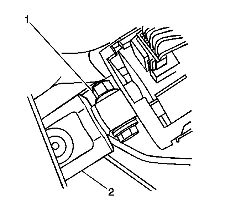
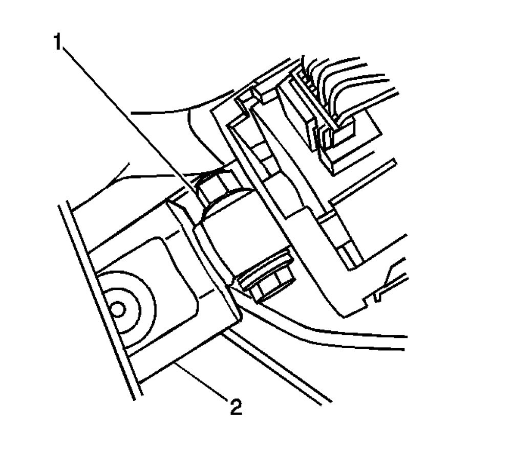
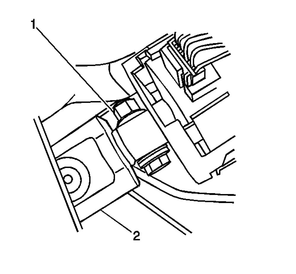
8. Remove the upper intermediate shaft pinch bolt (1) from the steering column, and remove the shaft from the steering column.

Pic 8

9. Remove the nuts (1) from the knee bolster deflector.

Pic 9

10. Remove the nuts from the upper support brackets.
11. Remove the nuts from the lower support brackets.

Notice: Once the steering column is removed from the vehicle, the column is extremely susceptible to damage. Dropping the column assembly on the end could collapse the steering shaft or loosen the plastic injections, which maintain column rigidity. Leaning on the column assembly could cause the jacket to bend or deform. Any of the above damage could impair the columns collapsible design. Do NOT hammer on the end of the shaft, because hammering could loosen the plastic injections, which maintain column rigidity. If you need to remove the steering wheel, refer to the Steering Wheel Replacement See: Steering Wheel > Procedures.

12. Remove the steering column from the vehicle.

Installation Procedure

pic 10

Caution: In order to ensure the intended function of the steering column in a vehicle during a crash and in order to avoid personal injury to the driver, perform the following:
- Tighten the steering column lower fasteners before you tighten the steering column upper fasteners. Failure to do this can damage the steering column.
- Tighten the steering column fasteners to the specified torque. Overtightening the upper steering column fasteners could affect the steering column collapse.

1. Install the steering column to the vehicle.

Notice: Use the correct fastener in the correct location. Replacement fasteners must be the correct part number for that application. Fasteners requiring replacement or fasteners requiring the use of thread locking compound or sealant are identified in the service procedure. Do not use paints, lubricants, or corrosion inhibitors on fasteners or fastener joint surfaces unless specified. These coatings affect fastener torque and joint clamping force and may damage the fastener. Use the correct tightening sequence and specifications when installing fasteners in order to avoid damage to parts and systems.

2. Install the lower column nuts.

Tighten
Tighten the nuts to 30 Nm (22 lb ft).

3. Install the nuts to upper support brackets.

Tighten
Tighten the nuts to 30 Nm (22 lb ft).

Pic 11

4. Install the nuts (1) which retain the knee bolster deflector to the instrument panel.

Tighten
Tighten the retaining nuts to 9 Nm (80 lb in).

Pic 12

5. Install the wiring harness retaining (4) pin to the instrument panel.

Pic 13

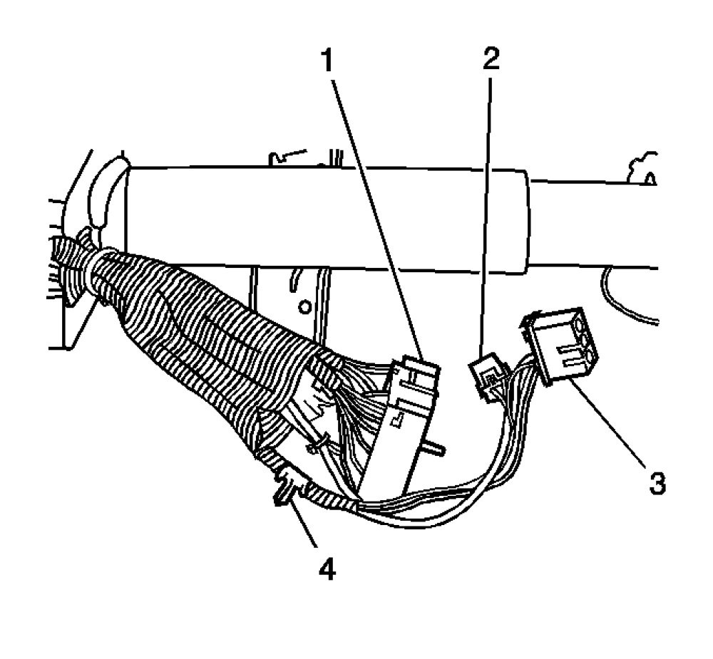
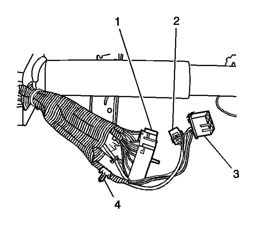
6. Connect the steering column electrical connectors to the vehicle wiring harness.

Tighten
Tighten the connector to 6 Nm (53 lb in).

Pic 14

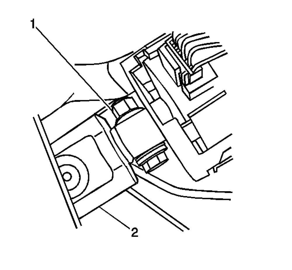
7. Connect the transmission shift cable (1) to the steering column.
8. Install the body control module bracket. Refer to Body Control Module Replacement See: Body Control Module > Removal and Replacement.
9. Install the knee bolster. Refer to Knee Bolster Replacement See: Dashboard / Instrument Panel > Removal and Replacement.
10. Enable the SIR system. Refer to SIR Disabling and Enabling See: Air Bag(s) Arming and Disarming > Procedures.

Pic 15

11. Remove J 42640 from the steering column.

______________________________

I hope this helps. Let me know if you have other questions or need help.

Take care,
Joe
Was this
answer
helpful?
Yes
No
Thursday, November 26th, 2020 AT 4:23 PM

Please login or register to post a reply.