No start

Tiny
DAULTON93
  • MEMBER
  • 2002 CHEVROLET TRAILBLAZER
  • 4WD
  • AUTOMATIC
  • 246,514 MILES
The yellow wire that connects to the ignition switch has no power unless I try to start the vehicle. The brown wire has no power as well. What would cause this? Vehicle will not start at all.
Monday, May 18th, 2020 AT 3:31 PM

1 Reply

Tiny
ASEMASTER6371
  • MECHANIC
  • 52,796 POSTS
Good evening,

The yellow wire is correct.

The brown wire should have power in the run position. If it does not the ignition switch is bad.

Roy

Ignition and Start Switch Replacement

Tools required
J-42759 Ignition Switch Connector Release Tool

Removal Procedure

1. Disconnect the negative battery cable.

Caution: Refer to SIR Caution in the Preface section.

2. Disable the SIR system.
3. Remove the hush and knee bolster.
4. Remove the steering column trim covers.
5. With the key installed, turn the key to the RUN position.

ImageOpen In New TabZoom/Print

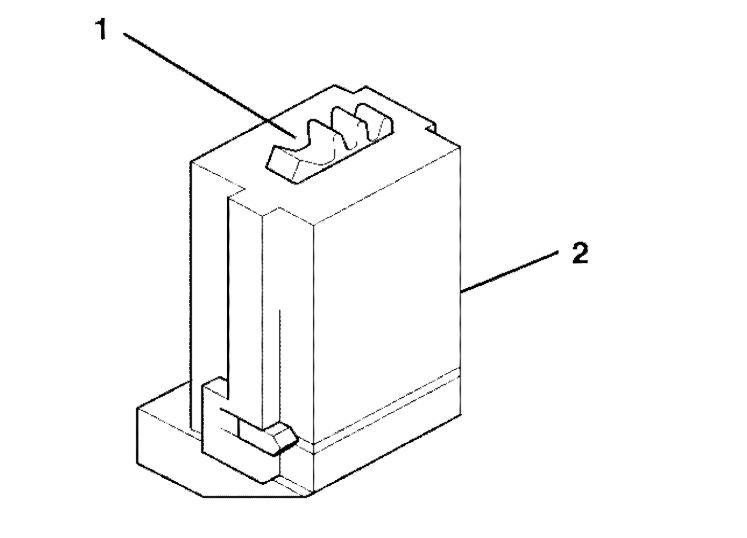
6. Install an allen wrench into the hole on top of the lock cylinder housing.

Push down on the allen wrench to release the tab on the lock cylinder inside the lock cylinder housing.

ImageOpen In New TabZoom/Print

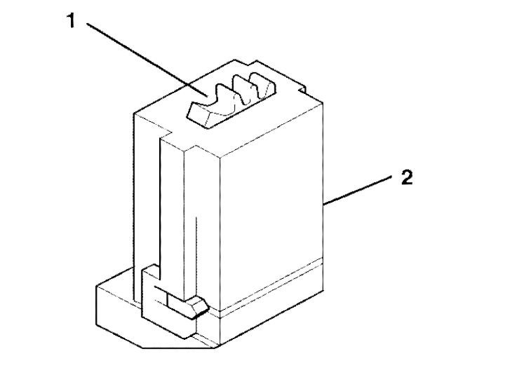
7. Slide the lock cylinder out of the lock cylinder housing.
8. Disconnect the passlock and key buzzer from the lock cylinder housing.

ImageOpen In New TabZoom/Print

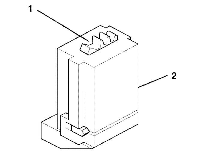
9. Insert J-42759 into the lock cylinder housing to release the tabs on the ignition switch.
10. Pull the ignition switch out of the lock cylinder housing.
11. Disconnect the connector from the ignition switch.
Was this
answer
helpful?
Yes
No
Monday, May 18th, 2020 AT 4:52 PM

Please login or register to post a reply.