Thursday, May 4th, 2023 AT 2:56 PM
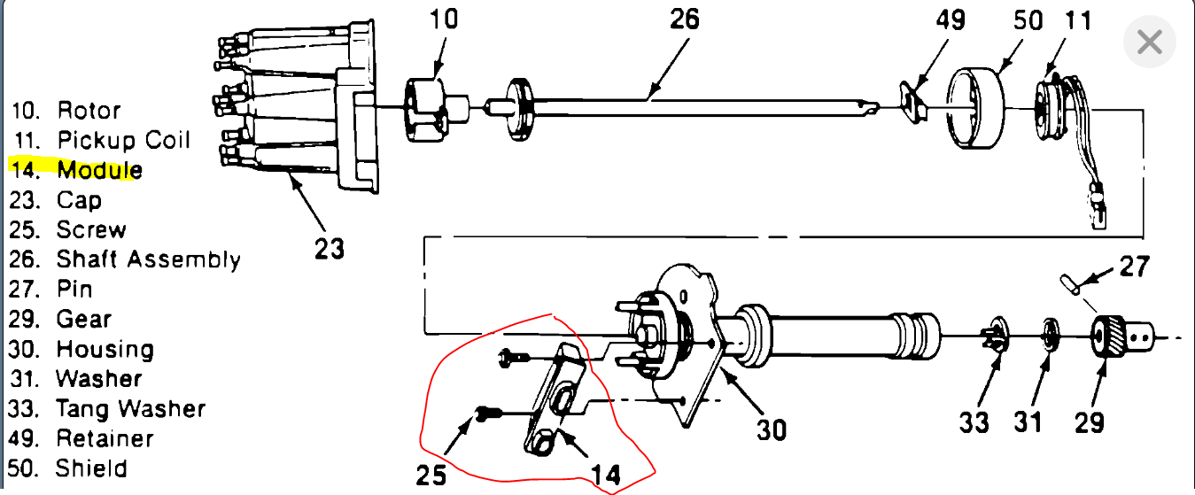
I have no spark to the spark plugs. I replaced the distributor it's brand new. I have replaced the ignition coil. I have replaced the plugs and the wires but I still have no spark to the plugs even though I have power to the coil and the distributor what could it be please God help me.

