No spark?

Tiny
KAYLA SAMMS
  • MEMBER
  • 1992 GMC SIERRA
  • 340,000 MILES
I just did a bunch of work on it like changed the starter and other stuff but now I'm not getting spark.
Sunday, December 29th, 2024 AT 9:03 AM

5 Replies

Tiny
KEN L
  • MASTER CERTIFIED MECHANIC
  • 55,488 POSTS
The first thing I would do is check the fuses with the key on.

Here is a guide to help and the fuse locations as well:

https://www.2carpros.com/articles/how-to-check-a-car-fuse

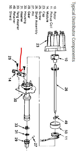
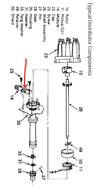
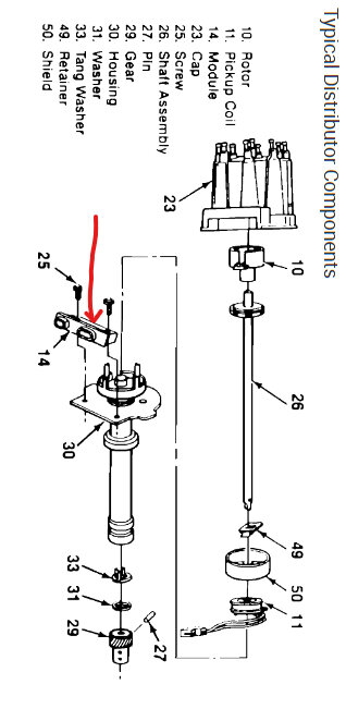
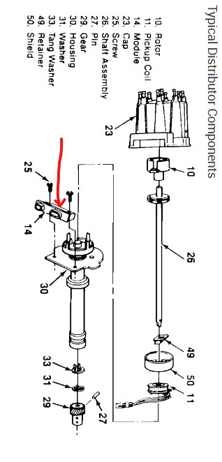
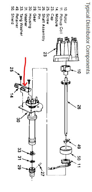
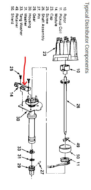
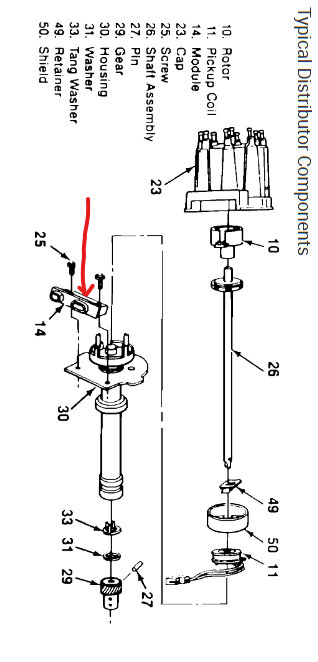
I would also check for 12 volts at the coil with the key on. Check out the images (below). Let us know how it goes.
Was this
answer
helpful?
Yes
No
Monday, December 30th, 2024 AT 10:36 AM
Tiny
KAYLA SAMMS
  • MEMBER
  • 3 POSTS
Well, it has hardly any fuses at all and its throttle body.
Was this
answer
helpful?
Yes
No
Monday, December 30th, 2024 AT 11:08 AM
Tiny
KEN L
  • MASTER CERTIFIED MECHANIC
  • 55,488 POSTS
Okay did you find any bad ones? Also is there power to the ignition coil?
Was this
answer
helpful?
Yes
No
Tuesday, December 31st, 2024 AT 10:59 AM
Tiny
KAYLA SAMMS
  • MEMBER
  • 3 POSTS
Yes there is power to it.
Was this
answer
helpful?
Yes
No
Wednesday, January 1st, 2025 AT 2:56 PM
Tiny
KEN L
  • MASTER CERTIFIED MECHANIC
  • 55,488 POSTS
Okay, not let's remove the distributor cap and crank the engine over to see if the rotor spins? If so, I would replace the ignition module which fail on these trucks, here is how, let me know.
Was this
answer
helpful?
Yes
No
Thursday, January 2nd, 2025 AT 10:14 AM

Please login or register to post a reply.