No power steering after rebuild

Tiny
MINISTER9MM
  • MEMBER
  • 2007 HONDA CRV
  • 4 CYL
  • 2WD
  • AUTOMATIC
  • 135,000 MILES
Pump was leaking and it was removed and rebuilt. Now there is no power steering at all.

(May be important to note that the pressure sensor seal was not replaced as I did not have the right size hex. The leak was obviously elsewhere so I left it.)


No whining, no noises, no leaks, no foam. Jacked it up and turned from lock to lock for about 45 minutes and bled until there were no more bubbles. Plenty of fluid. No power steering.
Tuesday, May 14th, 2019 AT 5:10 PM

4 Replies

Tiny
JACOBANDNICKOLAS
  • MECHANIC
  • 110,194 POSTS
Welcome to 2CarPros.

Did you remove the pulley? If so, is it properly reinstalled? Do you see any circulation on the fluid with the engine running?

Here are the specific directions for overhauling the pump. Take a look through them to see if you may have missed anything. The attached pics correlate with the directions.

______________________________________________

PUMP OVERHAUL
Pump Overhaul

Pump
pic 1

Special Tools Required
Driver 07749-0010000
Attachment, 28 x 30 mm 07946-1870100
Pulley holder 07ZAB-S5A0100

Disassembly

NOTE: Refer to the Exploded View as needed during the following procedure.

1. Drain the fluid from the pump.
2. Remove the power steering pump.
3. Hold the steering pump (A) in a vise with soft jaws (B), hold the pulley (C) with the pulley holder (D), and remove the pulley nut (E) and pulley. Be careful not to damage the pump housing with the jaws of the vise.

Pic 2

4. Remove the inlet joint and O-ring.
5. Remove the pressure control valve cap, O-ring, valve spring, and pressure control valve.
6. Remove the pump housing cap, O-ring, and pump preload spring.
7. Remove the pump cover, O-ring, and pump cover seals.
8. Pull out the roll pin.
9. Remove the outer case, cam ring, rotor, vanes, and side plate.
10. Remove the rubber seal and slipper seal from the outer case.
11. Remove the O-rings from the bottom of the housing.
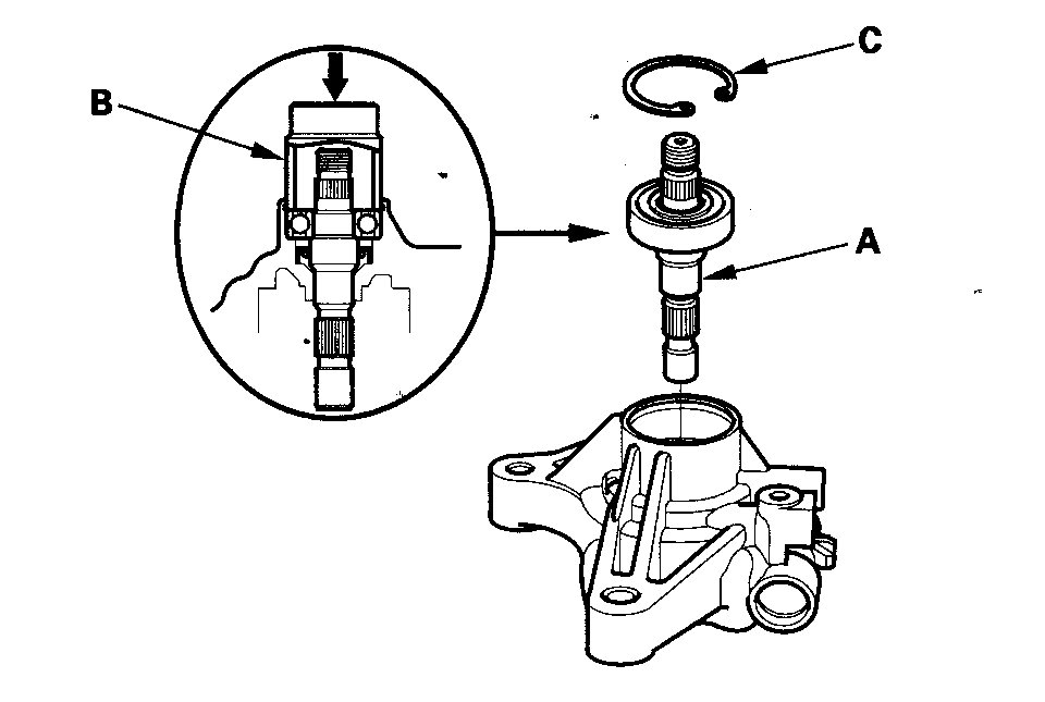
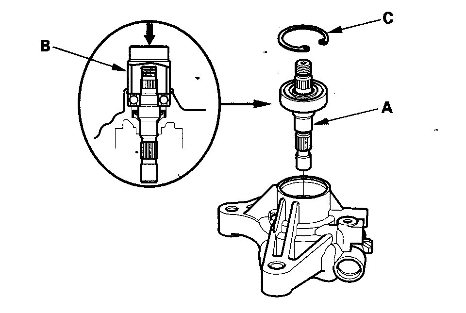
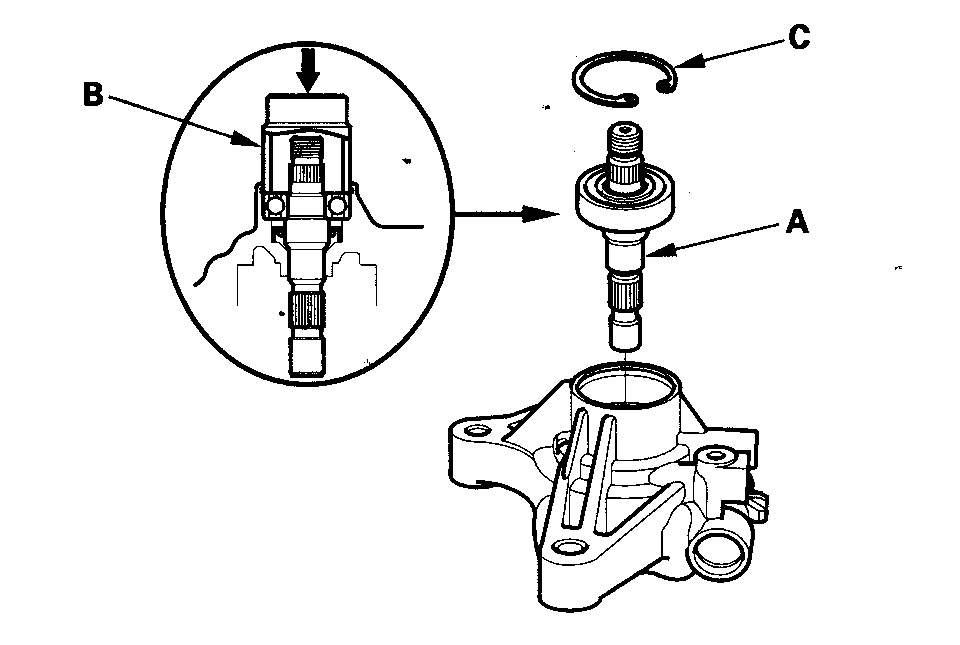
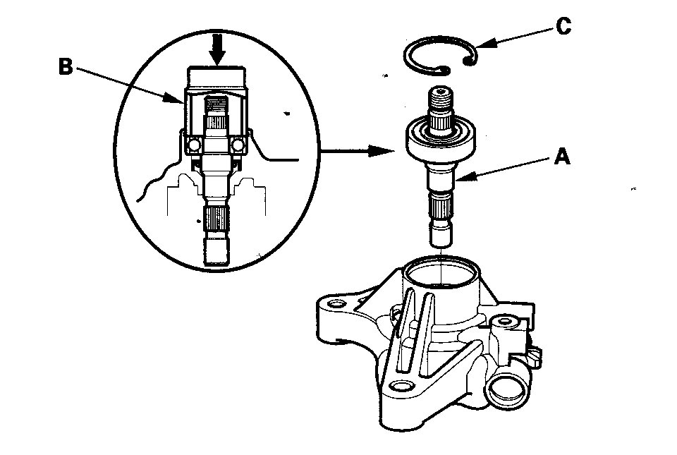
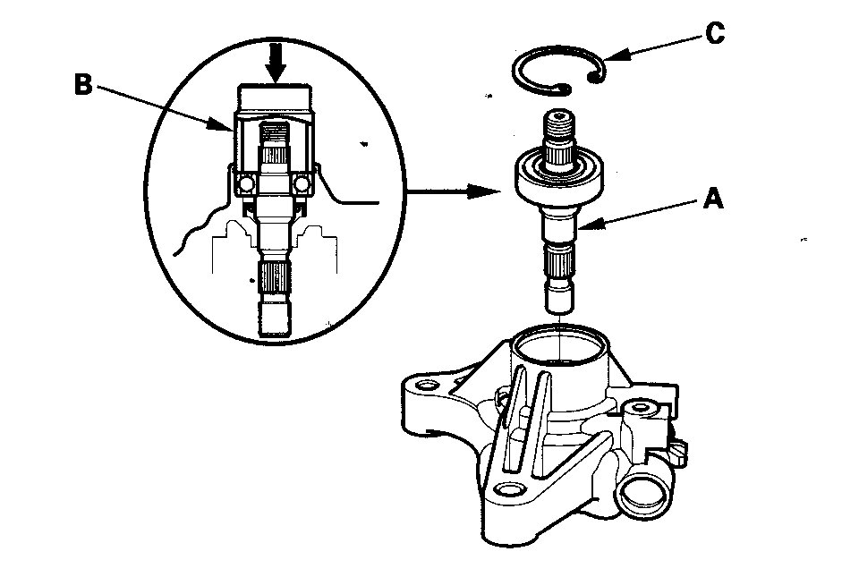
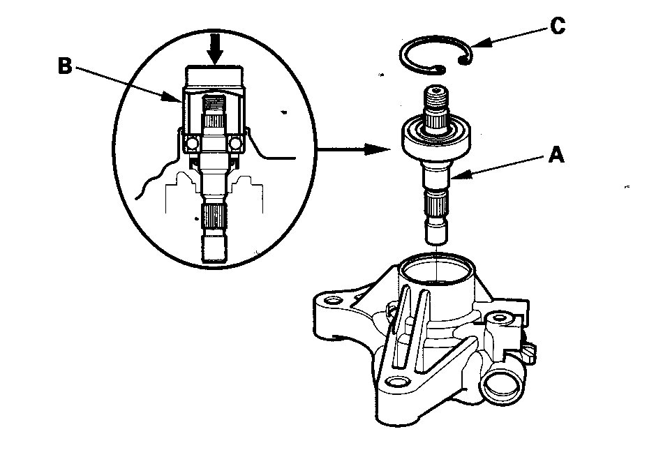
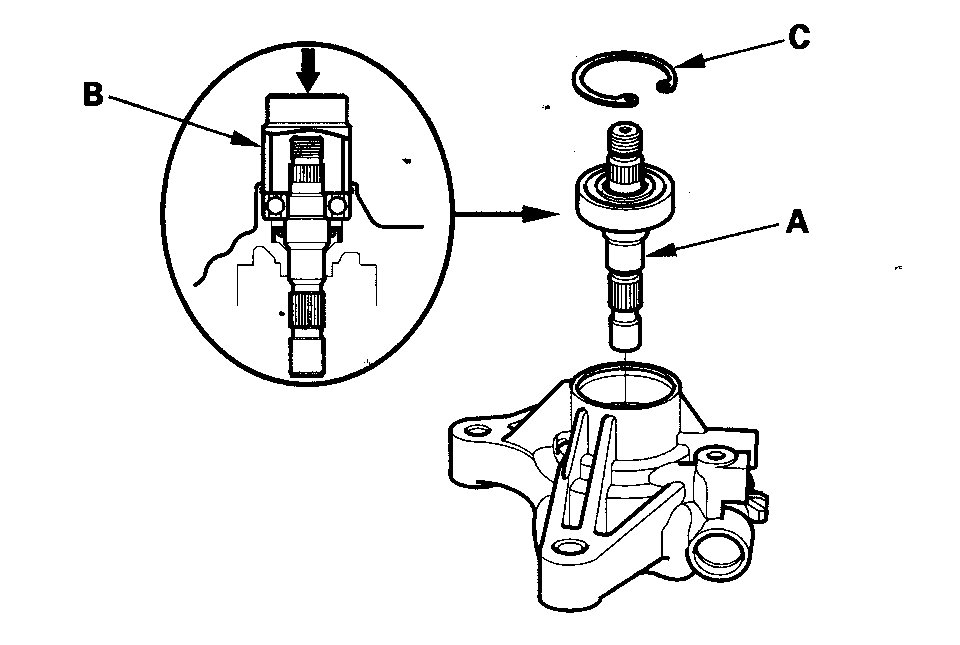
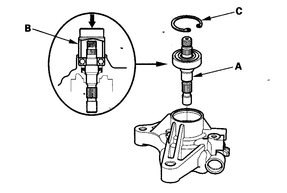
12. Remove the 40 mm internal snap ring, then remove the driveshaft by tapping the shaft end with a plastic hammer.
13. Remove the pump seal from the pump housing.

Inspection
14. Check the pressure control valve for wear, burrs, and other damage to the edges of the grooves in the valve.

Pic 3

15. Inspect the bore of the pressure control valve on the pump housing for scratches and wear.
16. Slip the pressure control valve back in the pump housing, and check that it moves in and out smoothly. If OK, go to step 17; if not, replace the pump as an assembly. The pressure control valve is not available separately.

Pic 4

17. Attach a hose (A) to the end of the pressure control valve (B) as shown. Then submerge the pressure control valve in a container of power steering fluid or solvent (C), and blow in the hose.
If air bubbles leak through the valve at less than 98 kPa (1.0 kgf/cm2, 14.2 psi), replace the pump as an assembly. The pressure control valve is not available separately.
If the pressure control valve is OK, set it aside for reassembly later.

Pic 5

18. Inspect the ball bearing by rotating the outer race slowly. If you feel any play (axial or radial) or roughness, remove the faulty ball bearing (A), and install a new one (B).

Pic 6

19. Inspect each part shown with an asterisk in the Exploded View; if any of them are worn or damaged, replace the pump as an assembly.

Reassembly
20. Install the new pump seal (A) (with its grooved side facing in) into the pump housing (B) by hand, then drive it in using the driver until the seal is fully seated in the pump housing. Do not apply more than 1,370 N (140 kgf, 308 lbf) of pressure.

Pic 7

21. Position the pump driveshaft (A) in the pump housing, then press it in with the appropriate size socket wrench (B) as shown.

Pic 8

22. Install the 40 mm internal snap ring (C) with its radiused edge facing out.
23. Coat the new 23.8 mm O-ring (A) with power steering fluid, then position it on the bottom (B) of the pump housing.

Pic 9

24. Coat the new cover seals (A) and new 13.0 mm O-ring (B) with power steering fluid, then position them into the grooves on the cover (C).

NOTE: Be careful not to install the inlet joint O-ring because they are the same size.

Pic 10

25. Install the outer case (A) by aligning the slot (B) inside the outer case with the cover roll pin hole (C). Be sure that the tapered side (D) of outer case is facing up.

Pic 11

26. Apply, power steering fluid to the rubber seal (E) (black), and install it in the slot (F) of the outer case.
27. Apply power steering fluid to the slipper seal (G) (white), and install it on top of the rubber seal you just installed.
28. Install the cam ring (A) by aligning the slot (B) with the slot (C) in the outer case.

Pic 12

29. Insert the roll pin (D) into the slots between the cam ring and outer case, then push the roll pin into the set hole (E).
30. Install the rotor (A) in the cam ring (B).

Pic 13

31. Set the 11 vanes (C) in the grooves in the rotor. Make sure that the gold-colored ends (D) of the vanes are in contact with the sliding surface of the cam ring.
32. Place the side plate (A) on the cam ring, and align the roll pin set hole (B) with the roll pin (C).

Pic 14

33. Coat the new O-ring (D) with power steering fluid, then position it into the groove on the side plate.
34. Install the pump housing (A) over the cover assembly (B).

Pic 15

35. Align the bolt holes in the cover (A) with the threaded holes in the pump housing. Install the flange bolts loosely first, then torque the flange bolts in a criss-cross pattern in two or more steps.

Pic 16

36. Push in the cam ring (A) from the pump housing cap hole (B) with a flat-tip screwdriver to make sure the cam ring is fully seated against the outer case.

Pic 17

37. Install the pump preload spring (A) in the pump housing.

Pic 18

38. Coat the new 12.7 mm O-ring (B) with power steering fluid, and install it on the pump housing cap (C).
39. Install the pump housing cap on the pump housing, and tighten it to the specified torque.
40. Install the pressure control valve spring (A) in the pump housing.

Pic 19

41. Coat the pressure control valve (B) with power steering fluid, and install it in the pump housing.
42. Coat the new 16.7 mm O-ring (C) with power steering fluid, and install it on the pressure control valve cap (D).
43. Install the pressure control valve cap on the pump housing, and tighten it to the specified torque.
44. Coat the new O-ring (A) with power steering fluid, and install it on the inlet joint (B).

Pic 20

45. Install the inlet joint on the pump housing.
46. Install the pulley (A), then loosely install the pulley nut (B). Hold the steering pump in a vise with soft jaws (C). Be careful not to damage the pump housing with the jaws of the vise.

Pic 21

47. Hold the pulley with the pulley holder, and tighten the pulley nut to the specified torque.
48. Check that the pump turns smoothly by turning the pulley. If it turns hard, loosen the four flange bolts on the cover, then retighten them as in step 35, and check the pump again.

____________________

Let me know what you find or if you have specific questions.

Take care,
Joe
Was this
answer
helpful?
Yes
No
+1
Tuesday, May 14th, 2019 AT 7:57 PM
Tiny
MINISTER9MM
  • MEMBER
  • 3 POSTS
Thanks. I did remove the pulley. Would circulation of fluid look like churning in the reservoir?
Was this
answer
helpful?
Yes
No
Wednesday, May 15th, 2019 AT 4:22 AM
Tiny
MINISTER9MM
  • MEMBER
  • 3 POSTS
Did confirm that the pully was tight enough.
Was this
answer
helpful?
Yes
No
Wednesday, May 15th, 2019 AT 4:27 PM
Tiny
JACOBANDNICKOLAS
  • MECHANIC
  • 110,194 POSTS
Welcome back:

You should see fluid moving. Make sure there are no kinked lines or anything that would cause fluid not to flow. Also, was there any contamination on the system before the rebuild?

Let me know.
Joe
Was this
answer
helpful?
Yes
No
Wednesday, May 15th, 2019 AT 7:14 PM

Please login or register to post a reply.