No cold air

Tiny
DONJI55
  • MEMBER
  • 2004 FORD CROWN VICTORIA
  • 4.6L
  • RWD
  • AUTOMATIC
  • 111,000 MILES
I ran the diagnostic and got a 024 code what does that mean?
Thursday, August 17th, 2017 AT 3:25 PM

4 Replies

Tiny
HARRY P
  • MECHANIC
  • 2,296 POSTS
The blend air door actuator is not working correctly. Is your car's HVAC seemingly stuck on heat or A/C? If so, you likely need a new blend door actuator. They come with plastic gears in them. After some years, the gears become stripped and then the actuator cannot grip enough to turn the door from heat to AC and vice versa. Unfortunately this is not an easy job. The dashboard must be removed.
Was this
answer
helpful?
Yes
No
+1
Thursday, August 17th, 2017 AT 7:15 PM
Tiny
DONJI55
  • MEMBER
  • 3 POSTS
Thanks for the information. Is it possible to move the door manually?
Was this
answer
helpful?
Yes
No
+2
Thursday, August 17th, 2017 AT 8:16 PM
Tiny
KEN L
  • MASTER CERTIFIED MECHANIC
  • 55,488 POSTS
I think you can get to the blend door actuator from the drivers side looking up to the right on some cop car models. You need to remove the lower panel if there is one.

Work the arm with your hand or remove the actuator and move the pivot to confirm.

Here is a guide that can help:

https://www.2carpros.com/articles/replace-blend-door-motor

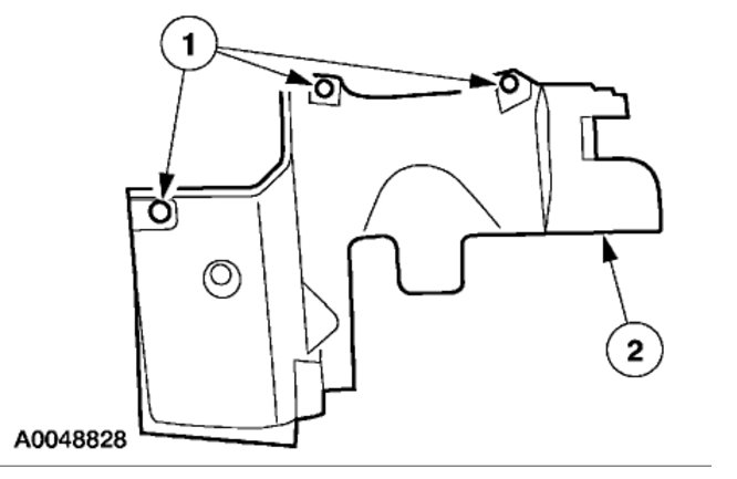
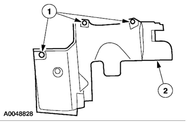
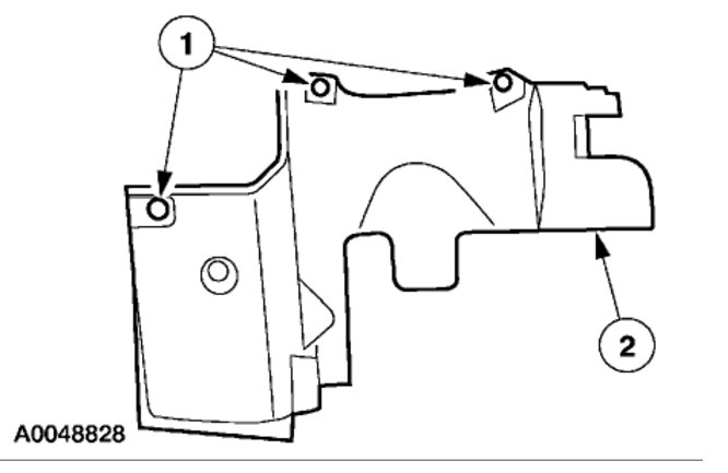
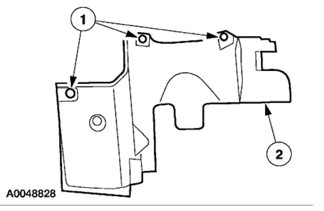
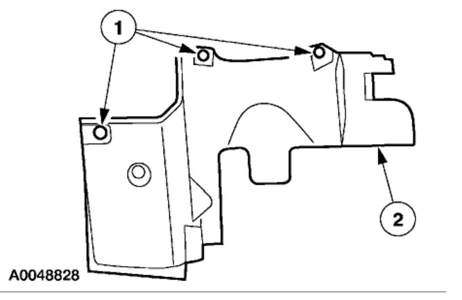
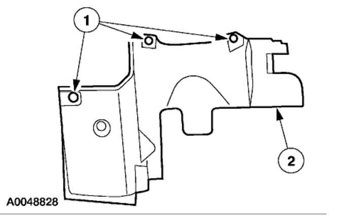
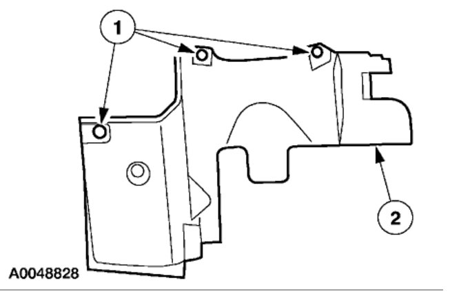
Here is some diagrams of you need to remove the dashboard to change the blend door actuator. (below)

Please let us know what happens.

Cheers, Ken
Was this
answer
helpful?
Yes
No
+1
Friday, August 18th, 2017 AT 2:36 PM
Tiny
DONJI55
  • MEMBER
  • 3 POSTS
Thanks a bunch!
Was this
answer
helpful?
Yes
No
Friday, August 18th, 2017 AT 2:42 PM

Please login or register to post a reply.