New timing chain, misfire on 1-3-5

Tiny
SEBASTIANFROMNJ
  • MEMBER
  • 2009 CADILLAC CTS
  • 3.6L
  • 6 CYL
  • 140,000 MILES
Installed a timing chain kit on the car listed above.
Car starts and has slight misfire 1-3-5 and doesn’t seem to want to idle but if you give it a little gas the idle smooths out. No timing codes or correlation codes
Just 0300, 0301, 0303 and 0305.
Timing marks liner back up after cranking engine a few times. I did stage 1-2 timing when reinstalling to all data specs.
Thursday, July 9th, 2020 AT 2:39 PM

2 Replies

Tiny
ASEMASTER6371
  • MECHANIC
  • 52,796 POSTS
Good afternoon,

I would do a compression test on 1,3 and 5. Just need to be sure there are no bent valves as this is an interference engine.

https://www.2carpros.com/articles/how-to-test-engine-compression

https://www.2carpros.com/articles/engine-misfires-or-runs-rough

Roy
Was this
answer
helpful?
Yes
No
Thursday, July 9th, 2020 AT 4:13 PM
Tiny
KASEKENNY
  • MECHANIC
  • 18,907 POSTS
Clearly a safe assumption but you did the timing chain on the right bank (passenger side)?

What was the reason for replacing the timing chain and were there misfires like this before hand?

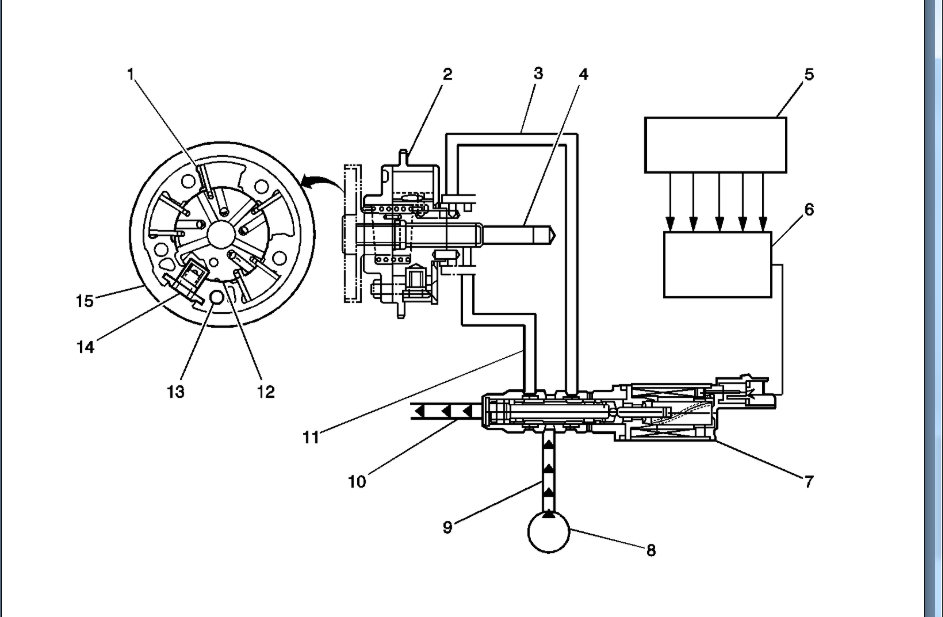
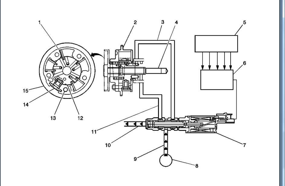
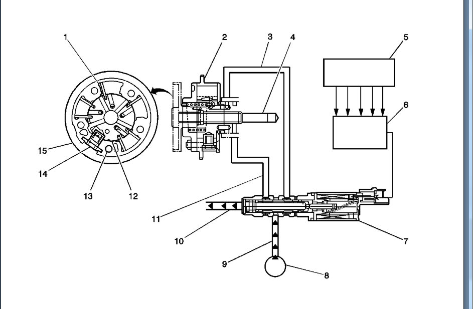
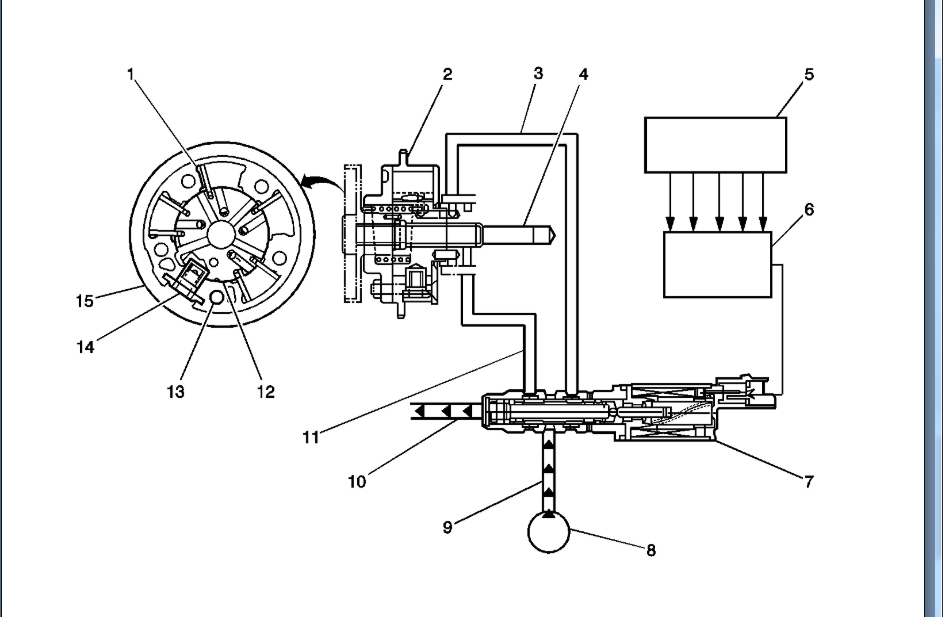
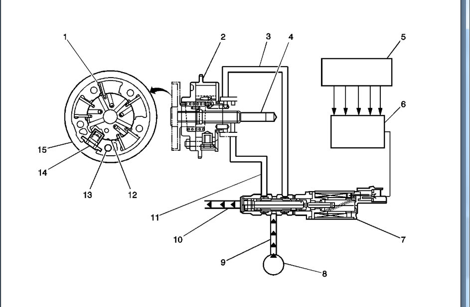
The fact that we have these misfires on all cylinders we need to ensure timing is correct. As you will see from the highlighted portion, just rotating the engine over to see if the marks are aligned is not how we confirm timing.

However, before we reset timing we need to remove the OCV and check the screen for metal. If there is metal it will obstruct the operation. The OCV is the center bolt in the front of the camshaft. Also, we need to make sure the phaser is returning to the lock pin when the engine is off.

If this checks out then we need to do a compression check but we will get to that after this.

Let's start with this information and go from there. Thanks
Was this
answer
helpful?
Yes
No
+2
Thursday, July 9th, 2020 AT 4:25 PM

Please login or register to post a reply.