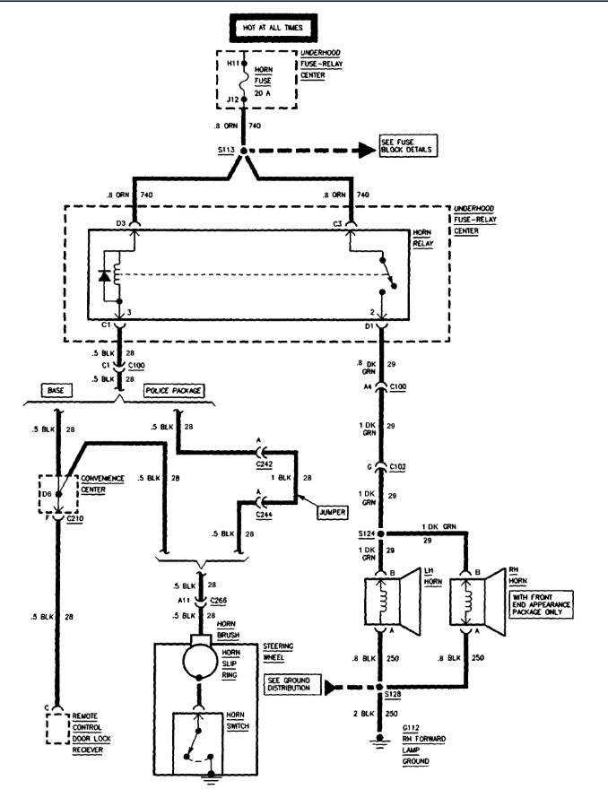
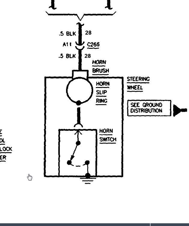
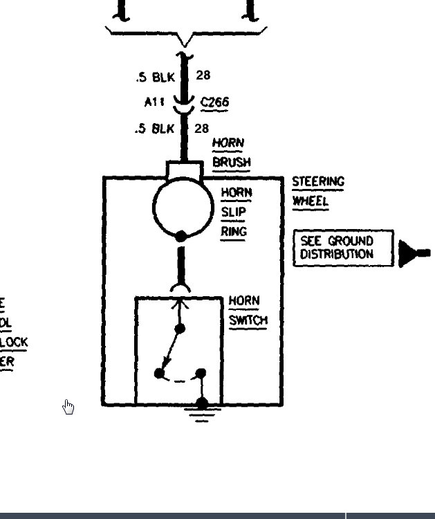
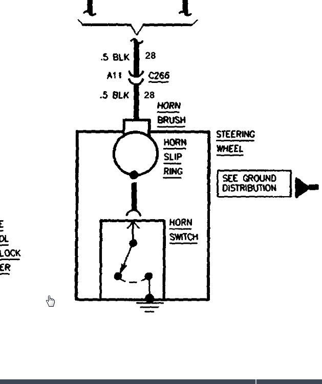
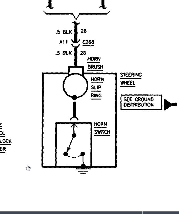
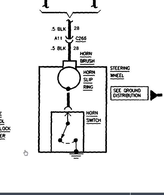
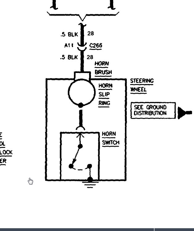
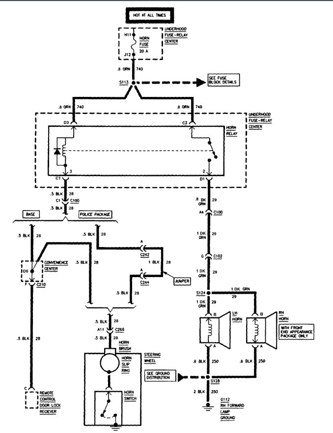
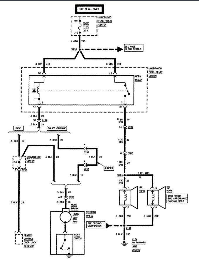
when I use the security alarm remote it gives a weak sound.
I did remove the relay fuse which I believe was a big block. And let it sit a moment while I removed the one next to it which was the same one and switched them out.
once I did that the while pressing the steering wheel horn pad, the horn seemed to stop working then after a while it would start again producing a weak sound a louder sound for a moment then weak again.
any ideas?
Wednesday, March 23rd, 2016 AT 9:38 AM















