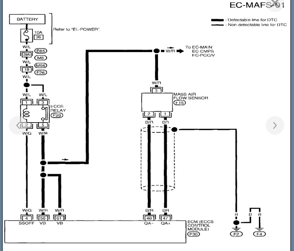
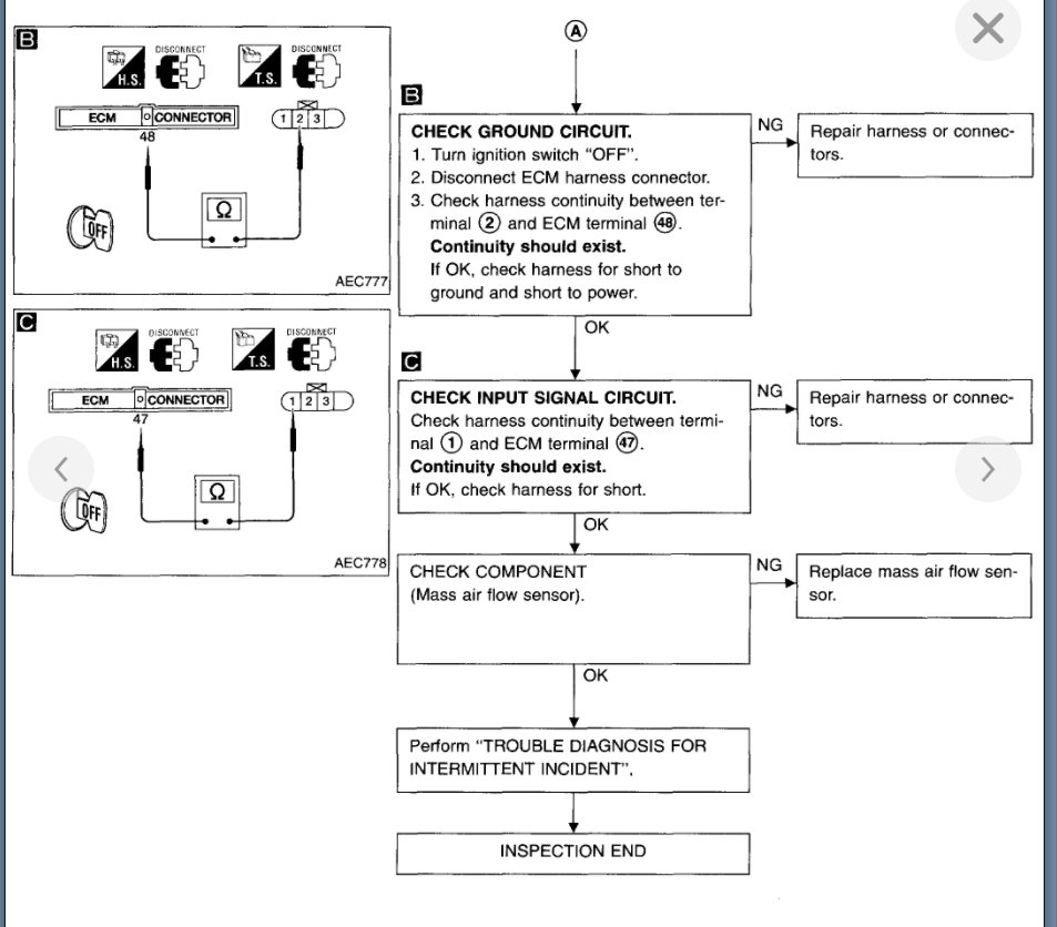
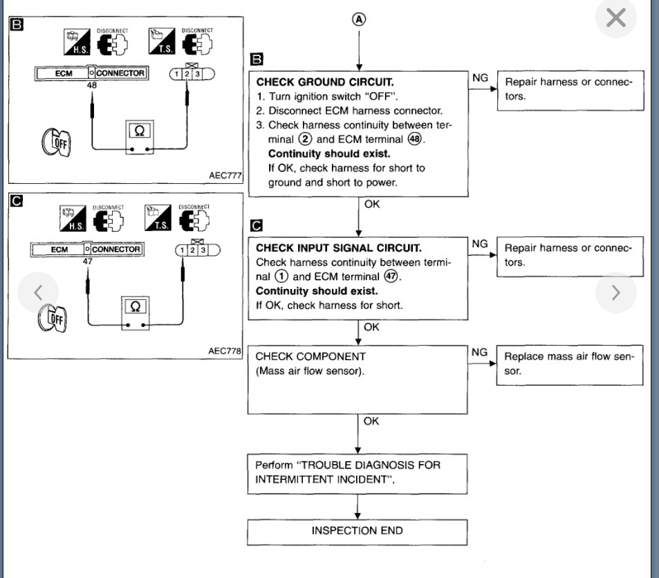
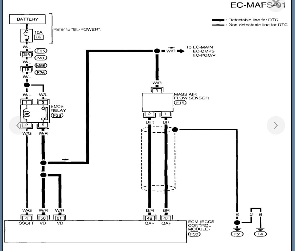
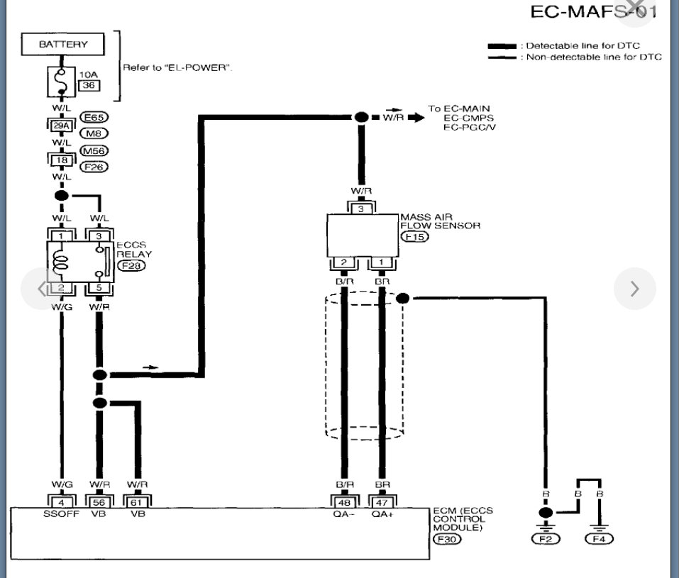
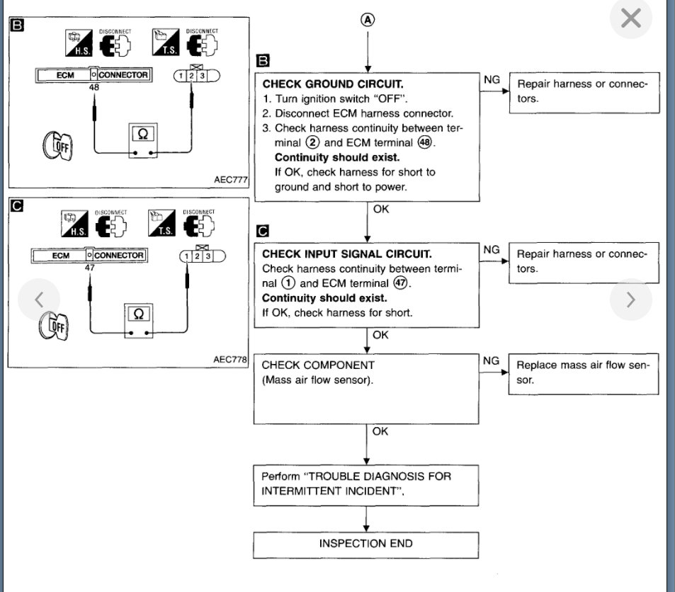
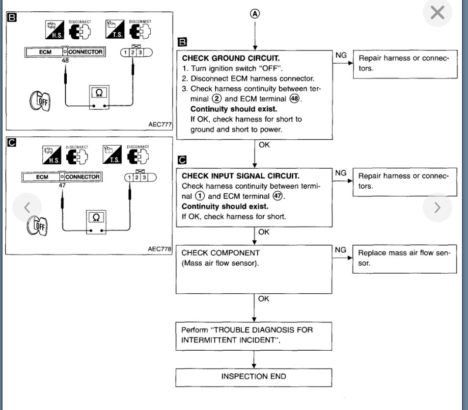
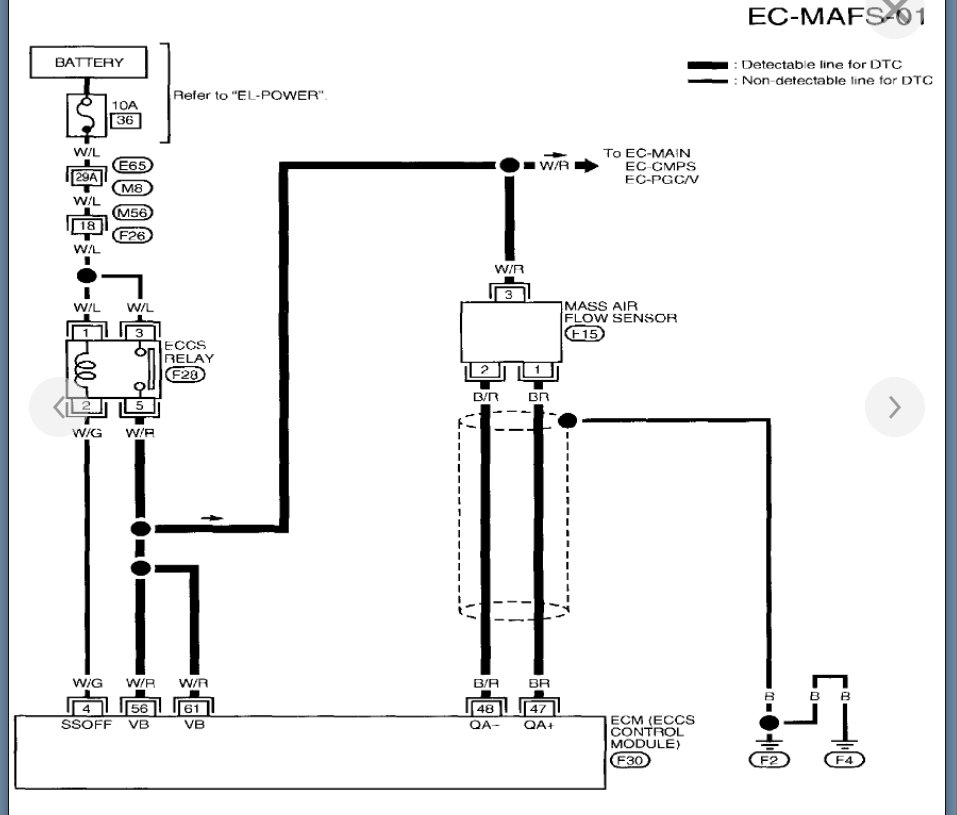
I received these codes however have since changed (brand new) the MAF sensor, distributor cap, spark plugs, and air filter but none of these have fixed the problem being my car wont start up. I had a local mechanic come check it out and he started it up by creating a new bridge with the spark to the distributor I guess. This lasted about a month then it shut off again and wont crank back up. I've also noticed that when I tried to clean the last MAF sensor the spray I sprayed through to clean it kind of started it for 3 seconds then it cut back off. Sort of like it was feeding the fire.
Can someone please help
greatly appreciated
Can someone please help
greatly appreciated
Mar 5, 2014 at 4:01 PM









