Lower control arm replacement

Tiny
RYAN.TIM.J
  • MEMBER
  • 2010 HONDA ACCORD
  • 2.4L
  • 4 CYL
  • 2WD
  • AUTOMATIC
  • 140,000 MILES
Hi, need to replace lower control arms, bushings showing excessive wear. Does anyone have a procedure, mainly concerned about reassembly, and getting all the bolts torqued to the proper values.

I ordered a pair of lowers from Rock Auto.
Wednesday, October 30th, 2019 AT 7:39 PM

5 Replies

Tiny
JACOBANDNICKOLAS
  • MECHANIC
  • 110,194 POSTS
Welcome to 2CarPros.

Here are the directions. The torque specs are included in the attached pics which correlate with the directions.

_______________________

2010 Honda Accord L4-2.4L
Front Lower Arm Removal/Installation
Vehicle Steering and Suspension Suspension Control Arm Service and Repair Removal and Replacement Front Lower Arm Removal/Installation
FRONT LOWER ARM REMOVAL/INSTALLATION
Front Lower Arm Removal/Installation

Special Tools Required

- Ball Joint Thread Protector, 14 mm 07AAE-SJAA100
- Ball Joint Remover, 28 mm 07MAC-SL0A202
- Bushing Driver 070AF-TA0A100
- Bushing Receiver Set 070AF-TA0A220

Removal/Installation

1. Raise and support the vehicle See: Vehicle Lifting > Procedures.

2. Remove the front wheel.

3. Remove the damper pinch bolt (A) and the damper fork mounting nut (B) while holding the mounting bolt (C), then remove the damper fork (D) from the damper and the lower arm.

NOTE:

- During installation, insert the aligning tab (E) on the damper unit into the slot (F) of the damper fork.
- Use the new damper fork mounting bolt and the new mounting nut, and torque the nut while holding the bolt during reassembly.

Pic 1

4. Disconnect the stabilizer link from the lower arm See: Stabilizer Link > Removal and Replacement > Front Stabilizer Link Removal/Installation.

5. Remove the cotter pin (A) from the knuckle ball joint, then remove the castle nut (B).

NOTE: During installation, insert the new cotter pin into the ball joint pin hole from the front to the rear of the vehicle, and bend its end as shown. Check the ball joint pin hole direction before connecting the ball joint.

Pic 2

6. Disconnect the knuckle ball joint from the lower arm using the ball joint thread protector and the ball joint remover See: Ball Joint > Removal and Replacement > Ball Joint Removal.

NOTE:

- Be careful not to damage the ball joint boot when installing the remover.
- Do not force or hammer on the lower arm, or pry between the lower arm and the knuckle. You could damage the ball joint.

7. Remove the lower arm mounting bolts, and remove the lower arm (A).

NOTE: Use new lower arm mounting bolts during reassembly.

Pic 3

8. Install the lower arm in the reverse order of removal, and note these items:

- First install all of the components, and lightly tighten the bolts and the nuts, then raise the suspension to load it with the vehicle's weight before fully tightening it to the specified torque. Do not place the jack against the ball joint pin of the knuckle.
- Be careful not to damage the ball joint boot when connecting the knuckle.
- Before connecting the ball joint, degrease the threaded section and the tapered portion of the ball joint pin, the ball joint connecting hole, and the threaded section and the mating surfaces of the castle nut.
- Torque the castle nut to the lower torque specification, then tighten it only far enough to align the slot with the ball joint pin hole. Do not align the castle nut by loosening it.
- Before installing the wheel, clean the mating surfaces of the brake disc and the inside of the wheel.

9. Check the wheel alignment, and adjust it if necessary See: Alignment > Procedures.

Compliance Bushing Replacement

1. Remove the lower arm.

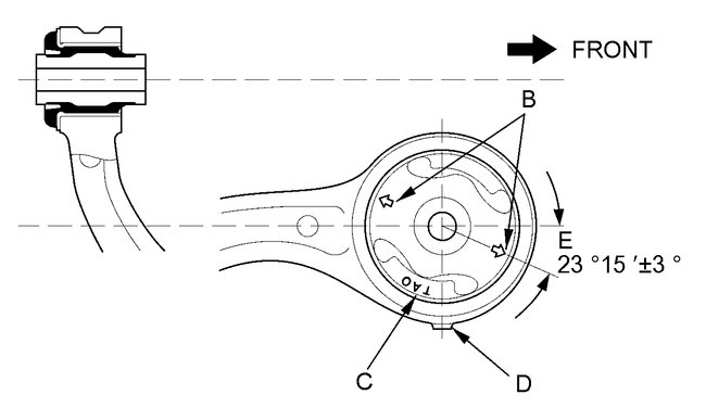
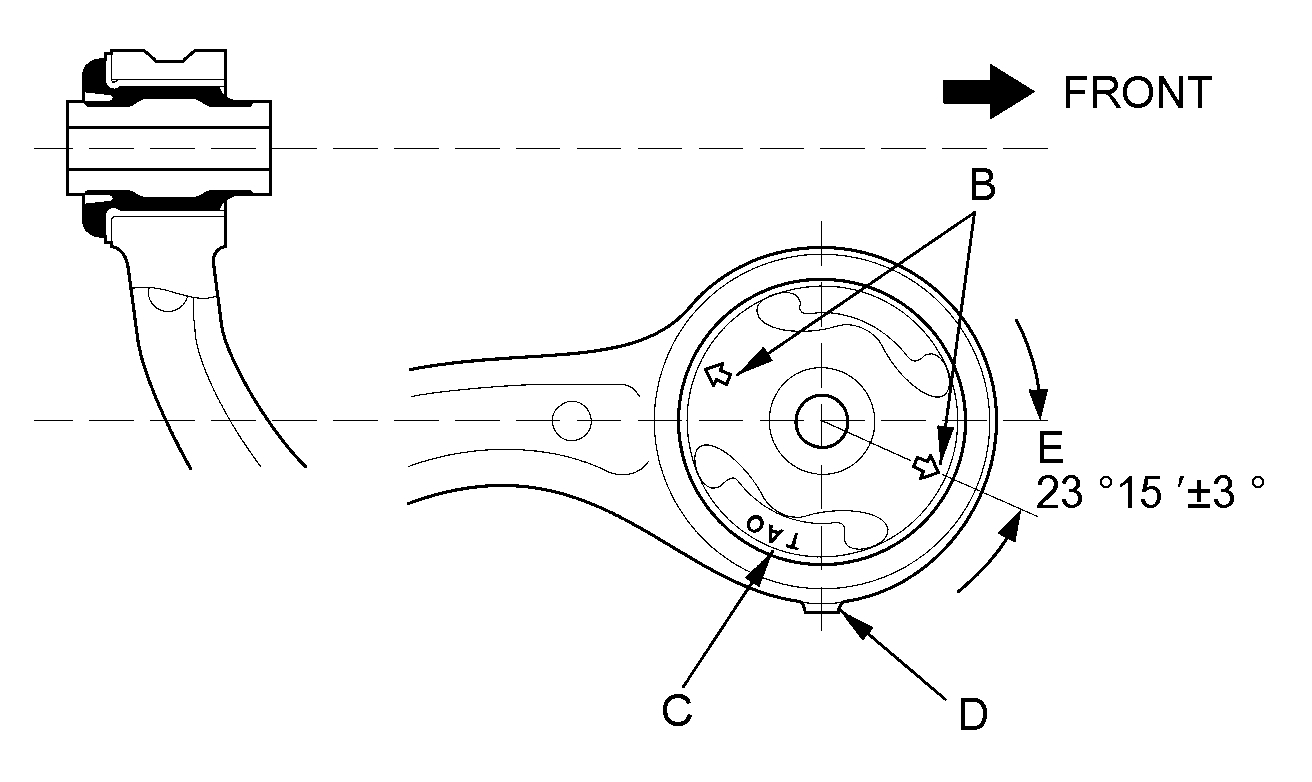
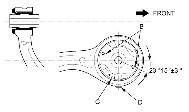
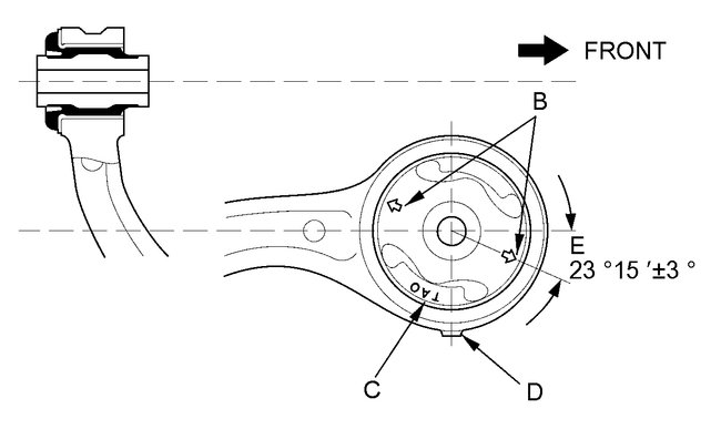
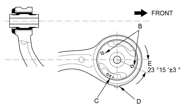
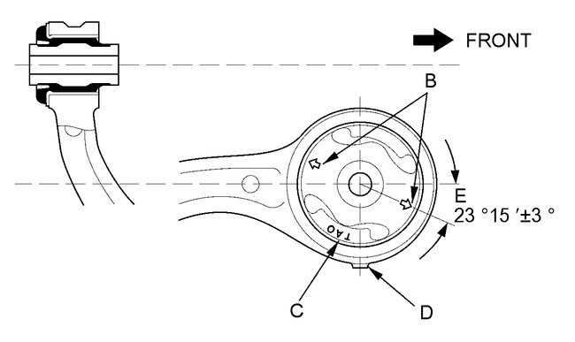
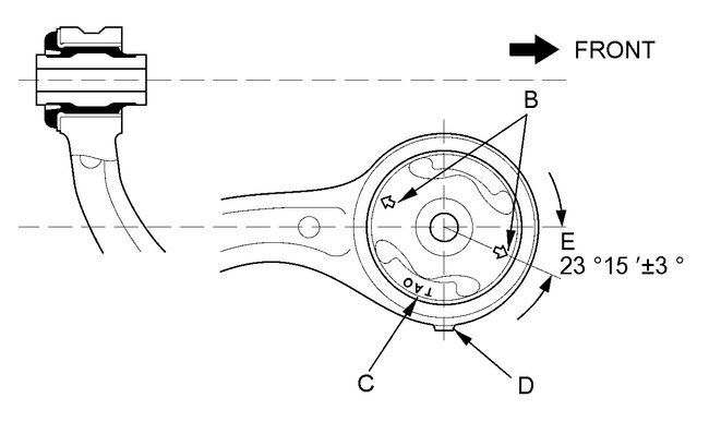
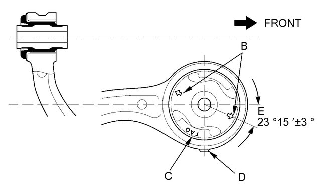
2. Mark alignment marks (A) on the bottom of the lower arm next to the aligning marks (B) on the compliance bushing.

NOTE: The compliance bushing has a specific installation position. Turn the lower arm so that its bottom side is up. Position the bushing identifying mark (C) face up and near the tab (D) on the lower arm. Then align the bushing aligning marks on the bushing and the lower arm.

If the alignment marks are gone, align the angle (E) between the lower arm and the bushing as shown.

Aligning the marking position

pic 4

Aligning the angle (reference)

pic 5

3. Press out the compliance bushing (A) with the bushing driver, the bushing receiver set (attachment A), and a hydraulic press, and remove the bushing from the lower arm (B).

NOTE: Be careful not to damage the inside of the bushing hole on the lower arm.

Pic 6

4. Clean the mating surfaces of the new compliance bushing (A) and the lower arm (B).

Pic 7

5. Make sure of the compliance bushing installation direction, align the bushing aligning marks with the lower arm, then press in the bushing into the lower arm using the bushing driver, the bushing receiver set (attachments A and B), and a hydraulic press.

NOTE:

- Press in the bushing from the bottom side of the lower arm.
- After installation, check the protrusion (C) of the bushing outer sleeve (D) through the lower arm bushing hole (E).

6. Install the lower arm.

___________________

Let me know if this helps or if you have other questions.

Take care,
Joe
Was this
answer
helpful?
Yes
No
Wednesday, October 30th, 2019 AT 8:19 PM
Tiny
RYAN.TIM.J
  • MEMBER
  • 57 POSTS
Perfect, thanks Joe.
Was this
answer
helpful?
Yes
No
Thursday, October 31st, 2019 AT 5:56 AM
Tiny
JACOBANDNICKOLAS
  • MECHANIC
  • 110,194 POSTS
Welcome back:

You are very welcome. Let me know if you run into any problems or need anything. Tomorrow is Friday, so after that, have a good weekend.

Joe
Was this
answer
helpful?
Yes
No
Thursday, October 31st, 2019 AT 7:36 PM
Tiny
RYAN.TIM.J
  • MEMBER
  • 57 POSTS
Replaced to two lowers yesterday. Quite a job, went as planned except could not remove the small connectors to the sway bar. Had to cut the connection to the sway bar and replace those. Other than that, went well, drives great. Thanks for the documentation.
Was this
answer
helpful?
Yes
No
Sunday, November 3rd, 2019 AT 4:52 AM
Tiny
JACOBANDNICKOLAS
  • MECHANIC
  • 110,194 POSTS
Welcome back:

Glad to hear you got it going and you are very welcome for the documentation. Please feel free to come back anytime.

Take care,
Joe
Was this
answer
helpful?
Yes
No
Sunday, November 3rd, 2019 AT 5:14 PM

Please login or register to post a reply.