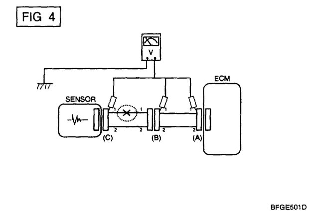
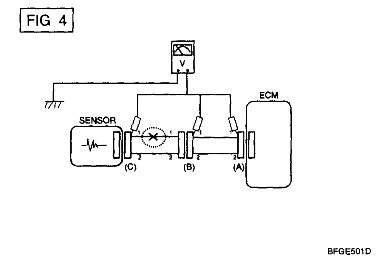
I am not able to clear these codes as these are coming back. When I turn on the ignition the security key light stays on and the radiator cooling fan will start running and the headlights will also turn on, the cluster lights are also randomly turning on here and there.
If I remove the battery for few days and try again then the car may start once but the cluster will act funny. I have checked all the fuses and battery connections, and the connections are clean. I have also checked and cleaned the ground connections for the ECU, BCM harness and ground connections under the dash (no corrosion).
Any advice to solve these problems is highly appreciated.
Thanks
Friday, July 5th, 2019 AT 11:18 PM










































