Locate a part

Tiny
EASTTOSAYTHELEAST01
  • MEMBER
  • 2004 FORD F-150
  • 5.4L
  • V8
  • 2WD
  • AUTOMATIC
  • 250,000 MILES
I need to know where the IAC valve is exactly.
Saturday, May 11th, 2019 AT 6:47 PM

3 Replies

Tiny
EASTTOSAYTHELEAST01
  • MEMBER
  • 2 POSTS
This is a 03/04 Ford f150 5.4 Triton.
Was this
answer
helpful?
Yes
No
-2
Saturday, May 11th, 2019 AT 6:49 PM
Tiny
JACOBANDNICKOLAS
  • MECHANIC
  • 110,176 POSTS
Welcome to 2CarPros.

I'm not sure if you mean an 03 or an 04. I will provide info on both. First is related to the 04.

The IAC is part of the throttle body assembly. I attached the only pic I could find that may help you. The IAC valve assembly is not adjustable and can not be cleaned.

I don't know if you need them or not, but here is an extensive diagnostic flow chart regarding pinpoint testing of the IAC. All attached pics correlate with these directions.

____________________________________________

KE: Idle Air Control (IAC) Valve

KE: Introduction See: Computers and Control Systems > Pinpoint Tests > KE: Idle Air Control (IAC) Valve - Introduction

KE1 IDLE CONCERNS OR STALLS: RUN THE KOER SELF-TEST AND OUTPUT THE CMDTCS

Note:The Symptom Charts indicate there was no change in idle quality when the IAC valve was disconnected.

- CHECK the air inlet for plugging or a stuck IAC pintle.
- Repair as necessary.
- Retrieve all continuous memory DTCs.

- Carry out the KOER self-test.

- If unable to carry out the KOER self-test, go to the next diagnostic step.
Are any of the following DTCs present: P0505, P0511 or P0506?
Yes

- Key in OFF position.

- GO to KE2
.

No

- The IAC system is OK. Return to Section 3, Symptom Charts. See: Computers and Control Systems > Symptom Related Diagnostic Procedures

KE2 DTCS P0505, P0506, P0511, P1504 OR P1507: (OR STARTS ONLY AT PART THROTTLE) CHECK THE VPWR VOLTAGE TO THE IAC VALVE

Note:If EGR DTC P0402 was output during the self-test, diagnose it first before continuing with this pinpoint test.

- IAC Actuator connector disconnected.

- Key in ON position.

- Measure the voltage between:

picture 1

Is the voltage greater than 10.5 V?
Yes

- Key in OFF position.

- GO to KE3
.

No

- Key in OFF position. REPAIR the open circuit.

KE3 CHECK THE RESISTANCE OF IAC VALVE

- IAC Actuator connector disconnected.

- Measure the resistance between:

picture 2

Is the resistance between 6 ohms - 15 ohms?
Yes

- GO to KE4
.

No

- INSTALL a new IAC Valve.

KE4 CHECK THE IAC VALVE FOR AN INTERNAL SHORT TO THE IAC CASE

- Measure the resistance between:

picture 3

Is the resistance greater than 10K ohms?
Yes

- GO to KE5
.

No

- INSTALL a new IAC actuator.

KE5 CHECK THE AIR INLET FOR PLUGGING OR A STUCK IAC PINTLE

- INSPECT the entire intake air system for debris, blockage or other damage.

- Remove and inspect the IAC valve and check the pintle movement. Check the air tubes (if equipped) for blockage or damage.

- Remove and inspect the air cleaner element for excessive dirt.
Is the IAC valve and intake air system OK?
Yes

- Restore the inlet air system.

- GO to KE6
.

No

- INSTALL a new IAC valve, or REPAIR the air inlet as necessary.

KE6 CHECK FOR INLET AIR LEAKS

- Key on engine running.

- With the engine running at idle, listen for vacuum leaks.

- INSPECT the entire air intake system from the mass air flow (MAF) sensor to the intake manifold for leaks such as:

- Damaged or loose IAC air tubes.

- Cracked or punctured intake air tube.

- Loose intake air tube at the air cleaner housing or throttle body.

- IAC valve or gasket seal.

- EGR valve gasket seal.

- Vacuum supply connector and hose.

- PCV valve, connectors and hoses.
Are any leaks detected in the above areas?
Yes

- Key in OFF position.

- Repair as necessary.

No

- Key in OFF position.

- GO to KE7
.

KE7 CHECK THE IAC CIRCUIT FOR AN OPEN IN THE HARNESS

Note:REFER to the PCM connector pin numbers in the beginning of this pinpoint test.

- IAC Actuator connector disconnected.

- PCM connector disconnected.

- Measure the resistance between:

picture 4

Is the resistance less than 5 ohms?
Yes

- GO to KE8
.

No

- REPAIR the open circuit.

KE8 CHECK THE IAC CIRCUIT FOR A SHORT TO POWER IN THE HARNESS

- Key in ON position.

- Measure the voltage between:

picture 5

Is the voltage less than 1 V?
Yes

- Key in OFF position.

- GO to KE9
.

No

- Key in OFF position. REPAIR the short circuit.

KE9 CHECK THE IAC CIRCUIT FOR A SHORT TO GROUND IN THE HARNESS

- Diagnostic tool connector disconnected.

- Measure the resistance between:

picture 6

Is the resistance greater than 10K ohms?
Yes

- GO to KE10
.

No

- REPAIR the short circuit.

KE10 VERIFY THE DTC

Is DTC P0511 or P1504 present in continuous memory or from the KOER self-test?
Yes

- INSTALL a new PCM.

No

- GO to KE11
.

KE11 CHECK THE IAC SIGNAL FROM THE PCM

- PCM connector connected.

- IAC Actuator connector connected.
Note:If stalling occurs, place a shim under the hard stop screw to maintain idle conditions.

- Key on engine running.

- Access the PCM and monitor the RPM PID.

- Access the PCM and monitor the IAC PID.

- With the engine at normal operating temperature, closed throttle and all accessories off, the IAC duty cycle should be between approximately 22% and 65%.

- Slowly increase the engine speed to 3,000 RPM and return to closed throttle. (Note: If closed throttle RPM is significantly higher than normal, ignore this step).
Is the duty cycle between 22% - 65%?
Yes

- GO to KE12
.

No

- Key in OFF position. INSTALL a new IAC actuator.

KE12 VERIFY THE DTC

Is DTC P0506, P0511, P1504 or P1507 present in continuous memory or from the self-test?
Yes

- GO to KE18
.

No

- Key in OFF position.

- INSPECT the throttle body for damage. REPAIR as necessary. If OK, INSTALL a new IAC actuator.

- RESET the keep alive memory (KAM). REFER to Section 2, Resetting The Keep Alive Memory (KAM) See: Computers and Control Systems > Diagnostic Trouble Code Tests and Associated Procedures > Resetting The Keep Alive Memory (KAM).

KE13 DTCS P0507 OR P1506: CHECK FOR INLET AIR LEAKS

- Key on engine running.

- With the engine running at idle, listen for vacuum leaks.

- INSPECT the entire air intake system from the mass air flow (MAF) sensor to the intake manifold for leaks such as:

- Damaged or loose IAC air tubes.

- Cracked or punctured intake air tube.

- Loose intake air tube at the air cleaner housing or throttle body.

- IAC valve or gasket seal.

- EGR valve gasket seal.

- Vacuum supply connector and hose.

- PCV valve, connectors and hoses.
Are any leaks detected in the above areas?
Yes

- Key in OFF position.

- Repair as necessary.

No

- Key in OFF position.

- GO to KE14
.

KE14 CHECK THE EVAP SYSTEM FOR A STUCK OPEN VALVE

- Disconnect the hoses at the EVAP canister purge valve or the VMV.

- Connect a hand vacuum pump at the fuel vapor-to-EVAP canister port on the EVAP canister purge valve (VMV).

Picture 7

- Apply 53 kPa (16 in-Hg) of vacuum to the EVAP canister purge valve (VMV).
Does the EVAP canister purge valve (VMV) hold a vacuum for at least 20 seconds?
Yes

- Reconnect all hoses.

- GO to KE15
.

No

- INSTALL a new EVAPCP valve.

KE15 CHECK THE IAC VALVE FOR CORRECT FUNCTION

- Key on engine running.

- Bring the engine to normal operating temperature.

- Transmission in PARK or NEUTRAL.

- Disconnect the IAC Valve.
Does the RPM drop or the engine stall?
Yes

- Key in OFF position.

- GO to KE16
.

No

- Key in OFF position.

- INSPECT the throttle body for damage. REPAIR as necessary. If OK, INSTALL a new IAC actuator.

- RESET the keep alive memory (KAM). REFER to Section 2, Resetting The Keep Alive Memory (KAM) See: Computers and Control Systems > Diagnostic Trouble Code Tests and Associated Procedures > Resetting The Keep Alive Memory (KAM).

KE16 CHECK THE IAC CIRCUIT FOR A SHORT TO GROUND IN THE HARNESS

Note:REFER to the PCM connector pin numbers in the beginning of this pinpoint test.

- Diagnostic tool connector disconnected.

- PCM connector disconnected.

- Measure the resistance between:

picture 8

Is the resistance greater than 10K ohms?
Yes

- GO to KE17
.

No

- REPAIR the short circuit to GND.

KE17 VERIFY THE SYMPTOM

Is a fast idle symptom currently present?
Yes

- INSTALL a new PCM.

No

- GO to KE18
.

KE18 CHECK THE IAC SYSTEM FOR AN INTERMITTENT OPEN OR SHORT

- PCM connector connected.

- Key on engine running.

- Access the PCM and monitor the IAC and RPM PIDs.

- With the engine at normal operating temperature, closed throttle and all accessories off, the IAC duty cycle should be between approximately 22% and 65%.

- Observe the PIDs while completing the following at idle:
- Lightly tap on the and wiggle the harness connector to simulate road shock.
- Grasp the vehicle harness closest to the IAC valve. Shake and bend a small section of the harness from the IAC to the dash panel and from the dash panel to the PCM.
Do the IAC or RPM PIDs suddenly change in value, indicating a fault?
Yes

- Key in OFF position.

- ISOLATE the fault and REPAIR as necessary.

No

- Key in OFF position.

- GO to KE19
.

KE19 VERIFY THE SYMPTOM

Is an idle quality, starting or stalling symptom currently present?
Yes

- INSTALL a new IAC actuator.

No

- Concern is elsewhere. RETURN to Section 3, Symptom Charts for further direction. See: Computers and Control Systems > Symptom Related Diagnostic Procedures

______________________________________________

Next, I will review the 2003.

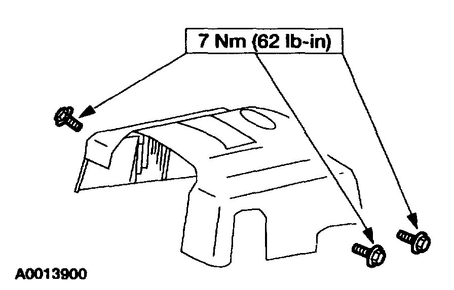
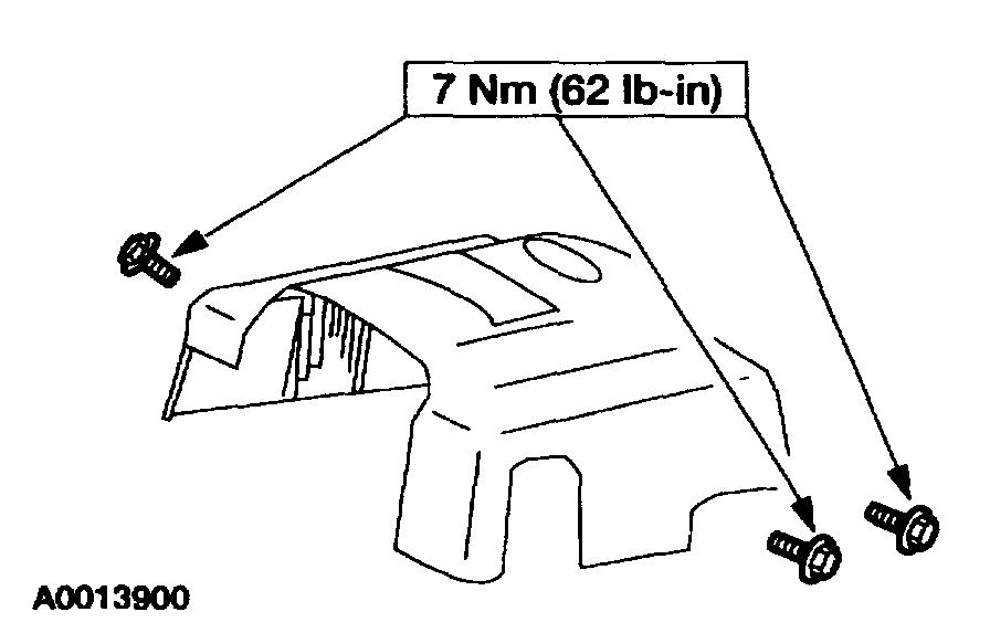
Again, the IAC is located on the throttle body. Here are directions for removal and replacement. The location is indicated in the directions. The remaining 4 pics correlate with these directions.

____________________________________________

PROCEDURES
REMOVAL
1. Disconnect the battery ground cable.

Picture 10

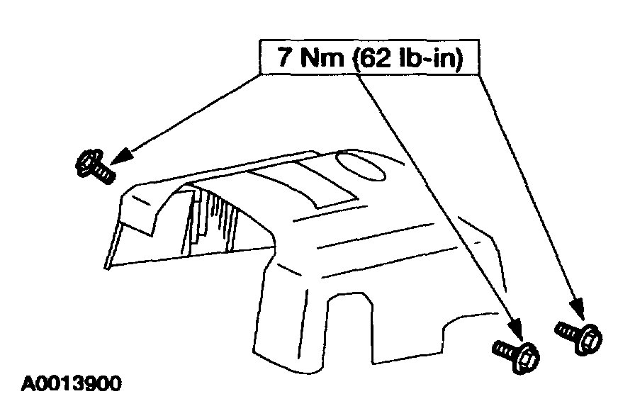
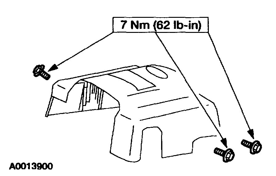
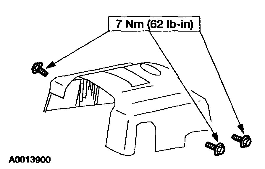
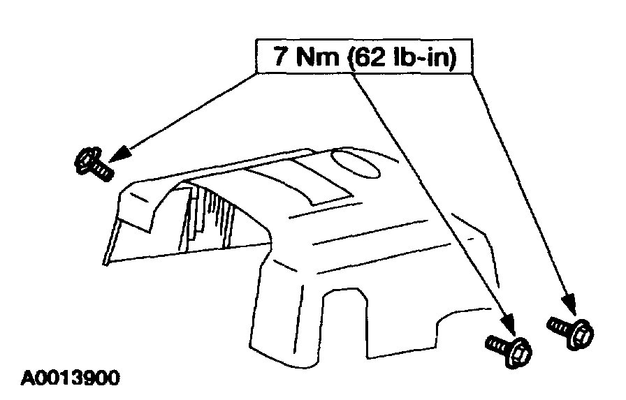
2. Remove the bolts and the accelerator control splash shield.

Picture 11

3. Remove the Idle Air Control (IAC) valve electrical connector.

Picture 12

4. Disconnect the throttle bypass hose.

Picture 13

5. Remove the bolts and the IAC valve.

INSTALLATION
1. To install, reverse the removal procedure.

___________________________________________

Let me know if this helps. Also, if you let me know the symptoms and if there are any codes, I may be of more help.

Take care,
Joe
Was this
answer
helpful?
Yes
No
Saturday, May 11th, 2019 AT 7:22 PM
Tiny
DANNY L
  • MECHANIC
  • 5,648 POSTS
Hello, I'm Danny.

I'm not showing an IAC valve on that motor however, it does show An Electronic Throttle Control Motor. I've attached a picture below and circled in red. Hope this helps and thanks for using 2CarPros.
Danny-
Was this
answer
helpful?
Yes
No
+1
Saturday, May 11th, 2019 AT 7:28 PM

Please login or register to post a reply.