Intake and exhaust manifold

Tiny
ALILION12
  • MEMBER
  • 2008 SUZUKI ALTO
  • 1.0L
  • 4 CYL
  • FWD
  • MANUAL
  • 1,200,000 MILES
Hi, I want to know that do all car engines have intake and exhaust manifold and where the intake manifold is mounted and exhaust manifold is mounted in the engine bay? Waiting for reply thanks indeed.
Saturday, December 31st, 2016 AT 11:33 AM

4 Replies

Tiny
CARADIODOC
  • MECHANIC
  • 34,489 POSTS
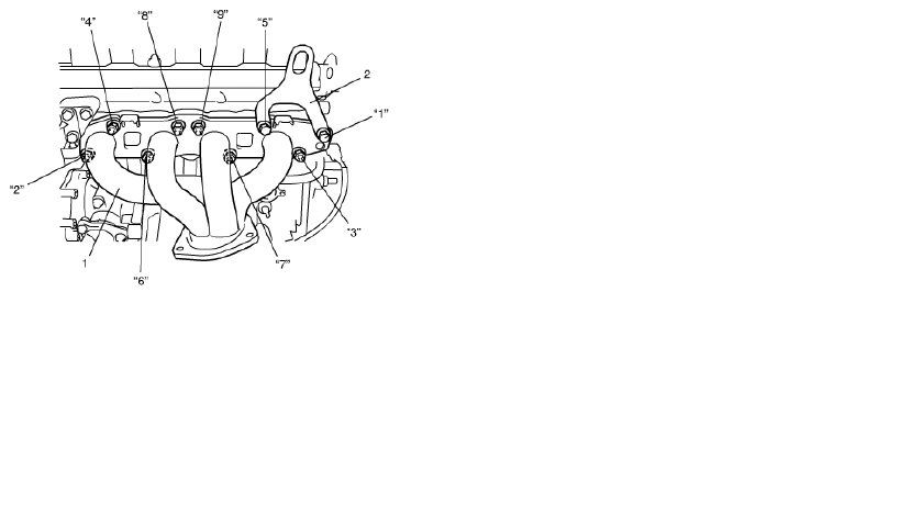
That is not a common question, and I do not have information for your car model. I did find a drawing for a different Suzuki model with a 2.0L engine. This shows the exhaust manifold. It is simply a cast iron part that channels all the exhaust gas from all the cylinders into the exhaust pipe that runs under the vehicle.

For most three and four-cylinder engines, the intake manifold is on the other side of the engine. It is commonly made of aluminum, but in some cheaper engines it is made of plastic. The incoming fresh air comes into this manifold, then it splits and goes into the individual cylinders.

On V-6 and V-8 engines, the intake manifold sits on top, in the middle of the engine. Those engines have two exhaust manifolds, one on each side, that are usually connected together with a pipe.
Was this
answer
helpful?
Yes
No
+1
Saturday, December 31st, 2016 AT 11:58 AM
Tiny
STEVE W.
  • MECHANIC
  • 15,694 POSTS
That should be a Suzuki F10D engine I believe. If it looks like the picture the green circles the intake side. The actual manifold is buried in there. The purple is the exhaust manifold heat shield with the manifold under it.
Was this
answer
helpful?
Yes
No
Saturday, December 31st, 2016 AT 7:34 PM
Tiny
CARADIODOC
  • MECHANIC
  • 34,489 POSTS
Good answer! Good answer! Thank you.
Was this
answer
helpful?
Yes
No
Sunday, January 1st, 2017 AT 9:44 PM
Tiny
RENEE L
  • ADMIN
  • 1,260 POSTS
Nice work team!
Was this
answer
helpful?
Yes
No
Tuesday, January 3rd, 2017 AT 7:21 PM

Please login or register to post a reply.