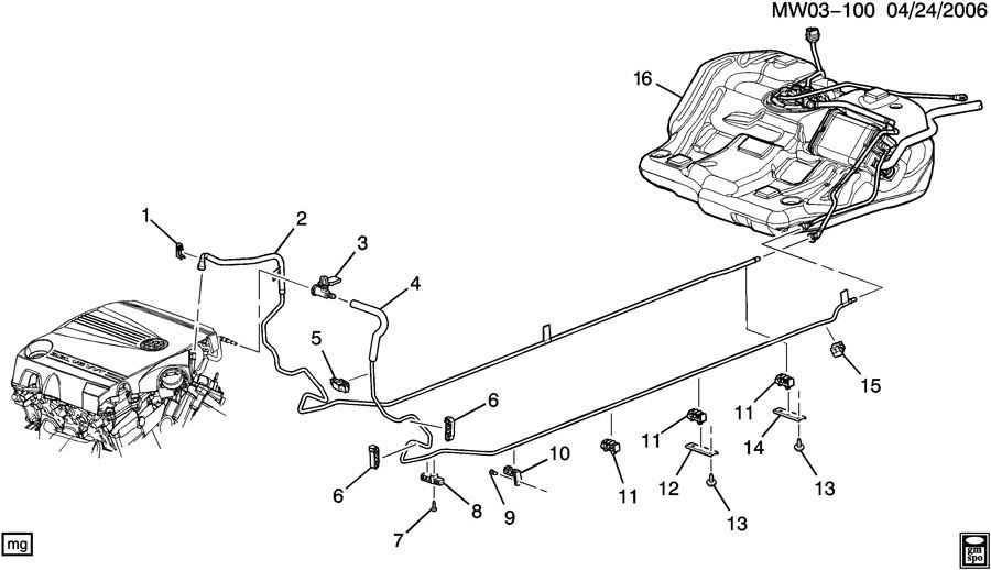
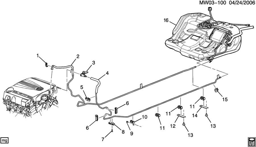
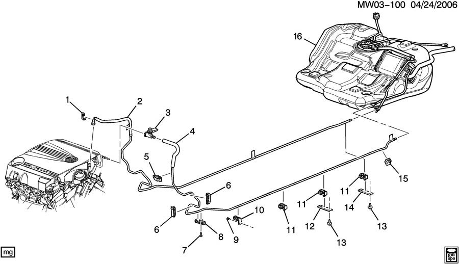
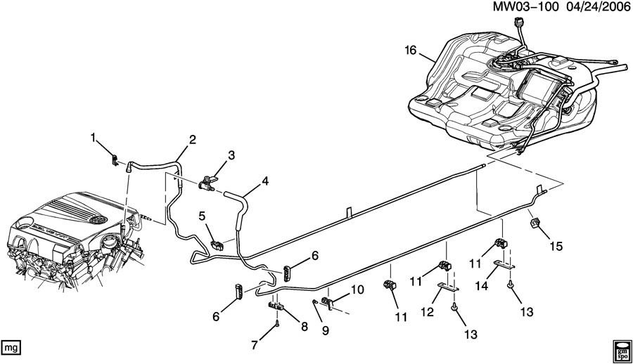
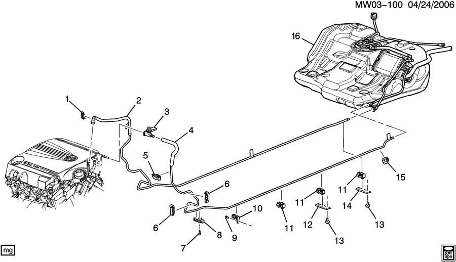
Fuel feed pipe and emissions pipe needed

Tiny
FRANK VIRELLI
  • MEMBER
  • 2006 BUICK LA CROSSE
  • 3.6L
  • V6
  • 2WD
  • AUTOMATIC
  • 140,000 MILES
My problem with the vehicle listed above is as follows: I need a fuel feed pipe (GM #15923815) and an emissions pipe (GM
#15834004). I was told that they are not available and GM no longer makes them.
Do not know what to do. Really do not want to junk my well maintained, otherwise good running auto. Maybe you have a solution?
Sunday, June 17th, 2018 AT 12:45 PM

4 Replies

Tiny
ASEMASTER6371
  • MECHANIC
  • 52,796 POSTS
Good afternoon.

What emission pipe?

Do you mean the filler tube for adding fuel?

Can you post a picture?

Roy
Was this
answer
helpful?
Yes
No
+1
Sunday, June 17th, 2018 AT 1:21 PM
Tiny
FRANK VIRELLI
  • MEMBER
  • 3 POSTS
I need a fuel feed pipe and an emissions pipe. Reproducing the metal tube is not necessarily the issue. What I cannot find is/are the plastic tubing that connects to the tube and connects to the gas tank.
Was this
answer
helpful?
Yes
No
Sunday, June 17th, 2018 AT 7:10 PM
Tiny
FRANK VIRELLI
  • MEMBER
  • 3 POSTS
Please see above message.
Was this
answer
helpful?
Yes
No
Sunday, June 17th, 2018 AT 7:17 PM
Tiny
STEVE W.
  • MECHANIC
  • 15,697 POSTS
Roy - items 2 and 4.

Those are simple to make out of the proper tubing and connectors. Most decent independent shops can make them or you can buy the correct connectors and tubing and form them yourself. If it is a small part of the line you can repair just that section.
Was this
answer
helpful?
Yes
No
Sunday, June 17th, 2018 AT 8:06 PM

Please login or register to post a reply.