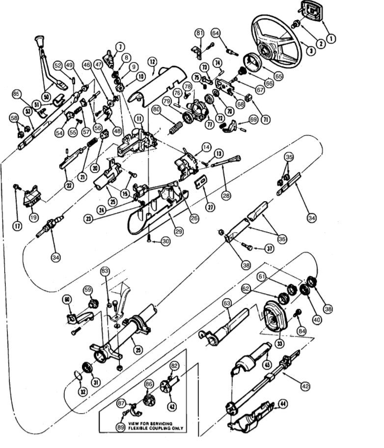
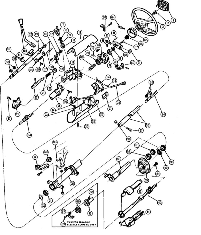
Ignition lock cylinder

Tiny
PHILLIP SHEPEARD
  • MEMBER
  • 1989 FORD CROWN VICTORIA
  • 142,000 MILES
Need to replace Ignition module and lock cylinder.
Monday, September 11th, 2017 AT 6:03 PM

1 Reply

Tiny
KEN L
  • MASTER CERTIFIED MECHANIC
  • 55,297 POSTS
You will need to remove the steering wheel to start. Here is a guide to help with that:

https://www.2carpros.com/articles/steering-wheel-removal

Yours will need a puller.

Here are some diagrams on how to replace the ignition key and tumbler (below).

Please let us know if you need anything else to get the problem fixed.

Cheers, Ken
Was this
answer
helpful?
Yes
No
+1
Tuesday, September 12th, 2017 AT 12:43 PM

Please login or register to post a reply.