Friday, February 24th, 2023 AT 4:59 PM
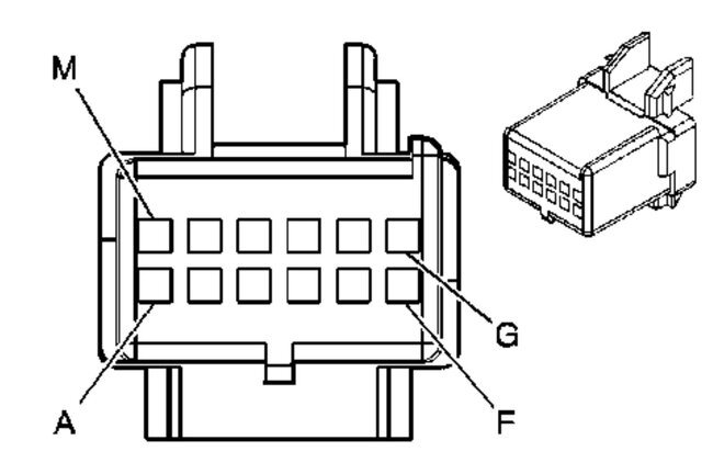
Looking for a pin out diagram of the A/C module. Wanting to diagnose an issue with it working. Can't find any pin out of the light blue plug and the black plug. Maybe some board schematic as well.







