Gear shift stuck

Tiny
REDHEAD0812
  • MEMBER
  • 2000 HONDA ACCORD
  • 4 CYL
  • FWD
  • AUTOMATIC
  • 120,000 MILES
I have a 2000 Honda Accord and the gear shift is stuck in park. When I turn the car on and press the brake in order to shift into drive, the grear shift doesn't move. It's like the button is stuck or something.
Saturday, March 20th, 2010 AT 5:39 PM

50 Replies

Tiny
KEN L
  • MASTER CERTIFIED MECHANIC
  • 55,488 POSTS
Hello,

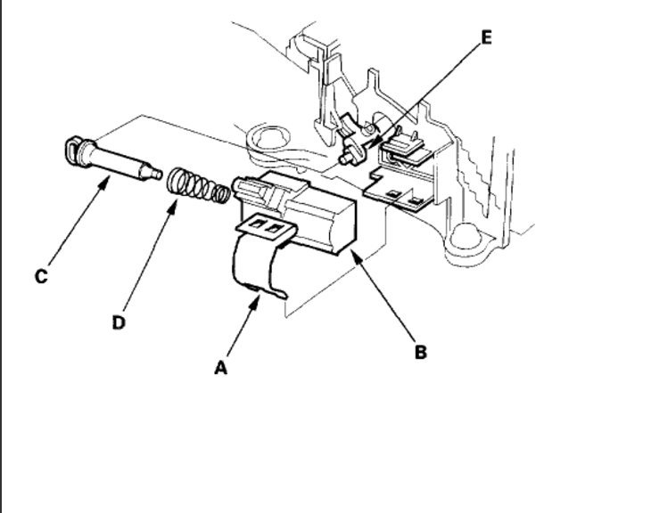
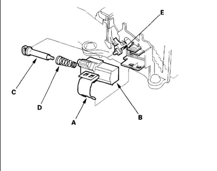
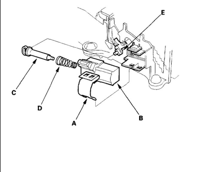
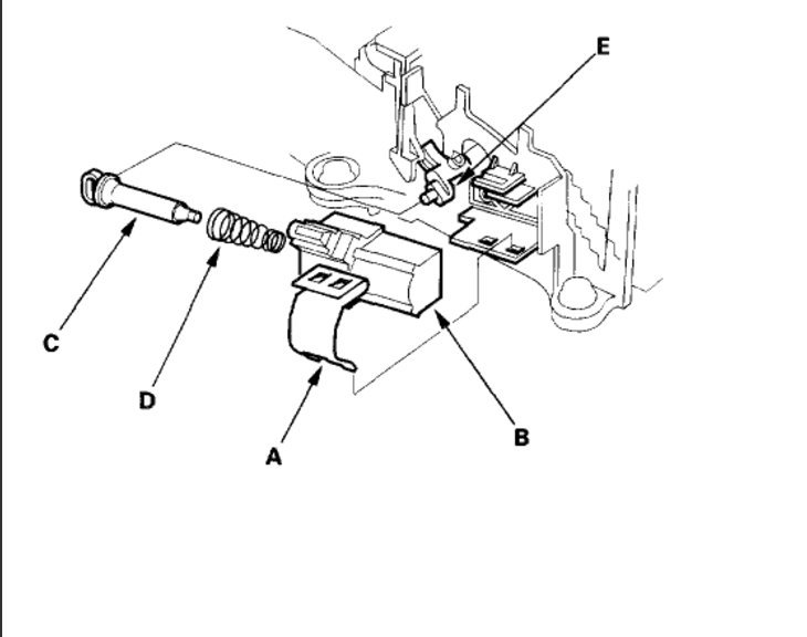
It sounds like you have a shift interlock solenoid that is getting weak or not working.

Here are some diagrams to help you get the problem fixed.

Test the electrical circuit with the key on

https://www.2carpros.com/articles/how-to-use-a-test-light-circuit-tester

Please let us know what happens.

Cheers, Ken
Was this
answer
helpful?
Yes
No
+1
Wednesday, July 12th, 2017 AT 8:01 PM
Tiny
TAMICKA BRICE
  • MEMBER
  • 1 POST
  • 2000 HONDA ACCORD
  • 4 CYL
  • 2WD
  • AUTOMATIC
  • 155,888 MILES
Transmission problem
2000 Honda Accord 4 cyl Two Wheel Drive Automatic 155888 miles

my gear shift got stuck a couples of times and it took a couples of tries to get it in gear now when I stop and try to go my car takes a good min to shift int the right gear the D light is also flashing while am driving
Was this
answer
helpful?
Yes
No
Wednesday, July 12th, 2017 AT 8:02 PM (Merged)
Tiny
JEREMIAH
  • MECHANIC
  • 217 POSTS
You could have a problem with the shift cable but the flashing d light is an indicator of trouble codes in your transmission so I would advise you to get your transmission control module scanned to determine your problem
Was this
answer
helpful?
Yes
No
+1
Wednesday, July 12th, 2017 AT 8:02 PM (Merged)
Tiny
ZCUI
  • MEMBER
  • 3 POSTS
  • 1997 HONDA ACCORD
  • 4 CYL
  • FWD
  • AUTOMATIC
  • 150,000 MILES
Electrical problem
1997 Honda Accord 4 cyl Front Wheel Drive Automatic 150000 miles

My car is 97 Honda Accord LX. The odometer stopped work about three weeks ago, and the red Check Engine light is ON. Last Friday I think I saw a kind of smoke over the front hood when I turned off the car at a gas staion, although I was not quite sure. After filled the tank, I started the car and found all meters had no signal, and the Check Engine light was OFF. I drove the car home and parked it in the garage. The next day, I further found the gear shift was stuck in the Parking and not able to switch to R or D.

Now, to change the gear shift from P to R or D, I have to insert a key into the Shift Release hole after the car started. The car seems running fine on the road. However, there is no any signal from Temperature Gauge, Tachometer, Speedometer, Trip Meter, Fuel Gauge, and Power Window, Clock, and Reverse Light when I shift to R stopped work as well. AC, turn signal lights, stop lights, head lights, high lights, Radio, and Cigarate lighter still work fine. I checked the fuse, all of them are not burnt out.

Another thing, a few years ago, the Odometer stopped running for several weeks, and then kept working till recently.

What can cause the problem? What should I check?

Thanks
Scott
Was this
answer
helpful?
Yes
No
+1
Wednesday, July 12th, 2017 AT 8:02 PM (Merged)
Tiny
KHLOW2008
  • MECHANIC
  • 41,814 POSTS
Hi zcui,

I would suggest checking the ignition and underdash fuse box connectors.

Seems you have a power interruption somewhere.

As to the speeedometer not working, it could be due to a faulty Vehicle Speed Sensor.
Was this
answer
helpful?
Yes
No
+1
Wednesday, July 12th, 2017 AT 8:02 PM (Merged)
Tiny
ZCUI
  • MEMBER
  • 3 POSTS
I found the Meter Fuse under the dash board was burnt out. However, the new fuse was burnt out immediately when starting the car. There must be a short somewhere.

Is it possible caused by the bad VSS?

Thanks
Was this
answer
helpful?
Yes
No
Wednesday, July 12th, 2017 AT 8:02 PM (Merged)
Tiny
KHLOW2008
  • MECHANIC
  • 41,814 POSTS
The VSS is not likely to be the cause ut posible.

The fuse is for :
1. Gauge Assembly.
2. Back-up lights.
3. Clock.
4. VSS.
5. Shift Lock Solenoid
6. Keyless Door lock/security control unit.

Any of the above can cause the problem if the component is faulty.
Was this
answer
helpful?
Yes
No
+2
Wednesday, July 12th, 2017 AT 8:02 PM (Merged)
Tiny
ZCUI
  • MEMBER
  • 3 POSTS
A mechanics did the repair. I was told it was the VSS with burning wires and it had a short circuit.
Was this
answer
helpful?
Yes
No
+1
Wednesday, July 12th, 2017 AT 8:02 PM (Merged)
Tiny
BROBERTSON
  • MEMBER
  • 1 POST
  • 2002 HONDA ACCORD
  • 4 CYL
  • FWD
  • AUTOMATIC
  • 87,000 MILES
Transmission problem
2002 Honda Accord 4 cyl Front Wheel Drive Automatic 87000 miles

Hello,

I own a 2002 Honda Accord. The gear shift is stuck in park. How should I fix the problem.
Was this
answer
helpful?
Yes
No
+1
Wednesday, July 12th, 2017 AT 8:02 PM (Merged)
Tiny
KHLOW2008
  • MECHANIC
  • 41,814 POSTS
Hi brobertson,

Check if the brake lights are coming on with brakes depressed.

When the interlock malfunctions, the most likely fault is a bad brake switch or blown fuse.
Was this
answer
helpful?
Yes
No
-1
Wednesday, July 12th, 2017 AT 8:02 PM (Merged)
Tiny
GRANDMAMJ
  • MEMBER
  • 1 POST
  • 1995 HONDA ACCORD
  • 6 CYL
  • 2WD
  • AUTOMATIC
  • 90,000 MILES
Steering problem
1995 Honda Accord 6 cyl Two Wheel Drive Automatic 90,000 miles

My gear shift is stuck in "Park". I can unlock it using the key in the console keyhole, but what do I need for a permanent repair?
Was this
answer
helpful?
Yes
No
-1
Wednesday, July 12th, 2017 AT 8:03 PM (Merged)
Tiny
RASMATAZ
  • MECHANIC
  • 75,992 POSTS
Get the shift interlock control system checked out-could be the brake switch or shiftlock control solenoid.
Was this
answer
helpful?
Yes
No
-1
Wednesday, July 12th, 2017 AT 8:03 PM (Merged)
Tiny
MMPRINCE4000
  • MECHANIC
  • 8,548 POSTS
There is a brake lock solenoid that prevents the shifter from moving unless the brake pedal is pushed. This solenoid/switch is out of adjustment/broke.

There should be an override button on the shift console that you can push and hold to get out of park.

Use the car repair link or get a Haynes manual, but first read the owners manual and see if it tells you the location of the switch.
Was this
answer
helpful?
Yes
No
+3
Wednesday, July 12th, 2017 AT 8:03 PM (Merged)
Tiny
MMPRINCE4000
  • MECHANIC
  • 8,548 POSTS
Also check the brake switch, it may be out of adjustment or broken.
Was this
answer
helpful?
Yes
No
Wednesday, July 12th, 2017 AT 8:03 PM (Merged)
Tiny
GASANTE1
  • MEMBER
  • 1 POST
  • 2001 HONDA ACCORD
My car's Shifter is stuck in park "P" and it won't move on top of all that all the lights on the dash board are one like the lights that tells you if the door is open the break light, the battery light, and the seat belt light are all on. Help its a 2001 Honda Accord and I just got it serviced and got a new battery too so idk what the problem is. Also I know I have to step on the break before I can move the shifter which I am doing so that's not the problem.
Was this
answer
helpful?
Yes
No
Wednesday, July 12th, 2017 AT 8:03 PM (Merged)
Tiny
DRCRANKNWRENCH
  • MECHANIC
  • 3,380 POSTS
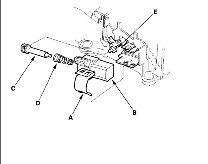
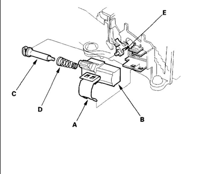
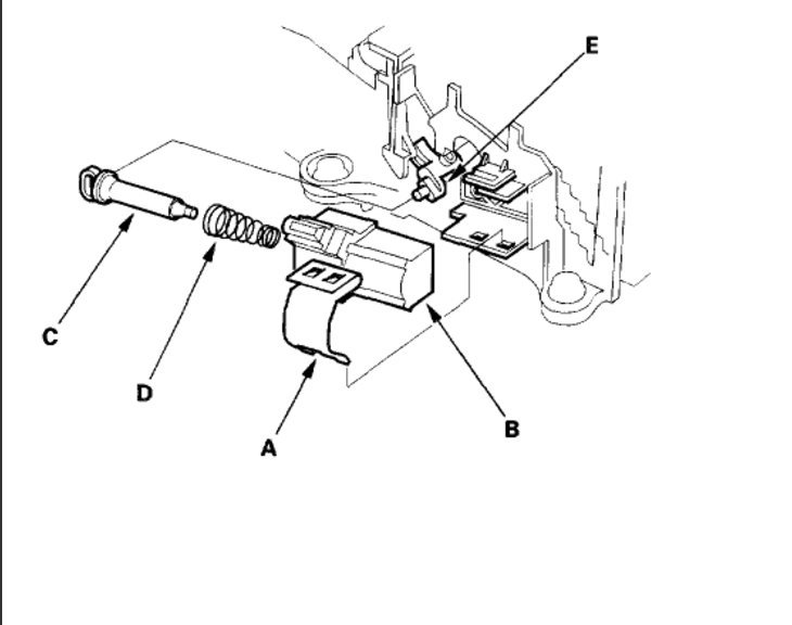
Seems the interlock system is malfunctioning and possible causes are :

1. Faulty brake switch. Check if the brake lights are working when the shift is stuck in Park. If not, you need to tst if the brake switch is faulty, it could be intermittently not working.

2. Interlock shift solenoid. If the brake lights are working and the shift lever is stuck in Park, with ignition key turned to ON, depress brake pedal and listen for a clicking noise near the gear shift. If there is no noise, either there is a malfunctioning soleanoid or wiring circuit.
If there is a clicking noise and you are not able to shift out of park, the solenoid could be restricted and not moving far enough for the locking tab to be moved to allow the shift lever to be moved out of Park.
Was this
answer
helpful?
Yes
No
+2
Wednesday, July 12th, 2017 AT 8:03 PM (Merged)
Tiny
DJCL
  • MECHANIC
  • 767 POSTS
Very common to have a frozen transmission shift cable on that year car. I would remove the shiftier console and disconnect the cable to see if the shift lever will move. You are looking @ a shift inter lock problem of cable problem.
Was this
answer
helpful?
Yes
No
+2
Wednesday, July 12th, 2017 AT 8:03 PM (Merged)
Tiny
CARRIE
  • MEMBER
  • 2 POSTS
  • HONDA ACCORD
Hi! I have a 2000 Honda Accord SE (6 cyl. Engine.), Automatic, with 99,200 miles. The car will start but wont move out of park. The brake lights also stopped working. My mechanic says stoplight switch needs replacing so I am waiting for the part. Should that take care of the gear shift problem too?
Was this
answer
helpful?
Yes
No
Wednesday, July 12th, 2017 AT 8:03 PM (Merged)
Tiny
BRUCE HUNT
  • MECHANIC
  • 3,754 POSTS
If he ordered the Honda replacement one that should do the trick.
Was this
answer
helpful?
Yes
No
Wednesday, July 12th, 2017 AT 8:03 PM (Merged)
Tiny
CARRIE
  • MEMBER
  • 2 POSTS
It took care of it! I reccomend people to replace this part yourself; if your car is similar to mine it only took at max 5 minutes and I saved $20 buying the part myself and $65 in labor. My car has also been not performing as well and I replaced the spark plugs (easy enough to do yourself as well) and it seems to have improved that aspect as well. Yay! :)
Was this
answer
helpful?
Yes
No
Wednesday, July 12th, 2017 AT 8:03 PM (Merged)

Please login or register to post a reply.