High idle

Tiny
SCOTT BURSEY
  • MEMBER
  • 2003 PONTIAC VIBE
  • 1.8L
  • 4 CYL
  • 2WD
  • MANUAL
  • 300,000 MILES
I went to change the tension-er pulley on my car listed above GT model and once I finished and had it all put back together I started my car and it was idling high (it was not idling like this before I changed the tension-er) it is idling at 3,000 rpm's. So I was wondering if anything would be in that area that I could have damaged to cause this issue or if all of a sudden something went wrong with my car? What I should check first and how?
Monday, August 20th, 2018 AT 7:20 PM

1 Reply

Tiny
JACOBANDNICKOLAS
  • MECHANIC
  • 110,194 POSTS
Hi Scott and thanks for using 2CarPros.com.

Since you most likely had the air induction tube off (from the air filter), there is a good chance you may have disconnected the idle air control, MAF sensor. Here is a list of things that may have been affected. I would check to make sure everything is together correctly and there are no vacuum leaks and that all wiring to the sensors are connected. The following indicates how things are checked. In this case, just make sure nothing is disconnected or damaged. Also, the attached pictures correlate with these directions.

Here is a link that shows how to check wiring and connections:

https://www.2carpros.com/articles/how-to-check-wiring

Air Intake System
Vehicle Powertrain Management Fuel Delivery and Air Induction Description and Operation Components Air Intake System
AIR INTAKE SYSTEM
Air Intake System Description

The air induction system provides air and oxygen for the combustion process. The air cleaner keeps dirt from entering the engine. Outside air is drawn into a forward mounted air cleaner. The air passes through the air filter element and past the mass air flow (MAF) sensor to the throttle body. The air then flows through the intake manifold and into the cylinder head. Finally in the cylinder head, the air travels through the intake runner, ending in the combustion chamber.

The following components are directly or indirectly a part of the air supply system.

Mass Air Flow (MAF) Sensor
1 - Mass Air Flow (MAF) Sensor
2 - Platinum Hot-Wire Element
3 - Intake Air Temperature (IAT) Sensor Thermistor

The mass air flow (MAF) sensor (1) measures the changes in the intake air volume that result from the changes in throttle opening and the air density. The airflow measurements are used by the PCM in order to determine the engine fueling requirements.

The MAF sensor is a hot-wire design. A platinum hot-wire (2) and a thermistor (3) are located in the intake air bypass passage of the MAF sensor housing. The temperature of the platinum hot-wire is affected by exposure to air flow and by exposure to air temperature. The platinum hot-wire is maintained at a set temperature by controlling the current flow through the wire. The MAF sensor converts the changes in current flow to a voltage signal. The voltage signal from the MAF sensor enables the PCM to detect changes in the air density and changes in air volume.

The MAF sensor also contains the IAT sensor. The IAT sensor cannot be serviced separately from the MAF sensor.

Throttle Body Assembly
The throttle body contains a throttle valve that controls the amount of air entering the engine. The throttle position (TP) sensor and the idle air control (IAC) valve are both attached to the throttle body. The throttle body has an engine coolant passage that provides warming of the throttle body housing and prevents icing.

The throttle body contains vacuum ports that are located above and below the throttle valve. These vacuum ports provide the vacuum signals used by various components.

Idle Air Control (IAC) Valve
The idle air control (IAC) valve is attached to the underside of the throttle body with 4 bolts. The IAC valve enables the powertrain control module (PCM) to easily control the engine idle speed by precisely metering the engines air intake at closed throttle. The IAC valve opens and closes the idle air bypass passage according to signals from the PCM. The IAC valve contains an engine coolant passage that enables the IAC valve to operate more efficiently at cold temperatures. The PCM determines the correct engine idle speed by using input from various sensors and switches in order to assess the engine status and requirements.

Operation

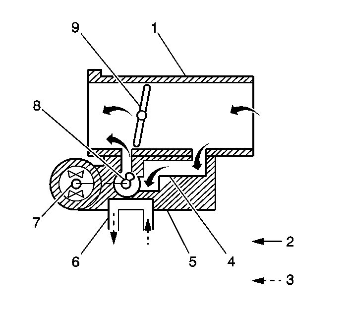
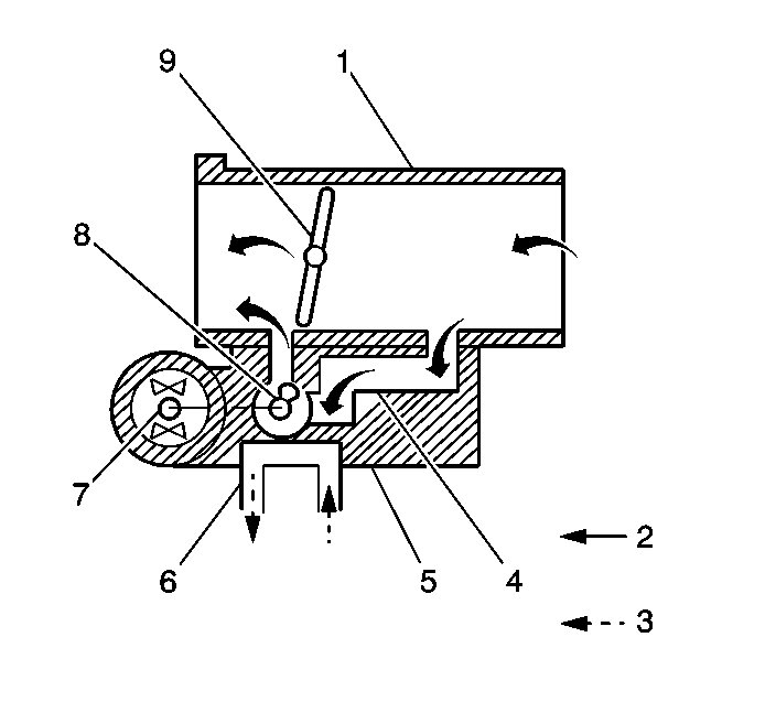
imageZoom/Print

1 - Throttle Body
2 - Air
3 - Coolant
4 - Idle Air (Bypass) Passage
5 - IAC Valve
6 - Coolant Passage
7 - Magnet
8 - Rotary Valve
9 - Throttle Valve

The PCM uses the IAC valve in order to control the engine idle speed. The PCM communicates with the IAC valve by varying the ON time of a repeating ON/OFF duty cycle. A magnet inside the IAC valve operates a rotary valve that controls the opening of the idle air bypass passage in the throttle body. The idle air passage allows air to enter the engine without passing over the throttle valve. The strength of the magnet in the IAC valve is related to the current flow in the IAC circuit.

The PCM increases the ON time of the IAC valve command in order to increase the idle air passage opening. A larger idle air passage opening allows more air to enter the intake resulting in an increase in engine speed.

The IAC valve contains an engine coolant passage that enables the IAC valve to operate more efficiently at cold temperatures. The IAC valve enables the PCM to easily control engine idle speed by precisely metering the engine's air intake at closed throttle.

Engine Idle Speed Control

The engine idle speed is controlled by the PCM through the idle air control (IAC) valve. There are several reasons for idle speed control:

* In order to maintain the engine idle speed at the specified RPM at all times. The engine idle speed can vary due to any of the following reasons:

- A change in the load applied to engine such as when the rear defogger is operating, the automatic transaxle is shifted to R, D, 2 or L ranges, the A/C is turned ON, the headlights or stop lights are turned ON, etc.
- A change in the atmospheric pressure.
- A change in the engine's condition over time.

* In order to improve the starting performance of the engine.
* In order to improve the driveability of the engine during warm up.
* In order to compensate for the change in the air/fuel mixture ratio when decelerating.

Intake Air Temperature (IAT) Sensor

The intake air temperature (IAT) sensor is an integral part of the mass air flow (MAF) sensor that is mounted in the air cleaner assembly. The IAT sensor measures the temperature of the air entering the intake manifold. The IAT sensor provides temperature information to the circuitry of the MAF sensor and the PCM.

The IAT sensor is a thermistor-a resistor whose resistance changes as a function of temperature. When the temperature is low, the resistance is high. The resistance decreases as the temperature increases. The IAT sensor is a 2-wire circuit with a reference or signal voltage and a ground coming from the PCM.
Throttle Position (TP) Sensor
The throttle position (TP) sensor is a potentiometer connected to the throttle shaft on the throttle body. By monitoring the voltage on the signal line, the powertrain control module (PCM) calculates the throttle position. As the throttle valve angle changes when the accelerator pedal is moved, the TP sensor signal also changes. At a closed throttle position, the output of the TP sensor is low. As the throttle valve opens, the output increases so that at wide open throttle, the output voltage should be more than 3.3 volts.

Because the position of the throttle valve controls the air supply to the engine, the PCM can modify the fuel delivery based on the throttle angle. For example, power enrichment occurs when the throttle angle approaches wide-open throttle. The PCM looks primarily for changes in the TP sensor output to control fuel delivery. Acceleration enrichment occurs when the throttle angle increases, similar to the accelerator pump on a carburetor equipped vehicle.
______________________________________________

I hope this helps. Let me know what you find or if you have questions.

Take care,
Joe

Was this
answer
helpful?
Yes
No
Tuesday, August 21st, 2018 AT 6:22 PM

Please login or register to post a reply.