After replacing plugs and valve cover gasket it will not stay running

Tiny
ASEMASTER6371
  • MECHANIC
  • 52,796 POSTS
Okay, I would go back to the beginning and pull the plugs. Make sure all the gaps are correct.

1.27 mm (0.050 in)

It has to something you touched for this repair.

Roy
Was this
answer
helpful?
Yes
No
Sunday, November 1st, 2020 AT 6:32 AM
Tiny
JAY RUSSELL
  • MEMBER
  • 14 POSTS
Okay, I will do that. Thanks
Was this
answer
helpful?
Yes
No
Sunday, November 1st, 2020 AT 11:14 AM
Tiny
ASEMASTER6371
  • MECHANIC
  • 52,796 POSTS
You are welcome.

Roy
Was this
answer
helpful?
Yes
No
Sunday, November 1st, 2020 AT 11:20 AM
Tiny
JAY RUSSELL
  • MEMBER
  • 14 POSTS
Okay, so I have checked the plug gap they are 0.50 and I have replace the whole housing boots and all. Still shaking when stopped and smells like gas bad? I had the fuel system checked they said it was good? Guess start checking sensors next.
Was this
answer
helpful?
Yes
No
Sunday, November 1st, 2020 AT 10:41 PM
Tiny
ASEMASTER6371
  • MECHANIC
  • 52,796 POSTS
Okay, what did they check and what were the results?

Roy
Was this
answer
helpful?
Yes
No
Monday, November 2nd, 2020 AT 3:09 AM
Tiny
JAY RUSSELL
  • MEMBER
  • 14 POSTS
I have found that there is fuel coming out the pressure regulator not a lot but it’s coming out.
Was this
answer
helpful?
Yes
No
Monday, November 2nd, 2020 AT 10:04 PM
Tiny
ASEMASTER6371
  • MECHANIC
  • 52,796 POSTS
There should be 0 coming out.

Replace the pressure regulator.

Roy

1. Remove the fuel rail assembly.
2. Remove the attaching screw (8) from the pressure regulator.
3. Remove the pressure regulator assembly (1) from the fuel rail.
Twist the assembly back and forth while pulling.

FUEL RAIL ASSEMBLY REPLACEMENT

REMOVAL PROCEDURE

imageOpen In New TabZoom/Print

1. Relieve the fuel system pressure. Refer to Fuel Pressure Relief Procedure.
2. Remove the air cleaner outlet resonator.
3. Disconnect the fuel pressure regulator vacuum hose.

ImageOpen In New TabZoom/Print

4. Remove the camshaft position (CMP) sensor connector.

ImageOpen In New TabZoom/Print

5. Pull up the lock release (2) of the fuel injector connector.

ImageOpen In New TabZoom/Print

6. Depress the lock tab (1) and lift the connector from the injector.
7. Disconnect the fuel feed pipe from the fuel rail. Use a backup wrench on the fuel rail inlet fitting to prevent the fitting from turning.

ImageOpen In New TabZoom/Print

8. Remove the fuel pipe retainers.

ImageOpen In New TabZoom/Print

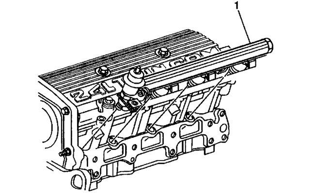
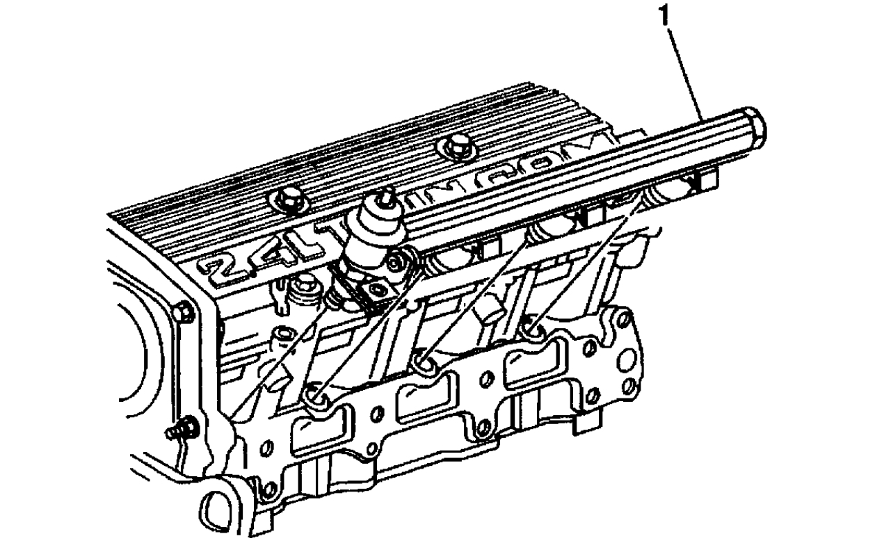
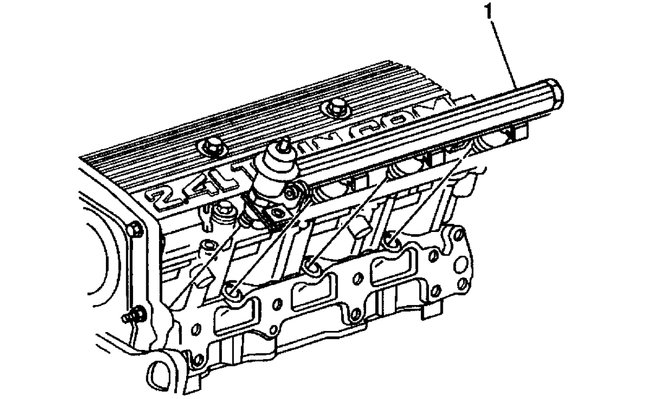
9. Remove the fuel rail attaching bolts (1).

ImageOpen In New TabZoom/Print

10. Lift the fuel rail assembly (1) from the cylinder head.

ImageOpen In New TabZoom/Print

11. If the fuel rail is not being replaced, go to the installation procedure.
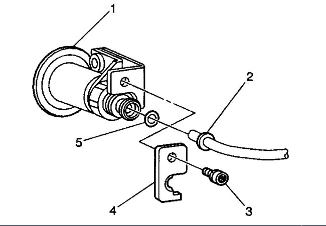
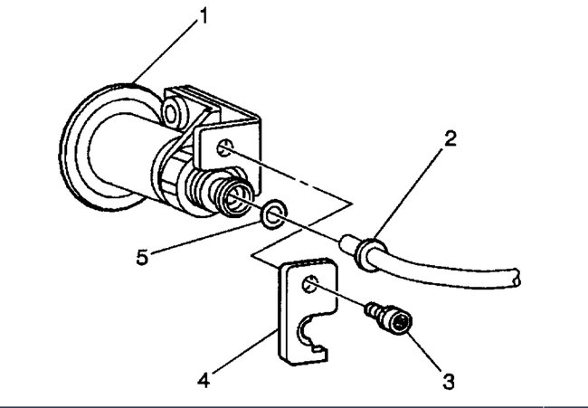
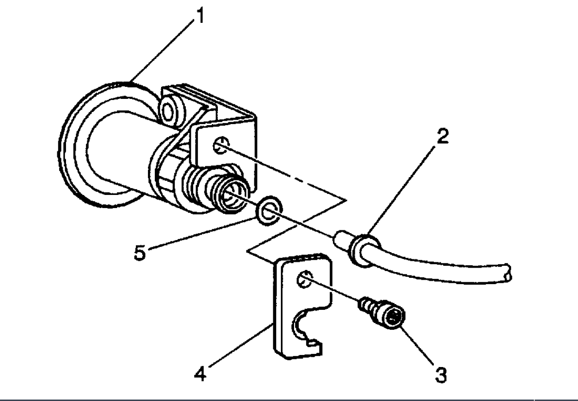
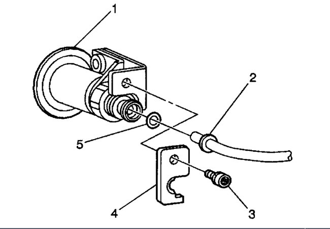
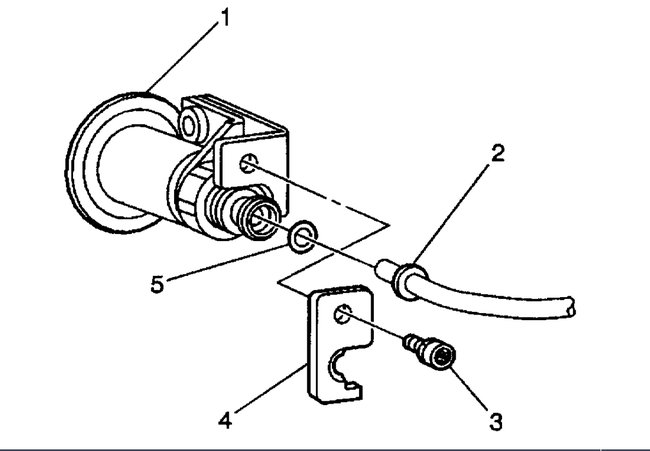
12. Remove the fuel return pipe bracket screw (3) and the bracket (4).
13. Remove the fuel return pipe (2) from the fuel pressure regulator (1).
14. Remove the fuel return pipe. Discard the O-rings.
15. Remove the fuel pressure regulator.
16. Remove the fuel injectors.
Was this
answer
helpful?
Yes
No
Tuesday, November 3rd, 2020 AT 4:06 AM

Please login or register to post a reply.