Cluster wiring diagram needed?

Tiny
SCION
  • MEMBER
  • 1998 VOLKSWAGEN GOLF
  • 1.8L
  • 4 CYL
  • 2WD
  • AUTOMATIC
  • 100,000 MILES
Golf MKIII Cluster wiring diagram

Hello, I need to know which pinout is which for the following:
Power
Ground
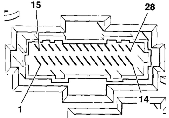
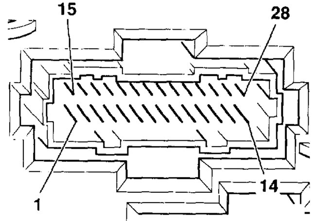
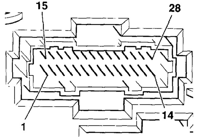
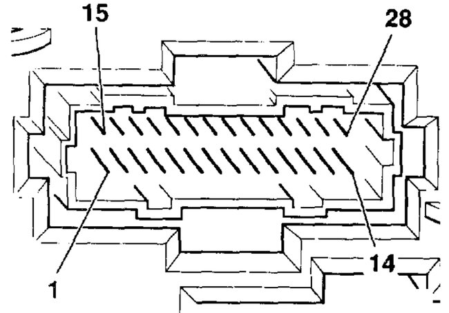
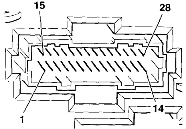
Speedometer
Tachometer
Transmission gauge

Thanks
Saturday, April 20th, 2024 AT 6:39 PM

14 Replies

Tiny
KEN L
  • MASTER CERTIFIED MECHANIC
  • 55,322 POSTS
Sure, here are the instrument cluster pinouts and wiring diagrams for clarity, this guide can help you with the testing.

https://www.2carpros.com/articles/how-to-check-wiring

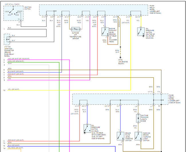
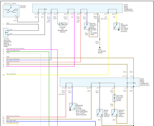
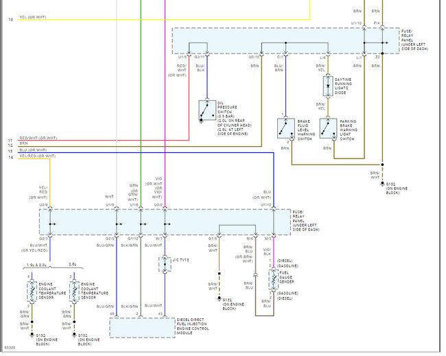
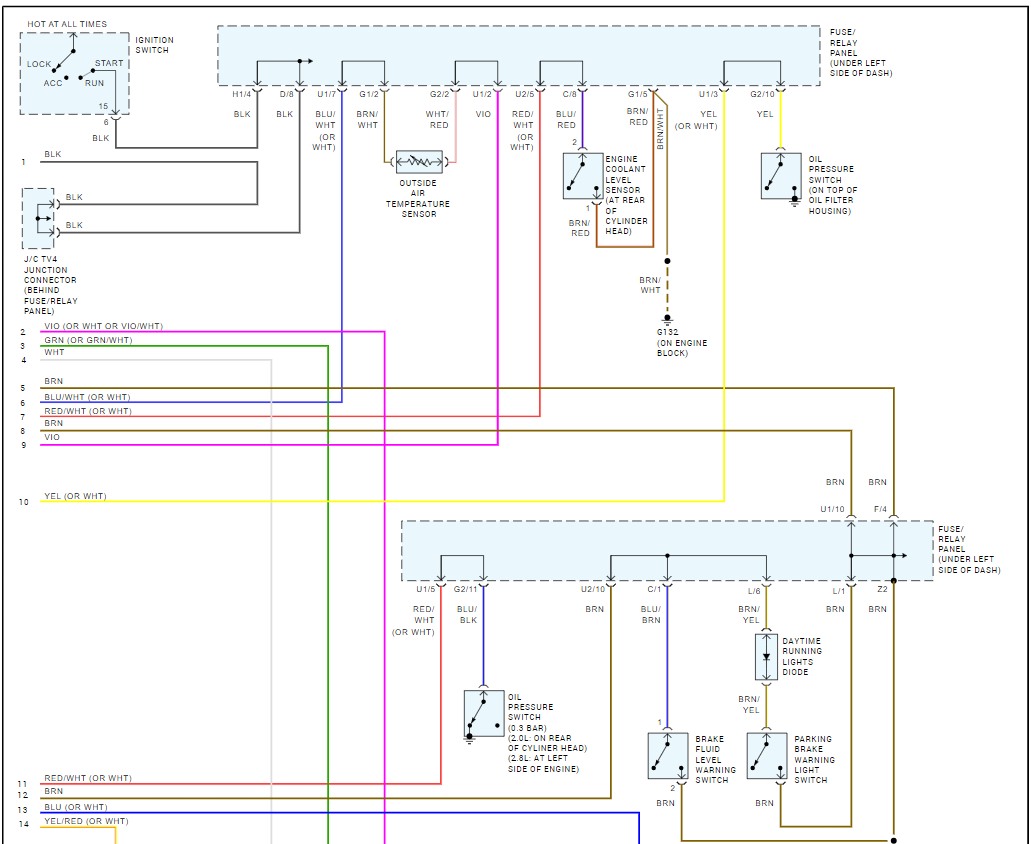
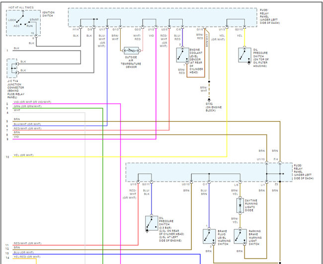
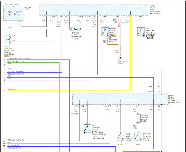
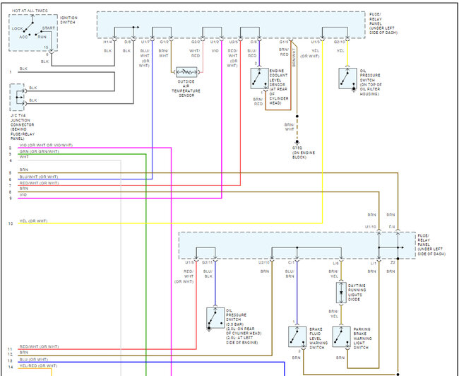
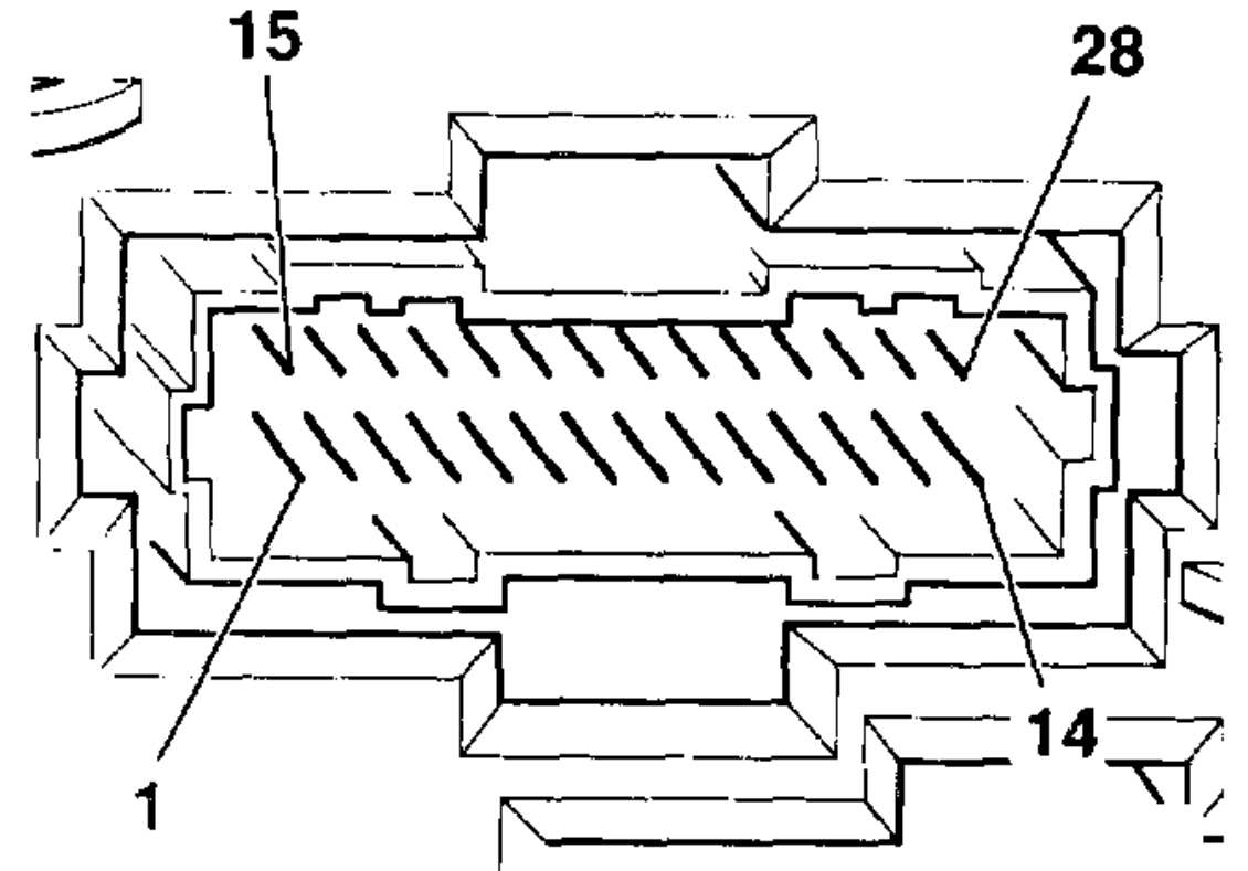
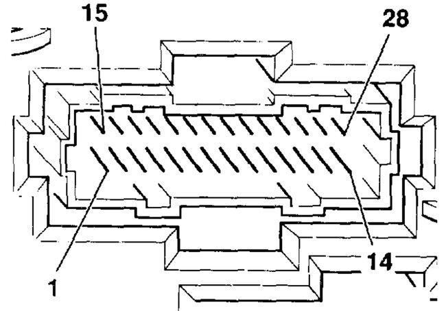
1- Outside air temperature sensor -G17-, Ground (GND) 1)
2- Engine Coolant Level (ECL) sensor -G32-
3- Terminal 31, Ground (GND)
4- Multi-function indicator memory switch -E109- (reset) 1)
5- Terminal 31, Ground (GND)
6- Multi-function indicator memory switch -E109- (memory) 1)
7- Vehicle Speed Sensor (VSS) output
8- Oil pressure switch -F1-, 1.8 bar
9- 0.3 bar oil pressure switch -F22-
10- Terminal 1/terminal W
11- Terminal 30, battery positive voltage (B+)
12- Terminal 58b, lighting
13- Terminal 15 (B+ with ignition switched on)
14- Open
15- Multi-function indicator mode select switch -E86-1
16- Generator (GEN) warning light -K2-, terminal 61
17- Engine oil temperature sensor -G8- 1)
18- Brake and parking brake warning light -K7-
19- Outside air temperature sensor -G17-, signal 1)
20- Malfunction Indicator Lamp (MIL) -K83-, or glow plug indicator light -K29- (Diesel)
21- Fuel gauge -G1-
22- Left turn signal indicator light -K65-
23- Engine Coolant Temperature (ECT) gauge -G3-
24- Right turn signal indicator light -K94-
25- Headlight high beam indicator light -K1-
26- Input signal, fuel consumption 1)
27- Vehicle speed signal from speedometer Vehicle Speed Sensor (VSS) -G22-
28- Transmission Range (TR) selector lever display (AG4)

1) Only with multi-function indicator -J119-

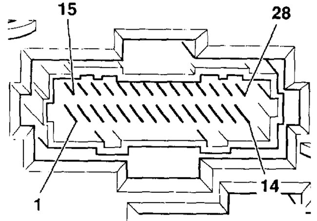
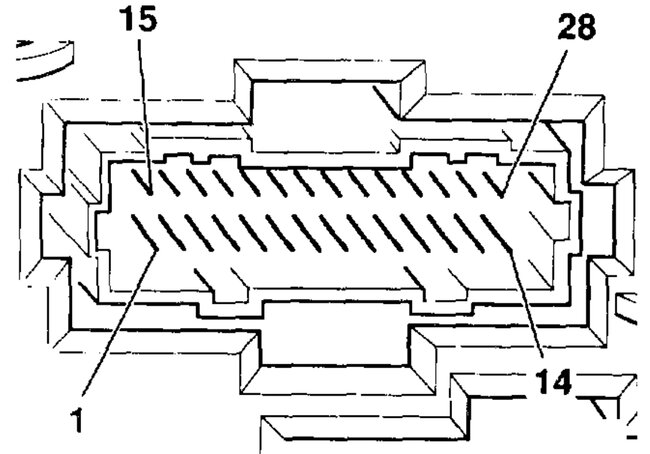
Check out the images (below). Let us know if you need anything else.
Was this
answer
helpful?
Yes
No
+4
Sunday, April 21st, 2024 AT 11:01 AM
Tiny
SCION
  • MEMBER
  • 41 POSTS
Thank you. Can you highlight which pin is the power, ground, speedometer and tachometer?
Was this
answer
helpful?
Yes
No
+3
Sunday, April 21st, 2024 AT 1:47 PM
Tiny
KEN L
  • MASTER CERTIFIED MECHANIC
  • 55,322 POSTS
Sure, there are two power pins one is switched while the other is constant battery.

3- Terminal 31, Ground (GND)

11- Terminal 30, battery positive voltage (B+)
13- Terminal 15 (B+ with ignition switched on)

7- Vehicle Speed Sensor (VSS) output

26- Input signal, fuel consumption 1) TACH

Let us know if you need anything else.
Was this
answer
helpful?
Yes
No
+2
Monday, April 22nd, 2024 AT 10:07 AM
Tiny
SCION
  • MEMBER
  • 41 POSTS
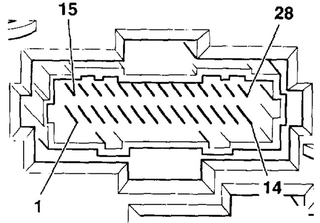
There are 2 plugs, one orange one black. They have the same pin count, but which one do I use?
Was this
answer
helpful?
Yes
No
+1
Monday, April 22nd, 2024 AT 6:10 PM
Tiny
KEN L
  • MASTER CERTIFIED MECHANIC
  • 55,322 POSTS
I would try either one to see if whatever you are doing will work.
Was this
answer
helpful?
Yes
No
Tuesday, April 23rd, 2024 AT 10:04 AM
Tiny
SCION
  • MEMBER
  • 41 POSTS
You forgot to mention pin 5 for ground, it's not only pin 3. Also, for anyone else in the future testing oma mkIII, its the black plug, not the orange. So, pin 3 for gnd, pin 5 for gnd, pin 11 to turn on cluster (the power box is not detecting thr cluster) and pin 13 to turn on lights (the power box now detects the cluster)
Was this
answer
helpful?
Yes
No
Monday, July 8th, 2024 AT 10:01 PM
Tiny
SCION
  • MEMBER
  • 41 POSTS
It's also flashing the oil and temperature light, LOL.
Was this
answer
helpful?
Yes
No
Monday, July 8th, 2024 AT 10:04 PM
Tiny
KEN L
  • MASTER CERTIFIED MECHANIC
  • 55,322 POSTS
So, it is working correctly? All good?
Was this
answer
helpful?
Yes
No
Tuesday, July 9th, 2024 AT 9:41 AM
Tiny
SCION
  • MEMBER
  • 41 POSTS
Yes, I'm hoping to connect my Arduino to it and work the pins to it, and maybe even use it as my clock. LOL
Was this
answer
helpful?
Yes
No
Tuesday, July 9th, 2024 AT 9:52 AM
Tiny
KEN L
  • MASTER CERTIFIED MECHANIC
  • 55,322 POSTS
Nice work, thanks for letting us know, we are here to help, please use 2CarPros anytime.
Was this
answer
helpful?
Yes
No
Tuesday, July 9th, 2024 AT 9:59 AM
Tiny
MATTYVANEK
  • MEMBER
  • 4 POSTS
Hi! I just want to ask, if Scion got them working with Arduino. I want to connect them via Arduino to Simhub, and use them in game. And I need to know if you connect them via the Analog plugs on Ardu, or via Digital (PWM)? I wasn't able to get them working :( So I need to know -> what pins, where to plug 'em and how to setup them :), I have Gauges from 1.4 liter, and on the mainboard is year 1991.

Thanks much guys ;)
Was this
answer
helpful?
Yes
No
-1
Wednesday, August 7th, 2024 AT 12:47 AM
Tiny
KEN L
  • MASTER CERTIFIED MECHANIC
  • 55,322 POSTS
I am not sure, I hope SCION responds :) if not let me know and we can try to help you.
Was this
answer
helpful?
Yes
No
Wednesday, August 7th, 2024 AT 12:32 PM
Tiny
SCION
  • MEMBER
  • 41 POSTS
Hey, I was sadly not able to get mine working, but I was able to just have it running on power, however I got my BMW E36 insturment cluster working on my Arduino if you're interested

Reason why I was not able to connect my MKIII was because it needed a custom protocol, which I know Random Science 4K on YouTube knows.
Was this
answer
helpful?
Yes
No
Wednesday, August 7th, 2024 AT 1:28 PM
Tiny
MATTYVANEK
  • MEMBER
  • 4 POSTS
Okay, thanks, I'll try it, and let you know :)
Was this
answer
helpful?
Yes
No
Thursday, August 8th, 2024 AT 12:01 AM

Please login or register to post a reply.