Gear shifter only goes into drive and neutral

2010 CHEVROLET AVEO
40,000 MILES • 4 CYL • 2WD • AUTOMATIC
Avatar
GREGDV
  • MEMBER
  • 1 POST
I have a gear shifter that wont go into any other gears but drive and neutral. What could be the problem and can I fix it in my drive?
Dec 18, 2019 at 1:00 PM
Repair Safety Notice: This information is for general instructional purposes only. Vehicle repair can be dangerous. Verify all information, follow manufacturer service procedures, use proper tools and safety equipment, and consult a qualified repair shop when needed.
Advertisement
Avatar
STEVE W.
  • CAR REPAIR CONTRIBUTOR
  • 15,148 POSTS
Your description sounds like it may be a bad cable bushing or something in the shift lever mechanism in the console broke. To figure out which is the issue, Open the hood and find the shift cable connection on the transmission. It is held in place with a clip. Carefully remove the clip and then pull the cable free from the lever. Now try the shifter inside the car. Does it move freely? If yes then the issue is either the transmission position switch or internal to the transmission. To deal with those, unstake the washer and remove the nut that holds the shift lever to the shaft. Remove the lever and then mark and remove the bolts for the switch and remove it. Now try to shift the transmission with the lever. If it now shifts okay it's a bad switch. If not there is an internal transmission problem.

Now if the cable comes off that outer lever and you still cannot move the interior lever. You have a problem inside. Leave the cable disconnected at the moment and go inside the car.
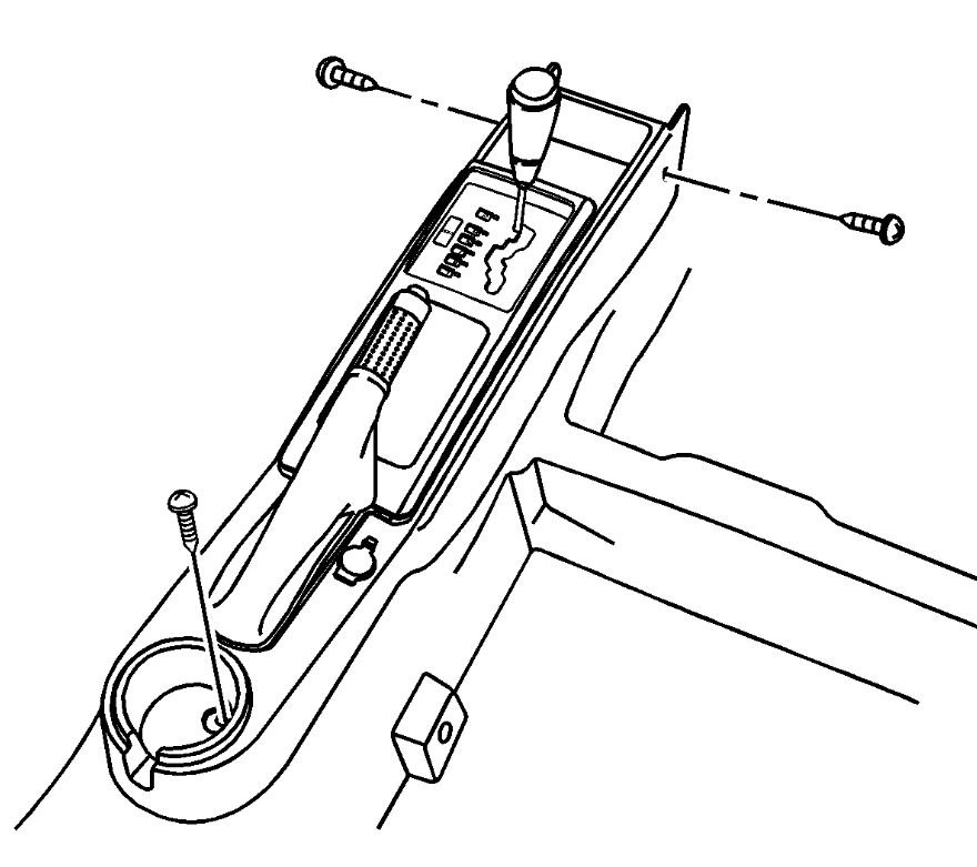
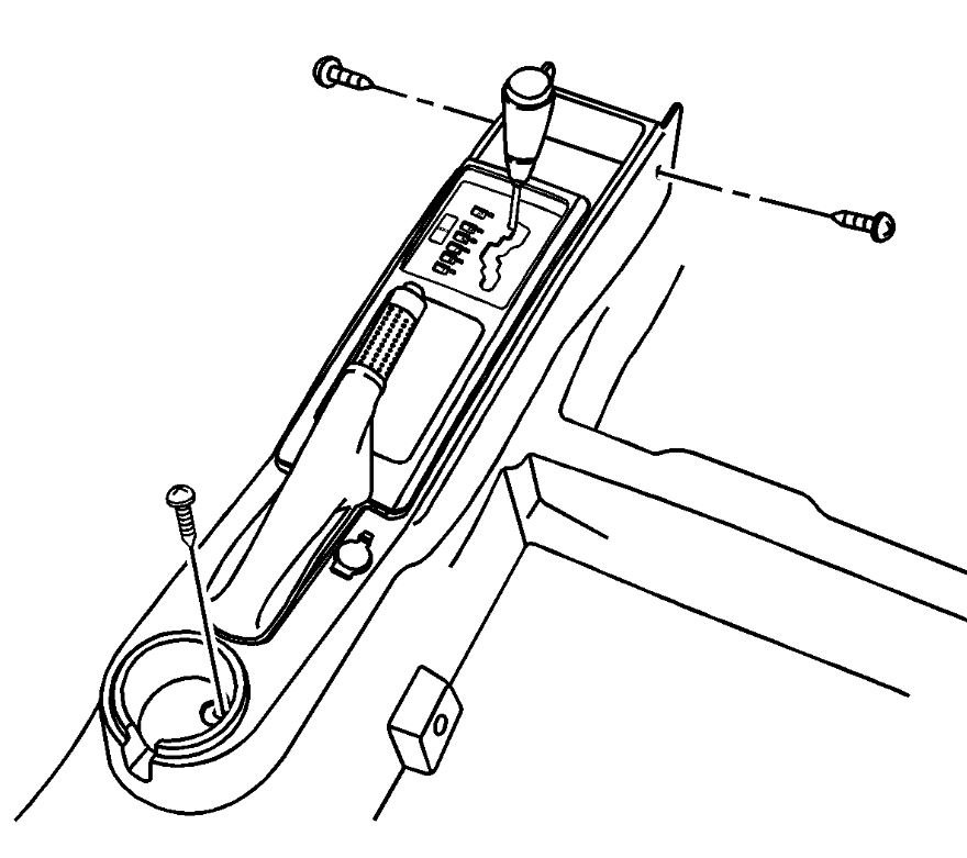
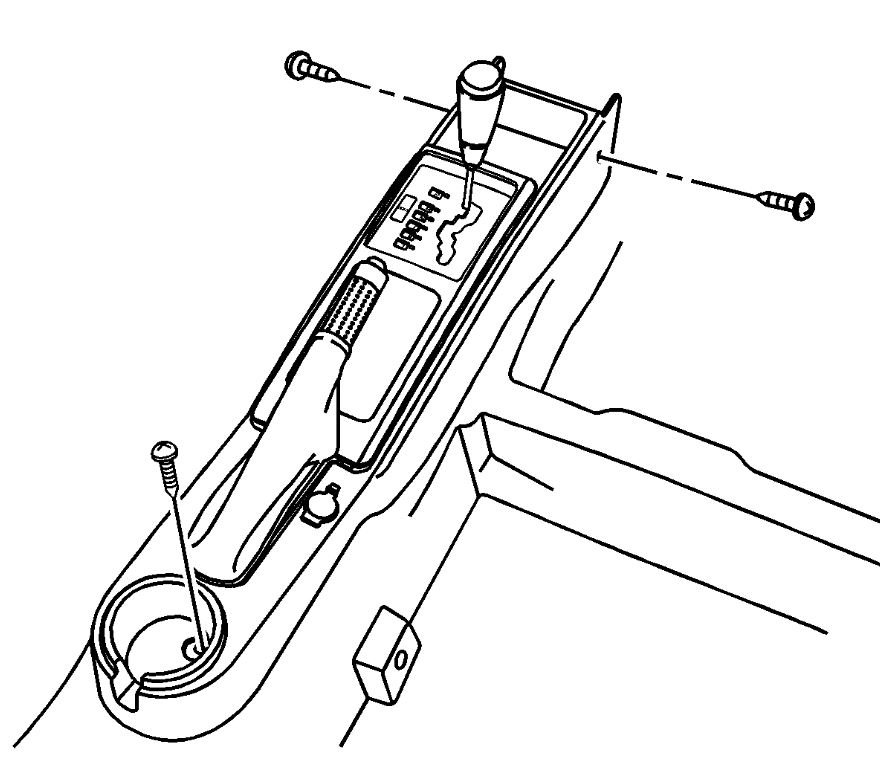
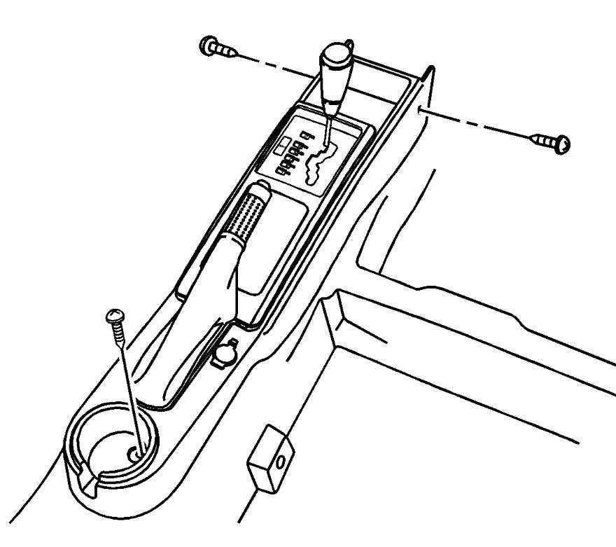
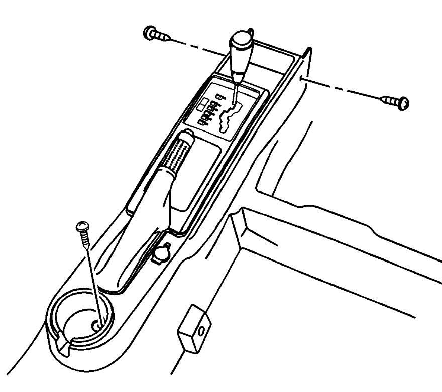
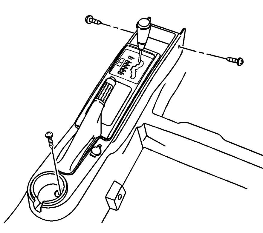
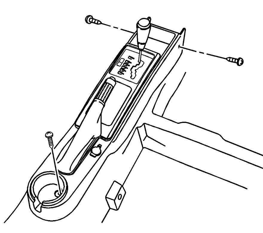
You will need to remove the center console by removing the screws and the boot around the park brake (it gently pries out with a plastic pry tool) Once the console is off you will be able to see the inner shift cable and linkage for the shift lever. Next remove the adjusting nut from the cable after marking it's current location so it can go back on in the same spot. With the cable off does the shifter move correctly? If not then the shifter unit is the issue.
If it moves freely, try moving the shift cable, with it disconnected at both ends it should move free. If not replace the cable.
If you have the cable off but the shifter still doesn't work, There are 4 bolts that hold it in place and a couple wire connections. I would probably find a replacement used one. I'm not sure you can get new anywhere but a dealer.

It sounds like a lot but unless it's an internal transmission issue the testing to narrow down the bad part is what will take the most time. By starting under the hood you can get a better idea of the problem without wasting time.
If the issue turns out to be external to the transmission you will need to adjust the replacement parts. This sounds had but it isn't. If it's the switch you will still need to remove the interior console to adjust the cable unless you are real lucky. But to adjust the switch you mount it just snug. Then put the shift lever on. Rotate the shift shaft fully counterclockwise. Now move it back clockwise 2 notches. That should be neutral. Now look at the switch and it will have a mark for neutral. Line that up with the shift lever notch, Tighten the nut and stake the washer in place. Install the shift control lever and then the cable. Now go inside. Remove the console and loosen the adjuster bolt. Be sure the outer lever is in neutral. Then place the inner lever in neutral and tighten the bolt. Now test it to be sure it goes fully into park and the other gears.
Dec 19, 2019 at 3:50 AM
Advertisement