Wednesday, April 24th, 2019 AT 8:29 AM
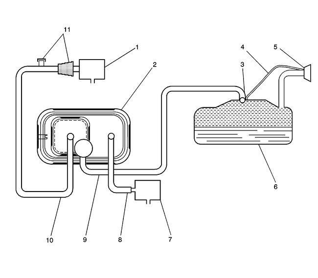
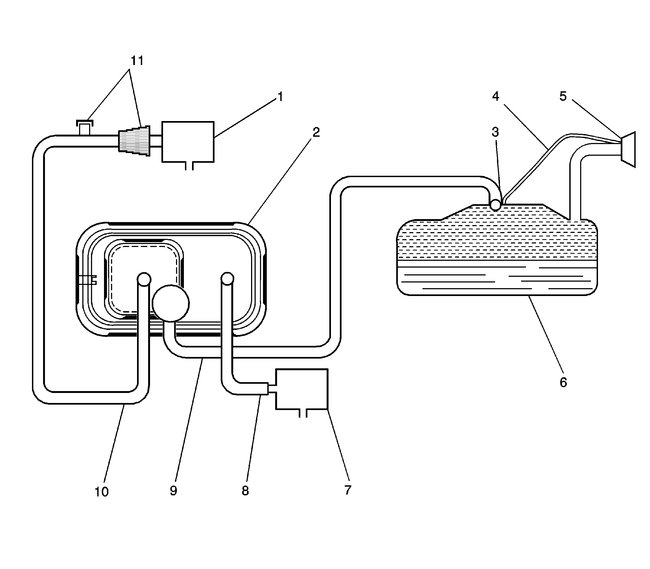
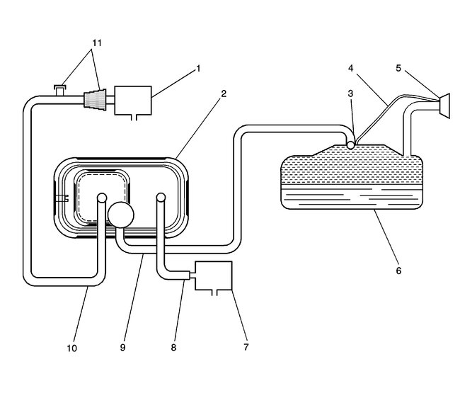
Yesterday morning I was going to class when I got out of my car I smelled gas, but thought it was another car parked around me. I went home and got ready for work, went to the gas station to fill up, and drove to work. When I got to work I noticed the smell of gas once again and now assumed it was coming from my car. When I left work that afternoon, I checked for a gas puddle under the car. The ground was dry. I then drove five minutes home and checked when I parked my car if I could see any fresh gas leaking. Nothing. Just a faint odor. That night I parked my car in the garage and by the morning the garage and basement (the garage man door goes into the basement) smelled of gasoline. Still no evidence of gas leaking. I drove to school once again this morning with the smell of gas. On my way home from school, my car was having a hard time accelerating. It didn't want to shift past 3.5 RPM and once it did it would drop down to 2.5 RPM like a car normally should. I went to brake when coming to a red light and when I pushed on the brake the car slowed slightly, but then lunged forward and the RPM gauge hit 3-3.5 RPM before allowing me to slow down. When I accelerated in the past a faint "tisking" sound could be heard when the windows were down, but I had assumed that was normal car sounds. All of the above has happened very quickly in a matter of less than twenty four hours. Please help!
