Monday, September 2nd, 2024 AT 1:43 PM
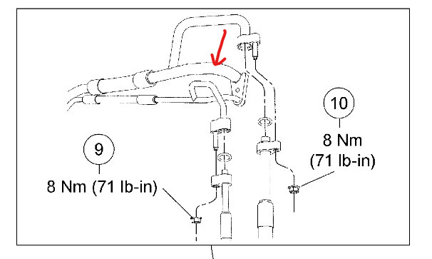
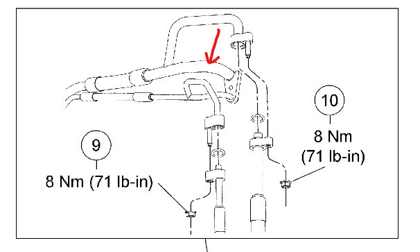
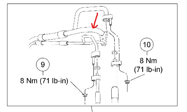
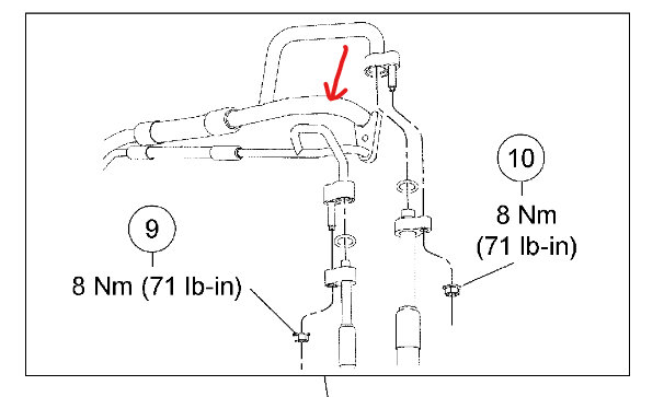
I can't find a fuse diagram for my car listed above. The A/C has stopped blowing cold air completely. I refilled the freon about 2 months ago and it worked great and only driven a couple times. Yesterday there was no cool air, just hot. I topped off the Freon not much gone and still nothing. I'm hoping it's just a fuse but probably not. Any ideas for checking what problem could be? Thanks. Oh, yes, the fuse box diagrams for all fuses inside and out would be great.







