Fuel filter location

Tiny
KESSIEG
  • MEMBER
  • 2005 MAZDA 6
  • 2.3L
  • 4 CYL
  • 2WD
  • AUTOMATIC
  • 158,234 MILES
Location of the fuel filter.
Monday, February 4th, 2019 AT 4:42 PM

1 Reply

Tiny
JACOBANDNICKOLAS
  • MECHANIC
  • 110,192 POSTS
Hi and thanks for using 2CarPros.

I have some good news and some bad. The bad first. There are actually two filters on this vehicle. However, they are part of the fuel pump. One is a small round filter on the fuel pump pick-up and the other is basically an inline filter which is located in the basket of the fuel pump. If I recall correctly, the pump gets replaced because there were no replacement filters to repair the original pump.

Now the good news. You don't need to remove the fuel tank to access the pump.

Here is a link that shows in general how a pump is replaced:

https://www.2carpros.com/articles/how-to-replace-an-electric-fuel-pump

Here are the directions specific to your vehicle for removal and replacement of the pump.

All attached pictures correlate with these directions.

_________________________________________

2005 Mazda 6 L4-2.3L
Fuel Pump Unit Removal and Installation
Vehicle Powertrain Management Fuel Delivery and Air Induction Fuel Pump Service and Repair Procedures Fuel Pump Unit Removal and Installation
FUEL PUMP UNIT REMOVAL AND INSTALLATION
FUEL PUMP UNIT REMOVAL/INSTALLATION

WARNING: Fuel line spills and leakage are dangerous. Fuel can ignite and cause serious injuries or death and damage. Fuel can also irritate skin and eyes. To prevent this, do not damage the sealing surface of the fuel pump unit when removing or installing.

CAUTION: Disconnecting/connecting the quick release connector without cleaning it may possibly cause damage to the fuel pipe and quick release connector. Always clean the quick release connector joint area before disconnecting/connecting using a cloth or soft brush, and make sure that it is free of foreign material.

Fuel pump cap-installed type

1. Complete the "BEFORE REPAIR PROCEDURE"
2. Disconnect the negative battery cable.
3. Remove the rear seat cushion.

Picture 1

Ouc 2
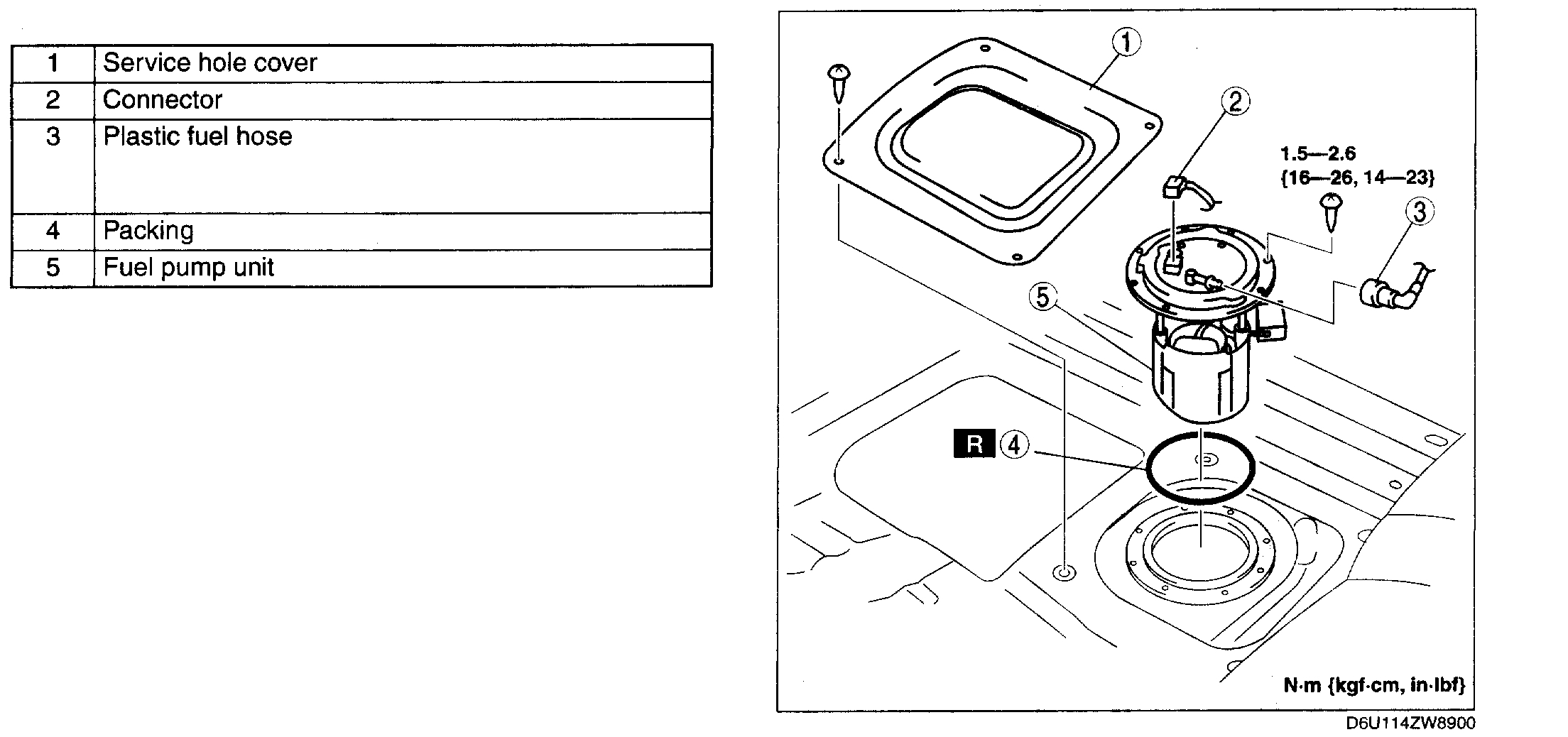
4. Remove in the order indicated in the table.
5. Install in the reverse order of removal.
6. Complete the "AFTER REPAIR PROCEDURE".

Screw-installed type

1. Complete the "BEFORE REPAIR PROCEDURE".
2. Disconnect the negative battery cable.
3. Remove the rear seat cushion.

Picture 3

4. Remove in the order indicated in the table.
5. Install in the reverse order of removal.
6. Complete the "AFTER REPAIR PROCEDURE".

Plastic Fuel Hose Removal Note

CAUTION: The quick release connector may be damaged if the tab is bent excessively. Do not expand the tab over the stopper.

1. Disconnect the quick release connector.
1. Push the tab on the locking coupler 90 ° until it stops.
2. Pull the fuel hose straight back.

Picture 4

Picture 5

NOTE:
- The stopper may be removed from the quick connector. Take care not to lose it. Reinstall it to the quick release connector before reconnecting the fuel line.
- The locking coupler has two internal locking tabs which retain the fuel pipe. Be sure that the tab on the locking coupler is rotated until it stops to release two internal locking tabs.

2. Cover the disconnected quick release connector and fuel pipe with vinyl sheets or the like to prevent them from being scratched or contaminated with foreign material.

Fuel Pump Cap Removal Note

CAUTION: The cap could be damaged if the SST is used with any play between the cap and the SST. Securely attach the SST so that there is no gap between the SST tabs and the side of the cap.

Picture 6

1. Remove the fuel pump cap using the SST with two of the four brackets removed.

Fuel Pump Cap Installation Note

Warning: make sure there is no foreign material on each of the parts. If there is foreign material on the parts, the fuel pump unit cannot be assembled correctly, which could result in fuel leakage.

NOTE: The fuel pump unit will rotate and cannot be secured in the specified position if there is any gasoline on the gasket. Thoroughly wipe away all gasoline from the gasket.

1. Replace the packing, fuel pump cap and the retainer with new parts.

CAUTION: New parts can deform depending on the temperature. If the parts deform, the fuel pump unit cannot be assembled correctly, which could result in fuel leakage. Therefore, keep new parts at room temperature for the specified period of time to stabilize the shape.

2. Leave new parts inside for the following period of time:

Stand-by time
12 h or more

Picture 7
3. Install a new retainer to the fuel tank.
1. Align the retainer tabs (3 locations) with the fuel tank grooves.
2. Verify that the tabs are inserted into the grooves and the retainer is installed correctly.
3. Verify the retainer is not damaged.

4. Install a new packing to the fuel tank.
1. Verify the packing groove is clean and free of foreign material.
2. Install the packing to the fuel tank so that it is inserted into the fuel tank grooves.

CAUTION: Install the fuel pump unit to the fuel tank being careful not to bend the fuel sender unit arm. If the arm is bent, the fuel sender unit will not operate correctly.

5. Install the fuel pump unit to the fuel tank.

Picture 8
1. Align the fuel pump unit alignment mark and the floating lines on the fuel tank.

Picture 9

2. Verify the tab on the fuel pump unit flange with the notch on the retainer.

6. Set on a new fuel pump cap.

Picture 10

1. Apply downward force (push down) on the center of the fuel pump unit flange.

NOTE:
- Align the fuel pump cap with the tightening start position of the retainer and tighten the fuel pump cap with the start position as 0 .
- The fuel pump cap tightening start position is the position where the spaces between the ribs become narrow. The retainer tightening start position is the notch position.

Picture 11

2. Align the tightening start position on the fuel pump cap and the tightening start point of the retainer.

Warning:
- no grease or lubrication allowed on parts during installation. Parts could slide or they cannot be tightened to the specified torque. As a result, fuel leakage could occur.
- when tightening the fuel pump cap, be careful that the fuel pump unit alignment mark and the floating lines on the fuel tank have not deviated. If there is deviation, the fuel pump unit cannot be installed correctly, which could result in fuel leakage.

7. Tighten the fuel pump cap.

Picture 12

1. Tighten the fuel pump cap by hand to the specified angle or more until the flange is fixed.

Fuel pump cap rotation angle
270 ° or more

2. Verify that the fuel pump cap is tightened correctly.
1. The gap between the bottom of the fuel pump cap and the tank surface is even all around.
- If the fuel pump cap is not tightened uniformly, loosen it by hand and re-install it.

CAUTION: The cap could be damaged if the SST is used with any play between the cap and the SST. Securely attach the SST so that there is no gap between the SST tabs and the side of the cap.

Picture 13

3. Install the SST with two of the four brackets removed.

NOTE: The fuel pump cap rotation angle is the angle from the 0 ° position. The angle tightened to using the SST includes the angle tightened by hand.

Picture 14

4. Tighten the fuel pump cap to the specified torque and to the specified angle or more.

Fuel pump cap rotation angle
570 - 630 °

Fuel pump cap tightening torque
67 - 77 N.m 6.8 - 7.8 kgf-m, 49 - 56 ft.lbf

5. Verify that the fuel pump cap is tightened correctly.
1. The gap between the top of the fuel pump unit flange and the fuel pump cap is even all around.
- If it is not tightened uniformly, re-install it using the following procedure.

2. The gap between the fuel pump unit and fuel tank is even all around.
- If it is not tightened uniformly, re-install it using the following procedure.

3. Verify that the fuel pump unit alignment mark and the floating lines on the fuel tank are aligned.
- If they are not aligned, re-install it using the following procedure.

CAUTION: The cap could be damaged if the SST is used with any play between the cap and the SST. Securely attach the SST so that there is no gap between the SST tabs and the side of the cap.

Picture 15

1. Install the SST with two of the four brackets removed.
2. Remove the fuel pump cap, fuel pump unit, packing, and retainer.
3. Verify that the retainer is not damaged.
- If both of the retainer anti-rotation tabs are broken, replace it with new one.

4. Return to Step 2 and re-install.

Plastic Fuel Hose Installation Note

NOTE: A checker tab is integrated with quick release connector for new plastic fuel hoses. The checker tab will be released from the quick release connector after it is completely engaged with the fuel pipe.

Picture 16

1. Inspect the fuel pump unit sealing surface for damage and deformation, and replace if necessary.
- If the quick release connector O-ring is damaged, replace the plastic fuel hose.

Picture 17
2. Slightly apply clean engine oil to the sealing surface of the fuel pump unit.
3. Align the fuel pipe on the fuel pump unit and quick release connector so that the tabs of the retainer are correctly fitted into the quick release connector. Push the quick release connector straight into the retainer until a click is heard.
4. Lightly pull and push the quick release connector a few times by hand and verify that it can move 2.0 - 3.0 mm 0.08 - 0.11 in and it is connected securely.
- If the quick release connector does not move at all, verify that O-ring is not damaged and slipped, and reconnect the quick release connector.

_______________

Let me know if this helps or if you have other questions.

Take care,
Joe
Was this
answer
helpful?
Yes
No
+1
Monday, February 4th, 2019 AT 6:45 PM

Please login or register to post a reply.