Fuel filter location

2009 FORD EXPLORER
150,000 MILES • 4.0L • 4 CYL • 4WD • AUTOMATIC
Avatar
GARY NORDLAND
  • MEMBER
  • 2 POSTS
Where is fuel filter located?
Sep 10, 2019 at 2:15 PM
Repair Safety Notice: This information is for general instructional purposes only. Vehicle repair can be dangerous. Verify all information, follow manufacturer service procedures, use proper tools and safety equipment, and consult a qualified repair shop when needed.
Advertisement
Avatar
ASEMASTER6371
  • CAR REPAIR CONTRIBUTOR
  • 52,796 POSTS
Good afternoon,

It is in the back of the truck by the tank. This video will help you remove the filter with instructions below to show you how to replace the fuel filter in your car.

https://youtu.be/Boi0DPXVHbM

and

https://www.2carpros.com/articles/how-to-change-a-fuel-filter


The procedure is below with some pictures.

WARNING: Do not smoke, carry lighted tobacco or have an open flame of any type when working on or near any fuel-related component. Highly flammable mixtures are always present and may be ignited. Failure to follow these instructions may result in serious personal injury.

WARNING: Before working on or disconnecting any of the fuel tubes or fuel system components, relieve the fuel system pressure to prevent accidental spraying of fuel. Fuel in the fuel system remains under high pressure, even when the engine is not running. Failure to follow this instruction may result in serious personal injury.

WARNING: When handling fuel, always observe fuel handling precautions and be prepared in the event of fuel spillage. Spilled fuel may be ignited by hot vehicle components or other ignition sources. Failure to follow these instructions may result in serious personal injury.

NOTE: During the repair or replacement of fuel-related components, all liquid and vapor fuel openings must be capped, taped or otherwise appropriately protected to prevent the ingress of dirt or other contamination. All caps, tape and other protective materials must be removed prior to installation.

1. With the vehicle in NEUTRAL, position it on a hoist.

2. Release the fuel system pressure.

3. Disconnect the battery ground cable.

Explorer/Mountaineer

4. Remove the 3 bolts and the fuel filter heat shield.
- To install, tighten to 20 Nm (177 lb-in).


imageOpen In New TabZoom/Print


All vehicles

5. Remove the 2 nuts and the fuel filter shield.
- To install, tighten to 6 Nm (53 lb-in).


imageOpen In New TabZoom/Print


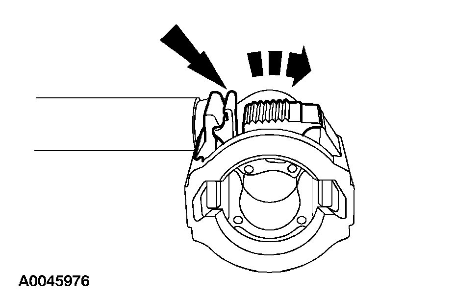
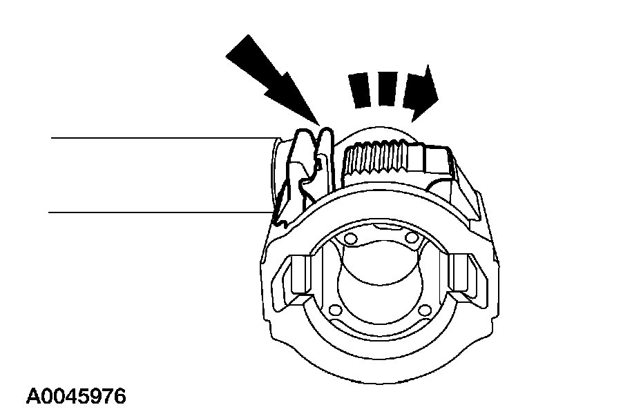
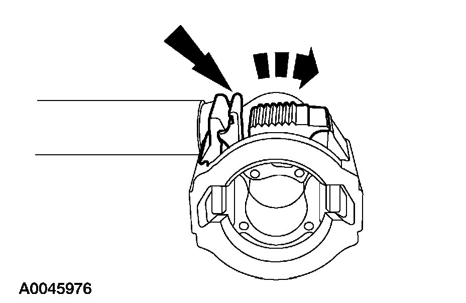
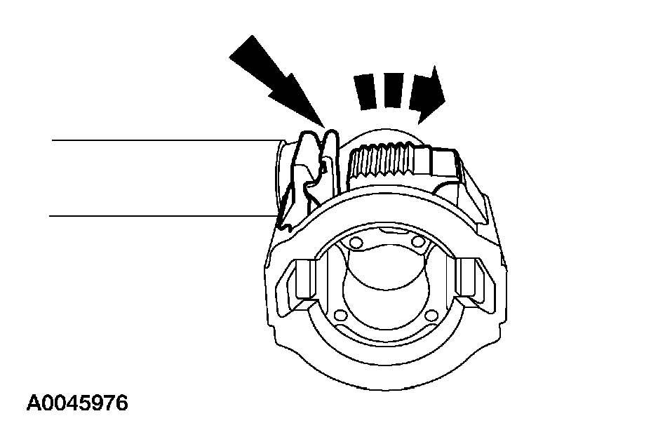
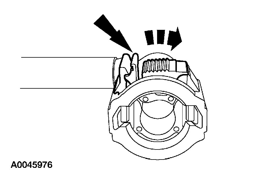
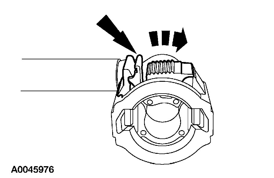
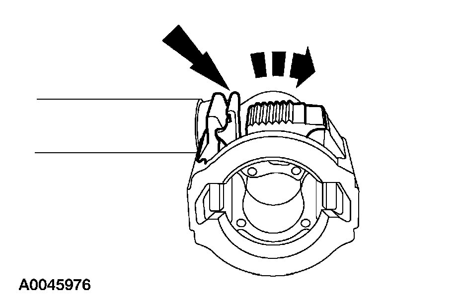
6. Disconnect the fuel supply tubes quick connect couplings.

7. Remove the fuel filter.

8. To install, reverse the removal procedure.

Check out the diagrams (Below). Please let us know if you need anything else to get the problem fixed.
Sep 10, 2019 at 2:50 PM
Advertisement
Avatar
94 TRANSAM
  • CAR REPAIR CONTRIBUTOR
  • 680 POSTS
Hi Gary, welcome to 2CarPros.

You will find a diagram below showing the fuel filter location. The fuel filter is number 5. If you need any further help please let us know.

Rich.
Sep 10, 2019 at 2:50 PM
Avatar
GARY NORDLAND
  • MEMBER
  • 2 POSTS
Where is fuel filter located?
Oct 7, 2020 at 1:10 PM (Merged)
Avatar
KASEKENNY
  • CAR REPAIR CONTRIBUTOR
  • 18,907 POSTS
Hi,

If you look on the passenger side under the front part of the front door, you will see the catalytic converter and the filter is behind the heat shield that is attached to the frame. That is where this procedure picks up. See attached for more detail.

If you still can't find it, let me know and I can get you more detail. Thanks
Oct 7, 2020 at 1:10 PM (Merged)
Avatar
DUKE35
  • MEMBER
  • 1 POST
2006 Ford Explorer 6 cyl Two Wheel Drive Automatic

i have a 06 ford explorer . i need to know where my fuel filter is located
Oct 7, 2020 at 1:10 PM (Merged)
Avatar
TECHS IN
  • MEMBER
  • 14 POSTS
Located on the right side on the far side of the frame, also has an aluminum or metal heat shield around it. This shield it usually held on by a strap or 2 bolts. The fuel lines require a special tool to remove them. Hope this helps! Be sure to release the fuel pressure at the port before removing the lines.
Oct 7, 2020 at 1:10 PM (Merged)
Avatar
STEVEN3622
  • MEMBER
  • 1 POST
location of the fuel filter please, I need to change it.
Oct 7, 2020 at 1:10 PM (Merged)
Avatar
DAVE H
  • CAR REPAIR CONTRIBUTOR
  • 13,384 POSTS
Hello,

The fuel filter is located near the front of the gas tank here is a guide to help walk you through changing it and the location of the filter with instruction on how to change it for your car below.


https://www.2carpros.com/articles/how-to-change-a-fuel-filter

and to undo the lines

https://youtu.be/Boi0DPXVHbM

Check out the diagrams (Below). Please let us know if you need anything else to get the problem fixed.
Oct 7, 2020 at 1:10 PM (Merged)
Avatar
NEIL N DEVON BRIDGES
  • MEMBER
  • 1 POST
Where is fuel filter?
Oct 7, 2020 at 1:10 PM (Merged)
Avatar
JACOBANDNICKOLAS
  • CAR REPAIR CONTRIBUTOR
  • 110,190 POSTS
Welcome to 2CarPros.

It is in front of the fuel tank behind a protection shield. See picture 1.

Here are the directions for fuel line/fuel filter replacement. The additional attached pictures correlate with the directions.

_______________________________________--

PROCEDURES
FUEL LINES AND FUEL FILTER


Disconnect Tool, Push Connect

pic 1



SPECIAL TOOL(S)

REMOVAL
1. With the vehicle in NEUTRAL, position it on a hoist.
2. Release the fuel system pressure.

3. WARNING:
- Do not smoke or carry lighted tobacco or open flame of any type when working on or near any fuel-related component. Highly flammable mixtures are always present and can be ignited, resulting in possible personal injury.
- Fuel in the fuel system remains under high pressure even when the engine is not running. Before servicing or disconnecting any of the fuel lines or fuel system components, the fuel system pressure must be relieved to prevent accidental spraying of fuel, which can cause personal injury or a fire hazard.

Disconnect the battery ground cable.

4. NOTE: This step is necessary for fuel tube removal and installation only.

Remove the transmission.



pic 2 and 3








5. Remove the parts in the order indicated in the illustration and table. To remove individual parts, only carry out the listed steps.

Items 1 and 2: Fuel Filter Shield and Nuts Removal Note



pic 4



1. Remove the nuts and the heat shield.

Items 3 and 7: Push Connect Fitting Removal Note


pic 5



1. WARNING:
- Do not smoke or carry lighted tobacco or open flame of any type when working on or near any fuel-related components. Highly flammable mixtures are always present and may be ignited, resulting in possible personal injury.
- Fuel in the fuel system remains under high pressure even when the engine is not running. Before servicing or disconnecting any of the fuel lines or fuel system components, the fuel system pressure must be relieved to prevent accidental spraying of fuel, which can cause personal injury or a fire hazard.

If equipped, disconnect the safety clip from the fuel tube.



pic 6



2. Install the special tool and press it into the fitting.



pic 7



3. Separate the fittings.

Item 4: Quick-Connect Fitting Removal Note



pic 8



1. WARNING:
- Do not smoke or carry lighted tobacco or open flame of any type when working on or near any fuel-related component. Highly flammable mixtures are always present an may be ignited, resulting in possible personal injury.
- Fuel in the fuel system remains under high pressure even when the engine is not running. Before servicing or disconnecting any of the fuel lines or fuel system components, the fuel system pressure must be relieved to prevent accidental spraying of fuel, which can cause personal injury or a fire hazard.

Unclip the tab.



pic 9



2. Depress the tabs and press the clip downward.



pic 10



3. Separate the fittings.

Items 6 and 8: Quick-Connect Fitting Removal Note



pic 11



1. CAUTION:
- Fuel injection equipment is manufactured to very precise tolerances and fine clearances. It is therefore essential that absolute cleanliness is observed when working with these components. Always install blanking plugs to any open orifices or tubes.
- When reusing liquid or vapor tube connectors, make sure to use compressed air to remove any foreign material from the connector retaining clip area before separating from the tube.

NOTE: If the fuel tube retainer clip is broken or damaged, install a new clip using a suitable fuel line disconnect tool to separate the retaining clip legs. Once the retainer legs have been separated, lift the clip out of the connector housing, lifting from the stamped side of the connector body.

Disconnect the quick-connect fitting.
- Push the connect toward the tube to release the pressure.
- Press the locking button and pull the fuel tube to disconnect.

INSTALLATION
1. To install, reverse the removal procedure.

Items 8 and 6: Quick-Connect Fitting Installation Note



pic 13



1. CAUTION:
- Fuel injection equipment is manufactured to very precise tolerances and fine clearances. It is therefore essential that absolute cleanliness is observed when working with these components. Always install blanking plugs to any open orifices or tubes.
- Make sure the quick-connect fitting clicks into place when installing the tube. To make sure that the quick-connect fitting is fully seated, pull on the tube.

NOTE:
- If the fuel tube retainer clip is broken or damaged, install a new clip using a suitable fuel line disconnect tool to separate the retaining clip legs. Once the retainer legs have been separated, lift the clip out of the connect housing, lifting from the stamped side of the connector body.
- Apply clean engine oil to the end of the tube before connecting the fitting.

Connect the quick-connect fitting.

Items 7 and 3: Push Connect Fitting Installation Note



pic 14



1. NOTE: Lubricate the fuel fitting with clean engine oil.

Align the fuel line fitting and press together until a click is heard.
- Pull on the fitting to make sure it is fully engaged. If equipped, install the safety clip.

___________________________

Let me know if this helps.

Take care,
Joe
Oct 7, 2020 at 1:11 PM (Merged)
Avatar
CYNTHIALYN
  • MEMBER
  • 1 POST
looking under the car, I can't locate my fuel filter. can you help
Oct 7, 2020 at 1:11 PM (Merged)
Avatar
RASMATAZ
  • CAR REPAIR CONTRIBUTOR
  • 75,992 POSTS
On the 2004 ford explorer the fuel filter is located under the vehicle on the passenger side near the rear of the passenger seat
Oct 7, 2020 at 1:11 PM (Merged)
Avatar
MCKINNIES
  • MEMBER
  • 1 POST
Where is the fuel filter located on my 2004 ford explorer.
Oct 7, 2020 at 1:11 PM (Merged)
Avatar
BLUELIGHTNIN6
  • CAR REPAIR CONTRIBUTOR
  • 16,542 POSTS
fuel filter is located on the leading edge of the fuel tank, on right side of vehicle, mounted behind the fuel filter shield
Oct 7, 2020 at 1:11 PM (Merged)
Avatar
RONNIEC56
  • MEMBER
  • 1 POST
where is the fuel filter located on this vehicle
Oct 7, 2020 at 1:11 PM (Merged)
Avatar
MERLIN2021
  • CAR REPAIR CONTRIBUTOR
  • 17,250 POSTS
Look on the frame, by the right rear tire, follow it to the front till you find it!
Oct 7, 2020 at 1:11 PM (Merged)
Avatar
CHAD HODSON
  • MEMBER
  • 1 POST
xlt 4x4 4.6l v8 Where is the location of the fuel filter?
Oct 7, 2020 at 1:11 PM (Merged)
Avatar
MIKE H R
  • CAR REPAIR CONTRIBUTOR
  • 3,094 POSTS
the fuel filter is on the frame under neath drivers side door, in front of the fuel tank, it is covered by a protective shield
Oct 7, 2020 at 1:11 PM (Merged)
Avatar
STEINZ21
  • MEMBER
  • 1 POST
I have a 2004 Explorer XLT 4.0 L v-6 flexfuel 4x4.

I can't locate the fuel filter. Can anyone help? The people at the parts stores keep saying it is along the frame rail. I have checked the frame rail, and it isn't there. On my old explorer (1996) that is where it was.
Oct 7, 2020 at 1:11 PM (Merged)
Avatar
PSNOWDEN
  • MEMBER
  • 2 POSTS
[quote:4a3be537fd="Steinz21"]I have a 2004 Explorer XLT 4.0 L v-6 flexfuel 4x4.

I can't locate the fuel filter. Can anyone help? The people at the parts stores keep saying it is along the frame rail. I have checked the frame rail, and it isn't there. On my old explorer (1996) that is where it was.[/quote:4a3be537fd]
the fuel filter will be on the inside of the frame next to the gas tank with a plastic clip on each end.
Oct 7, 2020 at 1:11 PM (Merged)
Avatar
MELISA WILLIAMS
  • MEMBER
  • 1 POST
Warranty problem
2004 Ford Explorer 6 cyl Four Wheel Drive Automatic

show me were a fuel filter for this truck is located
Oct 7, 2020 at 1:11 PM (Merged)
Avatar
BLUELIGHTNIN6
  • CAR REPAIR CONTRIBUTOR
  • 16,542 POSTS
It's located on the passenger side under the front seat and just inside the rail. it's located just outboard of the passenger side catalytic converter, there are 2 shiields to remove .
Oct 7, 2020 at 1:11 PM (Merged)
Avatar
JOYCE1258
  • MEMBER
  • 1 POST
where exactly is the fuel filter located
Oct 7, 2020 at 1:11 PM (Merged)
Avatar
BLUELIGHTNIN6
  • CAR REPAIR CONTRIBUTOR
  • 16,542 POSTS
Your fuel filter is located under the vehicle on the leading edge of the fuel tank, behind the fuel filter shield...mounted in a bracket.
Oct 7, 2020 at 1:11 PM (Merged)
Avatar
JOYCEG1258
  • MEMBER
  • 3 POSTS
thank you for your response. we found the location and we had a heck of a time getting the old one out, but we finally did and the new one is in its place. I have my fingers crossed that my problems have now been solved.
Oct 7, 2020 at 1:11 PM (Merged)
Avatar
NANCY
  • MEMBER
  • 1 POST
where is located the fuel filter?
Oct 7, 2020 at 1:12 PM (Merged)
Avatar
RASMATAZ
  • CAR REPAIR CONTRIBUTOR
  • 75,992 POSTS
See below:

Oct 7, 2020 at 1:12 PM (Merged)
Avatar
FIXITMR
  • CAR REPAIR CONTRIBUTOR
  • 9,990 POSTS
is there something wrong with your vehicle? the most unsuccessful advice to car problems is change the fuel filter. i would estimate that 99% of the time it is a waste of time/money. the filter can be checked for blockage by disconnecting at motor end and turning pump on and watch the flow of fuel. unless it just dribbles out the filter is not clogged. and if it does dribble out it could mean a bad fuel pump instead of a bad filter.
and you also should know that you must releive the fuel pressure in system before trying to change filter. and it requires a special tool to release the couplings.
Oct 7, 2020 at 1:12 PM (Merged)
Avatar
FIXITMR
  • CAR REPAIR CONTRIBUTOR
  • 9,990 POSTS
the filter is located under passebger side in front of gas tank. there is a metal heat shield to be removed first and then a plastic 1 to gain access to filter.
Oct 7, 2020 at 1:12 PM (Merged)