Friday, August 7th, 2009 AT 12:02 PM
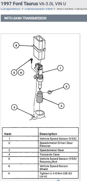
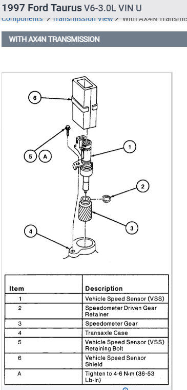
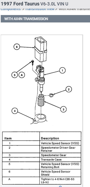
I have a 1998 Ford Taurus and been having problem shifting gears. The car only does this when I drive out of the driveway. It takes a while before it shifts gears. After a few miles, I get on the freeway and it runs shifts normally and drives smooth on the freeway. It seems it does this when the engine is cold. Also, the speedometer stopped working, problably related to the shifting of gears problem. Is the problem the transmission or some sensor?








