Friday, June 18th, 2010 AT 12:42 PM
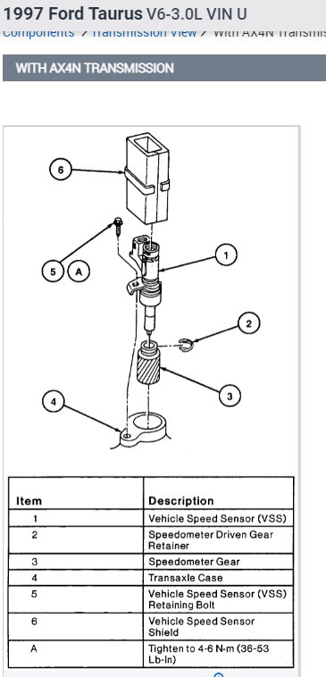
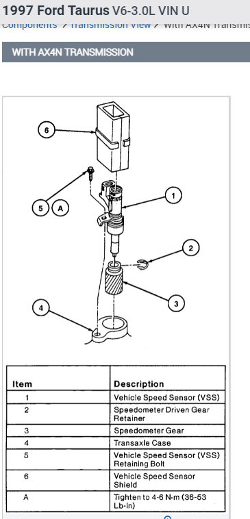
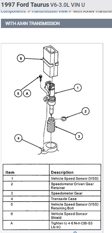
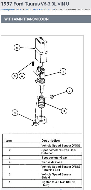
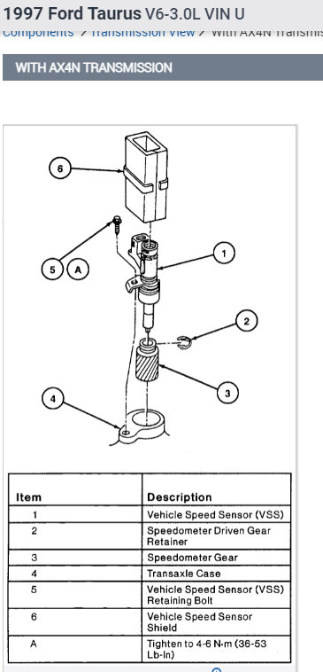
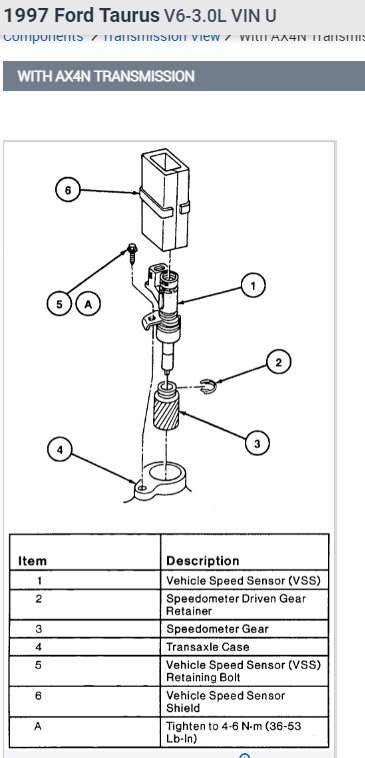
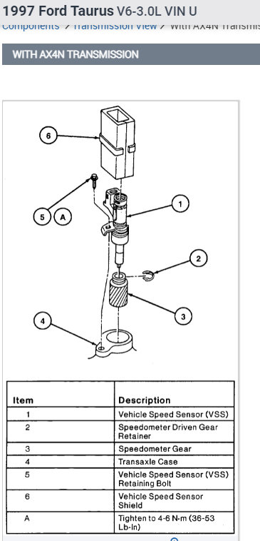
97 taurus 3.0 l. Car starts fine, but when putting in gear nothing happens at all. No sign of gear engagement at all. Put a volt meter on tr sensor & it gets power. Can't find vss on transaxle, have haynes book but picture doesn't tell much. Do I need to put car on jack stands to find vss to test w/ volt meter? Have looked at diff. Websites but not much help. Any help would be greatly appreciated. Thank you








