Firing and spark plug wire order?

Tiny
JAGRANER
  • MEMBER
  • 2007 FORD RANGER
Trying to figure out the firing and spark plug wire order?
Sunday, September 19th, 2010 AT 8:55 PM

37 Replies

Tiny
RASMATAZ
  • MECHANIC
  • 75,992 POSTS
"AllData Editors Note: Customers have reported success using the following spark plug wire placement on the coil pack."


https://www.2carpros.com/forum/automotive_pictures/12900_fo_154.jpg


Firing order 1-4-2-5-3-6
Was this
answer
helpful?
Yes
No
+33
Saturday, August 10th, 2019 AT 12:46 PM
Tiny
OBIROBIN
  • MEMBER
  • 1 POST
  • 2004 FORD RANGER
  • 3.0L
  • 6 CYL
  • 2WD
  • MANUAL
  • 200,000 MILES
Cranks but will not start. Can you tell me the firing order and which cylinder is number one?
Was this
answer
helpful?
Yes
No
+5
Wednesday, June 9th, 2021 AT 1:56 PM (Merged)
Tiny
KEN L
  • MASTER CERTIFIED MECHANIC
  • 55,522 POSTS
Hello,

This sounds like it can be the crankshaft angle sensor. Here is the information you needed and a guide to help us see what else can be wrong:

https://www.2carpros.com/articles/car-cranks-but-wont-start

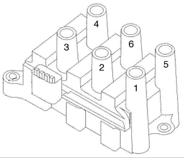
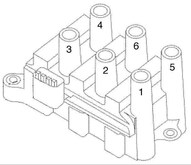
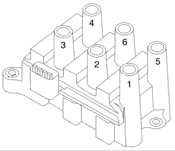
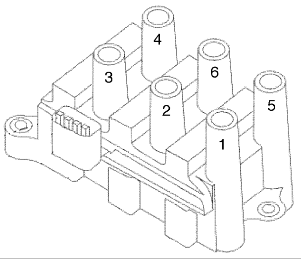
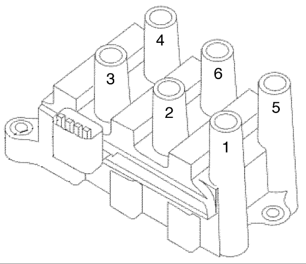
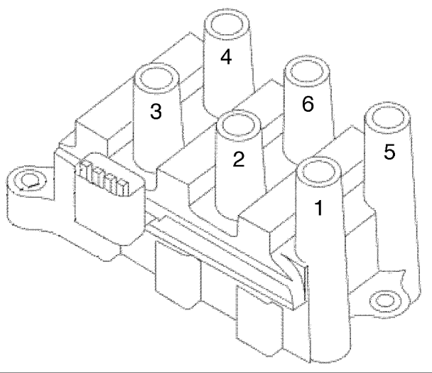
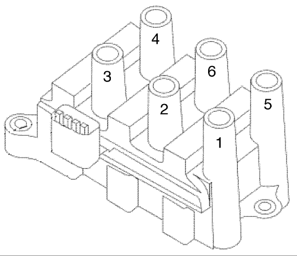
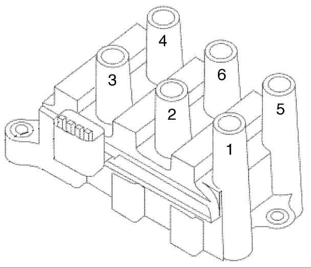
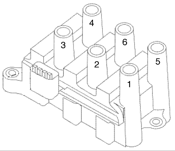
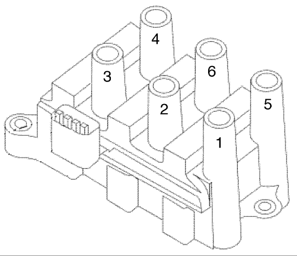
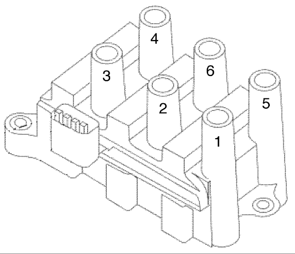
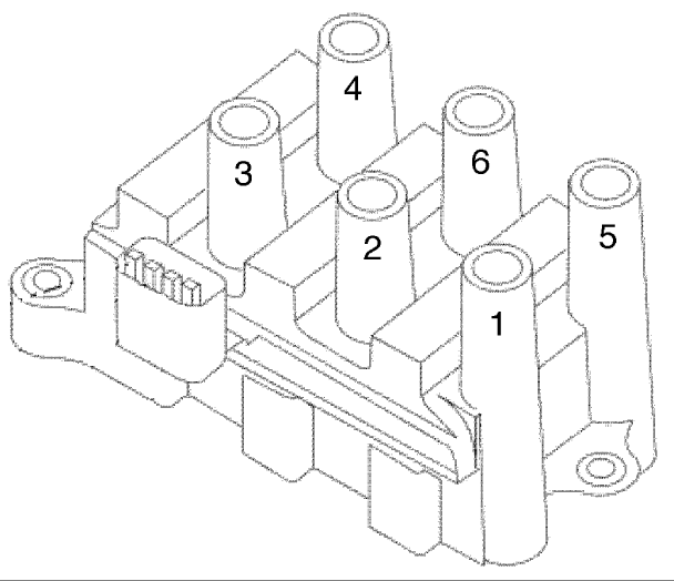
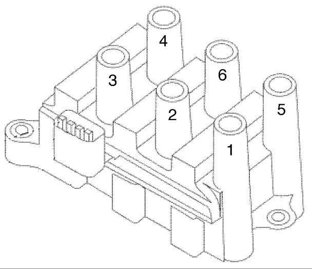
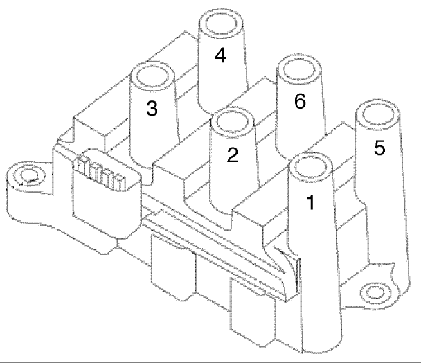
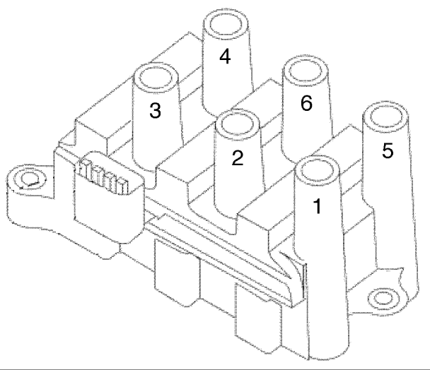
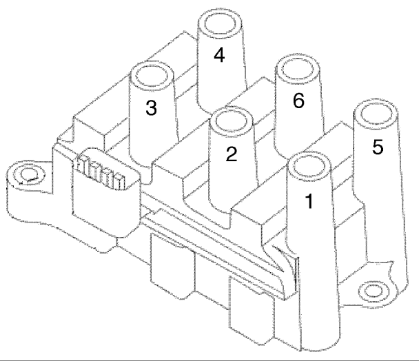
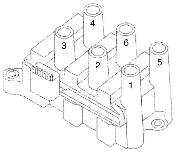
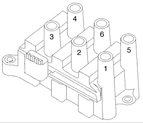
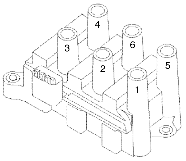
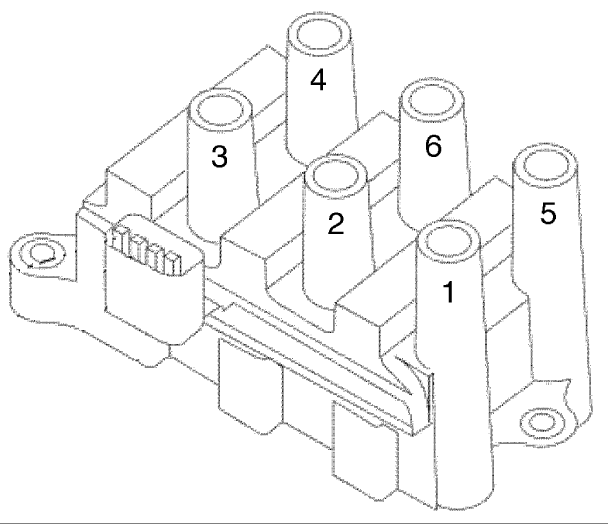
Firing order 1-4-2-5-3-6.

Check out the diagrams (below).

Please let us know what you find. We are interested to see what it is.

Cheers, Ken
Was this
answer
helpful?
Yes
No
+18
Wednesday, June 9th, 2021 AT 1:56 PM (Merged)
Tiny
JEAN.BANNON
  • MEMBER
  • 1 POST
  • 2001 FORD RANGER
  • 6 CYL
  • 4WD
  • AUTOMATIC
  • 167,000 MILES
Which one is no. Five cylinder
Was this
answer
helpful?
Yes
No
+2
Wednesday, June 9th, 2021 AT 1:56 PM (Merged)
Tiny
BMRFIXIT
  • MECHANIC
  • 19,053 POSTS


https://www.2carpros.com/forum/automotive_pictures/99387_Graphic2_283.jpg

Was this
answer
helpful?
Yes
No
-1
Wednesday, June 9th, 2021 AT 1:56 PM (Merged)
Tiny
USNAVY
  • MEMBER
  • 1 POST
  • 2001 FORD RANGER
  • 6 CYL
  • AUTOMATIC
  • 120,655 MILES
V6 FIRING ORDER
Was this
answer
helpful?
Yes
No
+3
Wednesday, June 9th, 2021 AT 1:56 PM (Merged)
Tiny
RASMATAZ
  • MECHANIC
  • 75,992 POSTS
V6 Firing Order: 1 4 2 5 3 6
Was this
answer
helpful?
Yes
No
+21
Wednesday, June 9th, 2021 AT 1:56 PM (Merged)
Tiny
RASMATAZ
  • MECHANIC
  • 75,992 POSTS
Block
Was this
answer
helpful?
Yes
No
+21
Wednesday, June 9th, 2021 AT 1:56 PM (Merged)
Tiny
AF
  • MEMBER
  • 1 POST
  • 2000 FORD RANGER
Do I need a special tool to replace the 02sensor? Do I need to drop the exhaust pipes to do it too? I am trying to find out what I am up against before I start the project. I was told the by the emissions tech that the "bank 1 sensor 1" was bad. I went and purchased the sensor and was told by the friendly parts pro that bank one is on the side that the #1 cylinder is on, passenger side, or if your Ford dextrous, left side. Have I been given the proper info or have I been fed a load?
Was this
answer
helpful?
Yes
No
+3
Wednesday, June 9th, 2021 AT 1:56 PM (Merged)
Tiny
MERLIN2021
  • MECHANIC
  • 17,250 POSTS
On 3.0 and 3.3 its the passengerside....02 is the first one you come to closest to the block, there is a socket made for the job, how much help it will be? They either come out easy, or they pull threads with em!


https://www.2carpros.com/forum/automotive_pictures/62217_FD3_1.jpg


Firing order for 3.3 is 1-2-3-4-5-6


https://www.2carpros.com/forum/automotive_pictures/62217_FD33_1.jpg

Was this
answer
helpful?
Yes
No
+4
Wednesday, June 9th, 2021 AT 1:56 PM (Merged)
Tiny
SHAGGYMAGGIE
  • MEMBER
  • 1 POST
  • 2000 FORD RANGER
  • 6 CYL
  • 2WD
  • AUTOMATIC
  • 120,000 MILES
My husband is trying to figure out the firing order for spark plug replacment and also wires looked at a few diagrrams but could'nt make sence out of it. Needless to say he is a bk yard mechanic in what particular order do the plugs and wires go? Don't know where plug # 1 goes front or back, pls help we don't have money for mechanic disabled and he can't read. Any help would be greatly appreciated
Was this
answer
helpful?
Yes
No
+4
Wednesday, June 9th, 2021 AT 1:56 PM (Merged)
Tiny
BLUELIGHTNIN6
  • MECHANIC
  • 16,542 POSTS
3.0L and 4.0L Engines
Firing order: 1-4-2-5-3-6
Distributorless ignition system


https://www.2carpros.com/forum/automotive_pictures/261618_0900c152801f14b7_1.jpg



Let me know if your engine size is different than 3.0L or 4.0L as this will change the firing order sequence..

Thanks for using 2CarPros.com!
Was this
answer
helpful?
Yes
No
+23
Wednesday, June 9th, 2021 AT 1:56 PM (Merged)
Tiny
CODFISH25
  • MEMBER
  • 2 POSTS
  • 2000 FORD RANGER
Need to see firing order
Was this
answer
helpful?
Yes
No
+1
Wednesday, June 9th, 2021 AT 1:56 PM (Merged)
Tiny
RASMATAZ
  • MECHANIC
  • 75,992 POSTS


https://www.2carpros.com/forum/automotive_pictures/12900_s2_56.jpg




https://www.2carpros.com/forum/automotive_pictures/12900_s1_62.jpg



V6 Firing Order: 1 4 2 5 3 6
Was this
answer
helpful?
Yes
No
+17
Wednesday, June 9th, 2021 AT 1:57 PM (Merged)
Tiny
JOHNISFORU2
  • MEMBER
  • 1 POST
  • 2000 FORD RANGER
I need a diagram of the firing order and cylinder numbers for a 3.0 V6
Was this
answer
helpful?
Yes
No
+1
Wednesday, June 9th, 2021 AT 1:57 PM (Merged)
Tiny
JACOBANDNICKOLAS
  • MECHANIC
  • 110,194 POSTS
Coil pack need to be spun 180° to have the correct firing order on some models.


https://www.2carpros.com/forum/automotive_pictures/249084_5_1.gif



I was able to find this for you. Let me know if it helps. Crank sensor location is attached below, in case you need it.
Was this
answer
helpful?
Yes
No
+18
Wednesday, June 9th, 2021 AT 1:57 PM (Merged)
Tiny
JSJEIH4
  • MEMBER
  • 1 POST
  • 2000 FORD RANGER
  • 2.3L
  • 4 CYL
  • 2WD
  • MANUAL
  • 231,000 MILES
Trying to figure out the spark plugs wiring diagram so I can change my spark plugs correctly. Any pictures would be greatly appreciated.
Was this
answer
helpful?
Yes
No
+1
Wednesday, June 9th, 2021 AT 1:57 PM (Merged)
Tiny
ASEMASTER6371
  • MECHANIC
  • 52,796 POSTS
Good morning,

I attached a picture of the firing order and the location of the wires for installation for you below.

https://www.2carpros.com/articles/how-to-change-spark-plugs

Let us know if you have any other questions.

Roy
Was this
answer
helpful?
Yes
No
+4
Wednesday, June 9th, 2021 AT 1:57 PM (Merged)
Tiny
BKM97423
  • MEMBER
  • 51 POSTS
  • 1998 FORD RANGER
  • 2.3L
  • 4 CYL
  • 2WD
  • MANUAL
  • 100,000 MILES
I asked you some questions last week about my truck. I ran in to high water going 55 mph and was able to drive it home but it wouldn't go over 30-40 mph. Next day it wouldn't start. I have got it started one time since then but I ran in my house to grab something and it shut off when I was in the house and wont start since. Okay, I have replaced plugs, wires, distributor cap, rotor, fuel filter, ignition coil and coil wire. I didn't put on new parts two guys did and I'm not confident in their ability so I am going to check the firing order for plug wires on distributor cap. Can you please tell me the proper firing order for my truck listed above. It only has four spark plugs not eight. Also, how do I take off throttle body to expose butterfly so I can spray starting fluid in it to try to get it to fire up? Thank you very much, Brenda Merritt.
Was this
answer
helpful?
Yes
No
+2
Wednesday, June 9th, 2021 AT 1:57 PM (Merged)
Tiny
ASEMASTER6371
  • MECHANIC
  • 52,796 POSTS
Good morning, I attached a picture below for the wire arrangement on the coils. Roy
Was this
answer
helpful?
Yes
No
+1
Wednesday, June 9th, 2021 AT 1:57 PM (Merged)

Please login or register to post a reply.