Sunday, August 16th, 2009 AT 12:40 PM
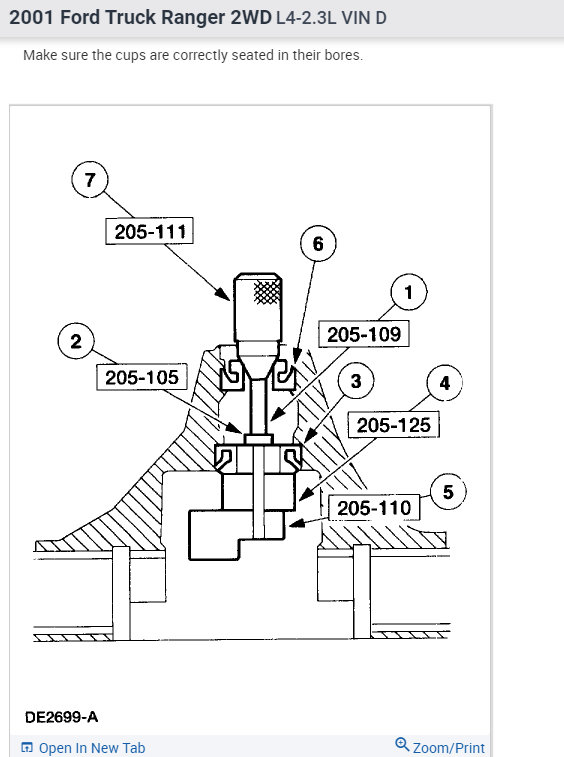
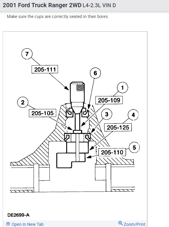
Hi i'm new here. Found gear and pinion spoil. Bought new one and installed, I when to normal workshop to get it done. Still having little sound while I drive. Service center charges very high. Where can I get the proper drawing and installation guide. Already tried few website, useless. Coz I don't know which type gear is in my car. On my old set written there DANA T48884 420 40-9 IN THE RING GEAR and DANA 48883 F7L350 40-9. The serial numbers does not match.





















