Starter replacement?

Tiny
JAMESDAVIS52
  • MEMBER
  • 2004 FORD F-150
  • V8
  • 4WD
  • AUTOMATIC
  • 100,000 MILES
How many bolts do I need to take off to remove the starter?
Thursday, July 16th, 2009 AT 10:07 PM

33 Replies

Tiny
BLUELIGHTNIN6
  • MECHANIC
  • 16,542 POSTS
Here is a guide to help you step by step with instructions in the diagrams below to show you how on your car.

https://www.2carpros.com/articles/how-to-replace-a-starter-motor

Check out the diagrams (Below). Please let us know if you need anything else to get the problem fixed.


https://www.2carpros.com/forum/automotive_pictures/261618_Noname_689.jpg

Was this
answer
helpful?
Yes
No
+2
Thursday, July 16th, 2009 AT 10:14 PM
Tiny
PAUL BILLADO
  • MEMBER
  • 1 POST
  • 2004 FORD F-150
  • V8
  • 4WD
  • AUTOMATIC
  • 50,000 MILES
What are the steps to removing the starter.
Was this
answer
helpful?
Yes
No
Wednesday, January 20th, 2021 AT 12:46 PM (Merged)
Tiny
M8TRIX01
  • MEMBER
  • 36 POSTS
First disconect the negative battery terminal. Then you will need to get under the vehicle and remove the wires on the back of the starter. Remember which wires go where if more than two. Next remove the ataching bolts, should be two, one on either side of the front end of the starter. Then the starter should come out. Reverse the prcedure to reinstall.
Was this
answer
helpful?
Yes
No
+1
Wednesday, January 20th, 2021 AT 12:46 PM (Merged)
Tiny
KYBOY90
  • MEMBER
  • 2 POSTS
  • 2003 FORD F-150
  • 5.4L
  • V8
  • 2WD
  • AUTOMATIC
  • 273,600 MILES
My truck shut off while I was sitting in a drive thru, put it in park to start it back up and got nothing. One click every time I turn the ignition. Tried jumping and still the same. Stuck a screw drive to the firewall and got sparks but still wouldn't start the engine. Any suggestions?
Was this
answer
helpful?
Yes
No
Wednesday, January 20th, 2021 AT 12:46 PM (Merged)
Tiny
ASEMASTER6371
  • MECHANIC
  • 52,796 POSTS
Good afternoon,

The click, is it coming from the starter motor?

https://www.2carpros.com/articles/starter-not-working-repair

Try tapping it with a hammer and see if it starts.

I attached a wiring diagram for you. Do you have a test light for testing?

Roy
Was this
answer
helpful?
Yes
No
-1
Wednesday, January 20th, 2021 AT 12:46 PM (Merged)
Tiny
KYBOY90
  • MEMBER
  • 2 POSTS
I do not have light.
Was this
answer
helpful?
Yes
No
-1
Wednesday, January 20th, 2021 AT 12:46 PM (Merged)
Tiny
ASEMASTER6371
  • MECHANIC
  • 52,796 POSTS
You need to get one so we can do some testing.

Roy
Was this
answer
helpful?
Yes
No
Wednesday, January 20th, 2021 AT 12:46 PM (Merged)
Tiny
RACECARNUT1488
  • MEMBER
  • 1 POST
  • 2001 FORD F-150
  • 4.6L
  • V8
  • 2WD
  • AUTOMATIC
  • 360,000 MILES
Truck died all I heard was a click I cleaned wires it rolled over but slow then the starter caught fire.I put new starter in it it started but starter stayed engaged and started smoking shut the truck off would not start could here starter spinning but thats all changed solonoid and another starter same thing
Was this
answer
helpful?
Yes
No
+1
Wednesday, January 20th, 2021 AT 12:47 PM (Merged)
Tiny
HMAC300
  • MECHANIC
  • 48,601 POSTS
Check for a sticky starter relay
Was this
answer
helpful?
Yes
No
Wednesday, January 20th, 2021 AT 12:47 PM (Merged)
Tiny
TNDIHB03
  • MEMBER
  • 2 POSTS
  • 2000 FORD F-150
Electrical problem
2000 Ford F150 V8 Four Wheel Drive Automatic

how to remove the starter
Was this
answer
helpful?
Yes
No
+1
Wednesday, January 20th, 2021 AT 12:47 PM (Merged)
Tiny
DAVE H
  • MECHANIC
  • 13,384 POSTS
STARTER MOTOR
Removal & Installation
Disconnect negative battery cable. Raise and support vehicle. Remove starter solenoid terminal cover. Disconnect starter solenoid wire connections. On 4.2L engines, remove starter motor mounting nut and ground cable. On all engines, remove starter motor mounting bolts. Remove starter motor. To install, reverse removal procedure. Ensure negative battery cable is installed in proper location. Tighten fasteners to specification.


https://www.2carpros.com/forum/automotive_pictures/266999_starter_3.jpg

Was this
answer
helpful?
Yes
No
-2
Wednesday, January 20th, 2021 AT 12:47 PM (Merged)
Tiny
W. SCOTT LAFFERTY
  • MEMBER
  • 2 POSTS
  • 2000 FORD F-150
  • V8
  • 4WD
  • AUTOMATIC
  • 128,645 MILES
Suspect starter solenoid is bad as I tried to start truck no clicking from solenoid or other sound could be heard. Engine would not start retried to start got 1 click from solenoid.
Was this
answer
helpful?
Yes
No
+1
Wednesday, January 20th, 2021 AT 12:47 PM (Merged)
Tiny
DANNY L
  • MECHANIC
  • 5,648 POSTS
Hello, I'm Danny.

Yes, it sounds like you are having an issue with the starter solenoid on the starter motor. Here are a few tutorials for you to view about starter function and replacement:

https://www.2carpros.com/articles/how-a-starter-and-solenoid-works

https://www.2carpros.com/articles/how-to-replace-a-starter-motor

I've attached picture steps below for the replacement of your starter motor on your truck below. Hope this helps and thanks for using 2CarPros.
Was this
answer
helpful?
Yes
No
Wednesday, January 20th, 2021 AT 12:47 PM (Merged)
Tiny
MIKEMOSS65605
  • MEMBER
  • 1 POST
  • 1998 FORD F-150
  • V8
  • 4WD
  • AUTOMATIC
  • 150,000 MILES
I just replaced the starter on my truck and when I went to start it, it sounds like its hung up. It wont crank over like its in a bind or spinning the wrong way
Was this
answer
helpful?
Yes
No
Wednesday, January 20th, 2021 AT 12:47 PM (Merged)
Tiny
BLUELIGHTNIN6
  • MECHANIC
  • 16,542 POSTS
Ensure it was installed correctly. Were there any shims between starter and flywheel originally? It may need some shims, especially if you didn't buy the dealer brand starter.
Was this
answer
helpful?
Yes
No
Wednesday, January 20th, 2021 AT 12:47 PM (Merged)
Tiny
RHORNE18
  • MEMBER
  • 1 POST
  • 1997 FORD F-150
  • 6 CYL
  • 2WD
  • AUTOMATIC
  • 97,000 MILES
On my f150 I was able to get all the bolts off my starter besides the one on the top. It seems impossible to reach and there must be a tool for getting to that bolt, but im not sure what it is. If you have any tips or pointers thatd be great.

Thanks alot!

Ryan
Was this
answer
helpful?
Yes
No
+1
Wednesday, January 20th, 2021 AT 12:49 PM (Merged)
Tiny
JACOBANDNICKOLAS
  • MECHANIC
  • 110,194 POSTS
How many bolts have you removed? Have you tried to access it through the inner fender? There are only two bolts that hold it on.

Are you sure the starter is bad? Here is a way to test it:

The battery must be in good condition and fully charged prior to performing this test.

1.Disable the ignition system. Verify that the vehicle will not start.
2.Connect a voltmeter between the positive terminal of the battery and the starter B+ circuit.
3.Turn the ignition key to the START position and note the voltage on the meter.
4.If voltage reads 0.5 volts or more, there is high resistance in the starter cables or the cable ground, repair as necessary. If the voltage reading is ok proceed to the next step.
5.Connect a voltmeter between the positive terminal of the battery and the starter M circuit.
6.Turn the ignition key to the START position and note the voltage on the meter.
7.If voltage reads 0.5 volts or more, there is high resistance in the starter. Repair or replace the starter as necessary.

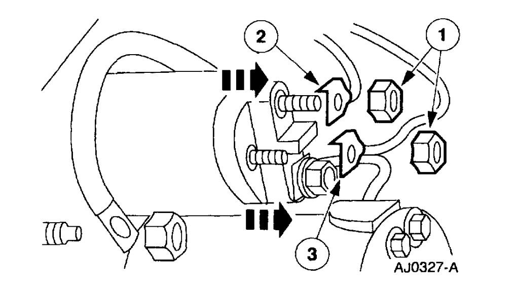
Also, here is a picture of the three bolts that hold the starter in place (number 1 is pointing to two different bolts). Also, have you removed the starter terminal cover?


https://www.2carpros.com/forum/automotive_pictures/249084_start_1.jpg



Let me know if this helps or if you have other questions.

Joe
Was this
answer
helpful?
Yes
No
+1
Wednesday, January 20th, 2021 AT 12:49 PM (Merged)
Tiny
TINA M MORGAN
  • MEMBER
  • 1 POST
  • 1997 FORD F-150
  • 4.8L
  • V8
  • 4WD
  • AUTOMATIC
  • 166,000 MILES
No problems starting until last night. It would click once. The lights etc, stayed bright while trying it. Tried hammer trick. No good. Cleaned connectors n battery terminals. No change. Pressed brake while going from park to neutral. Tried but no start with the one cluck. Click is from top of starter solenoid? Cables look good. Little wire bare. Is that normal? Jumped the starter finally started. Today no start again.
Must add that I did notice yesterday that shifter seemed more difficult or different when shifting it. Automatic transmission.
If you could help we would truly appreciate it. Thank you

Also. Now tonight we did the bypass thing and it did not work. Weather has been really cold snowy and 50 mph wind gusts here. I don't know if that would cause problems or not.
Was this
answer
helpful?
Yes
No
Wednesday, January 20th, 2021 AT 12:49 PM (Merged)
Tiny
JACOBANDNICKOLAS
  • MECHANIC
  • 110,194 POSTS
Hi and thanks for using 2CarPros.

Truly, it sounds like a bad starter. What I need you to do is follow this link. It shows how to determine if the starter is bad.

https://www.2carpros.com/articles/starter-not-working-repair

As far as the wire that you mentioned, I have no idea which wire it is. If you could upload a picture, it would be helpful.

If you determine the starter is bad, here is a link that shows how one is replaced:

https://www.2carpros.com/articles/how-to-replace-a-starter-motor

Here are directions specific to your vehicle. The attached pictures correlate with these directions.

REMOVAL AND INSTALLATION
REMOVAL

Warning: when performing maintenance on the starting system be aware that heavy gauge leads are connected directly to the battery. Make sure protective caps are in place when maintenance is complete.

Picture 1

1. Disconnect the battery ground cable.
2. Raise and support the vehicle.

Warning: the electrical power to the air suspension system must be shut off prior to hoisting, jacking or towing an air suspension vehicle. This can be accomplished by turning off the air suspension switch located in the rh kick panel area. Failure to do so may result in unexpected inflation or deflation of the air springs which may result in shifting of the vehicle during these operations.

Picture 2

3. Remove the starter motor solenoid terminal cover

The 4.6L Engine Is Shown; The 4.2L Engine Is Similar

Picture 3

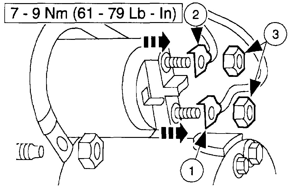
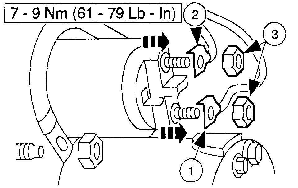
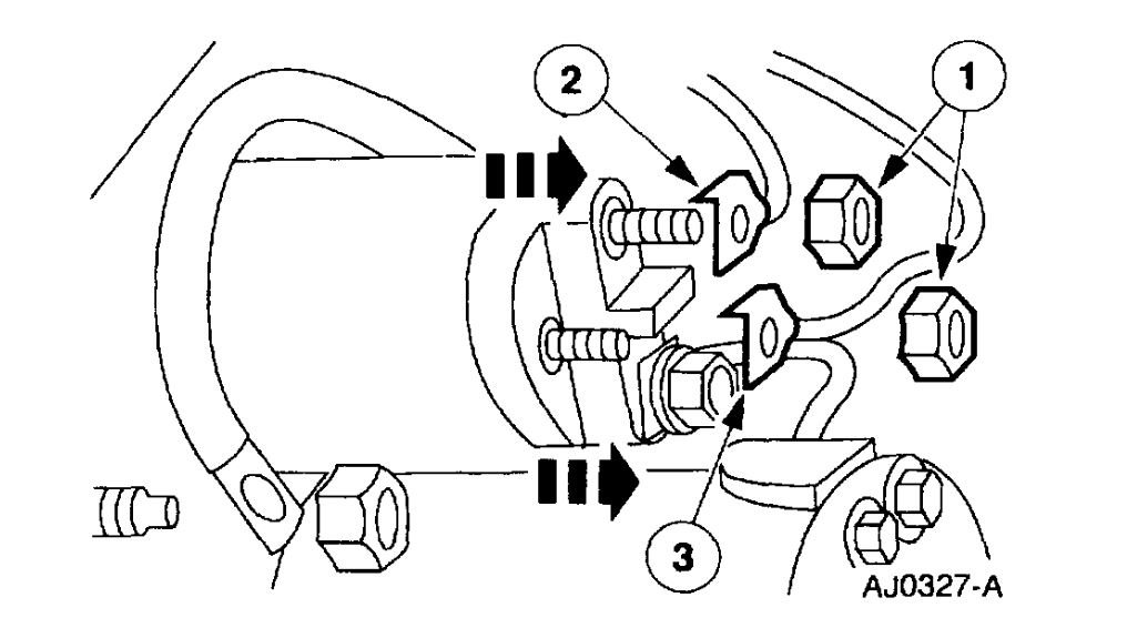
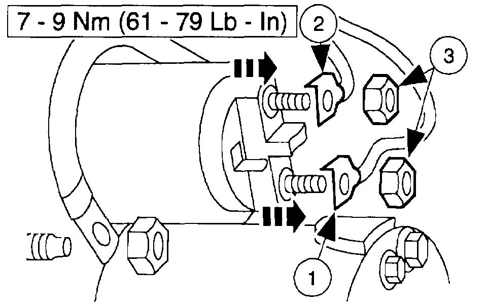
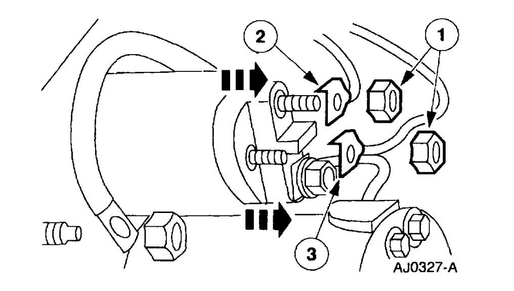
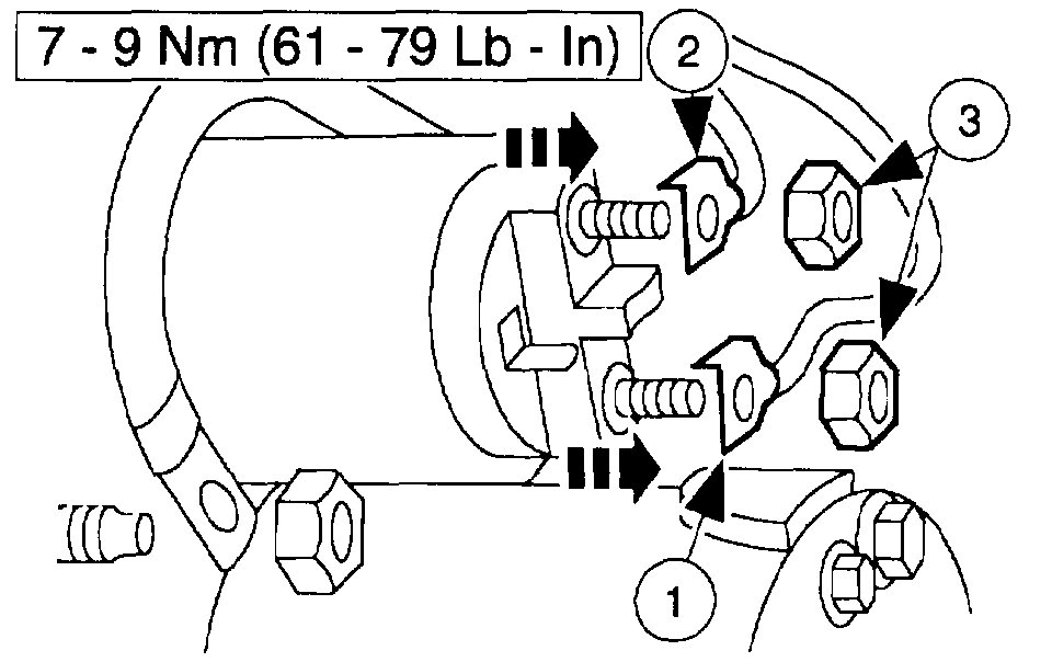
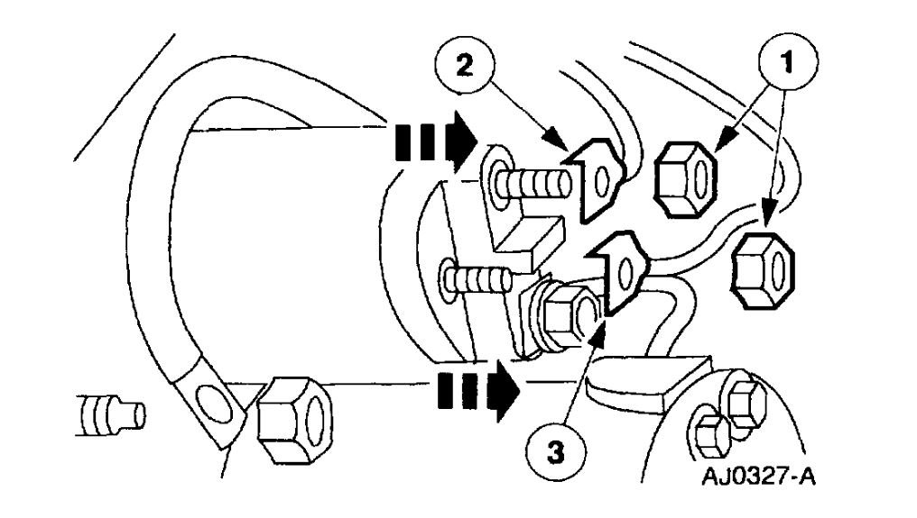
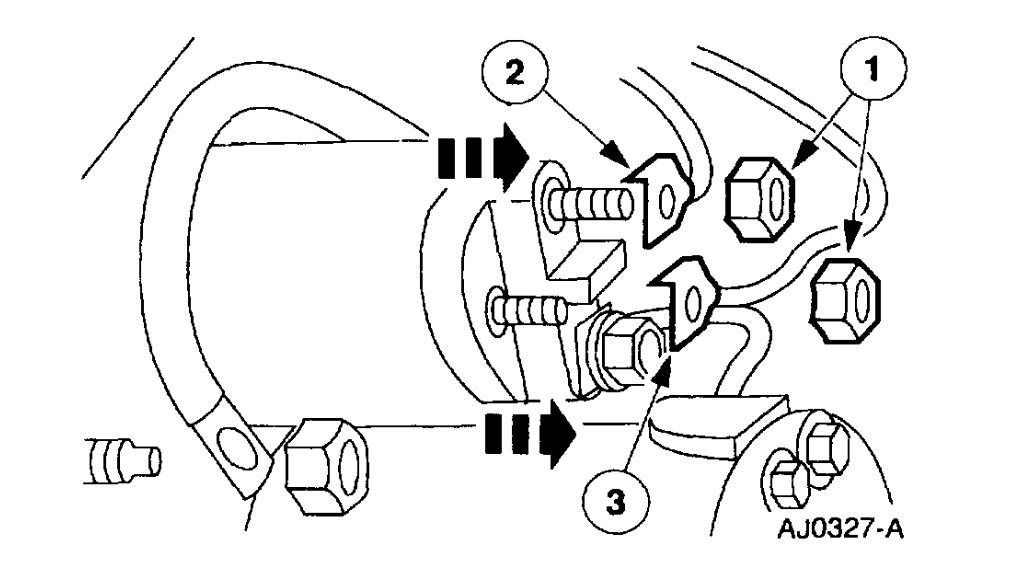
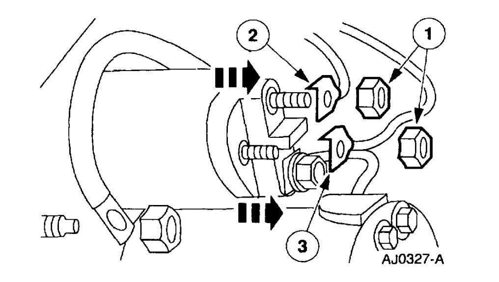
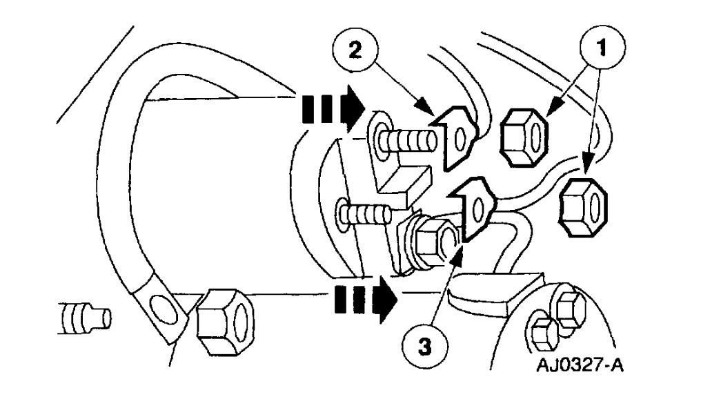
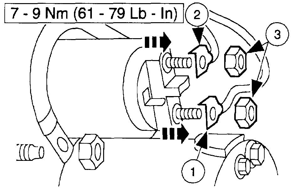
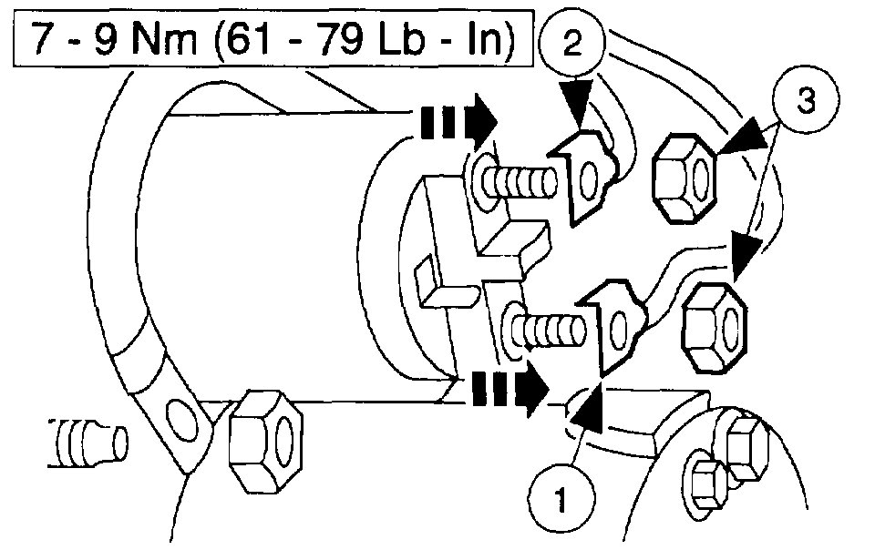
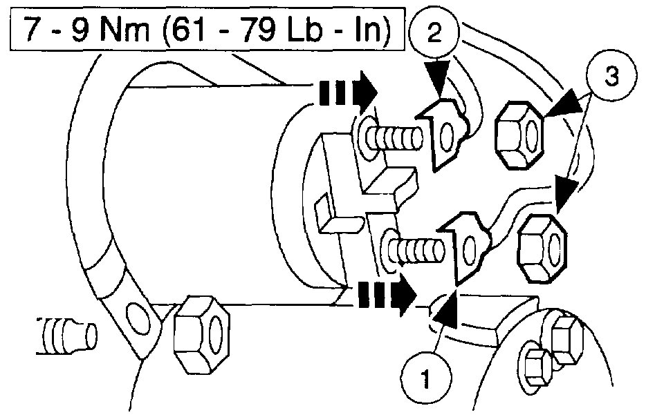
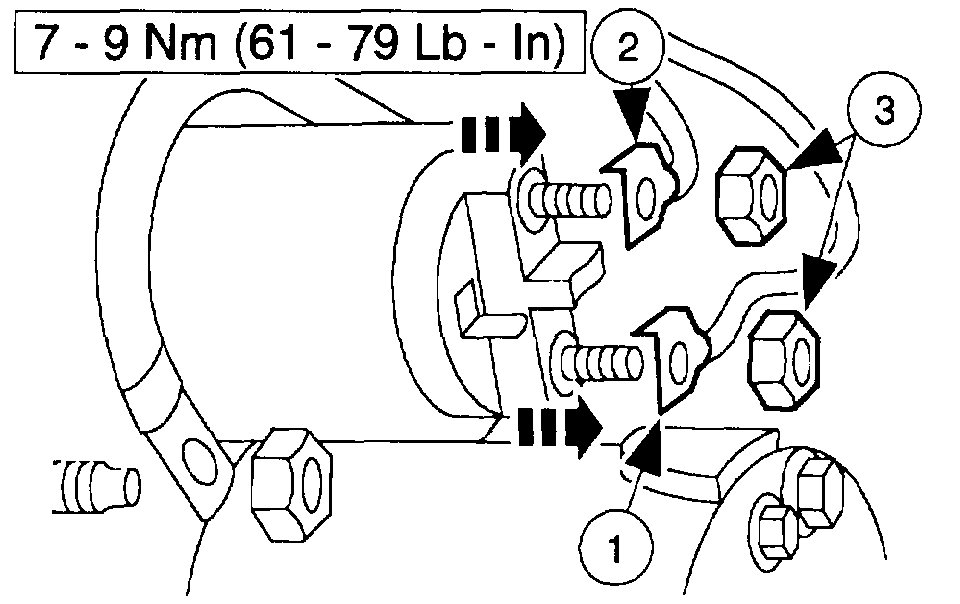
4. Disconnect the starter motor electrical connections.
1 Remove the nuts.
2 Remove the battery cable.
3 Remove the starter solenoid wire.

The 4.6L Engine Is Shown; The 4.2L Engine Is Similar

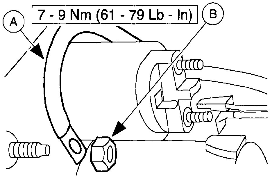
Picture 4

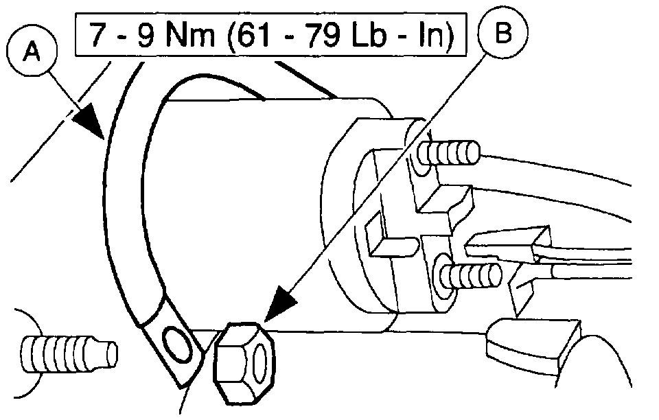
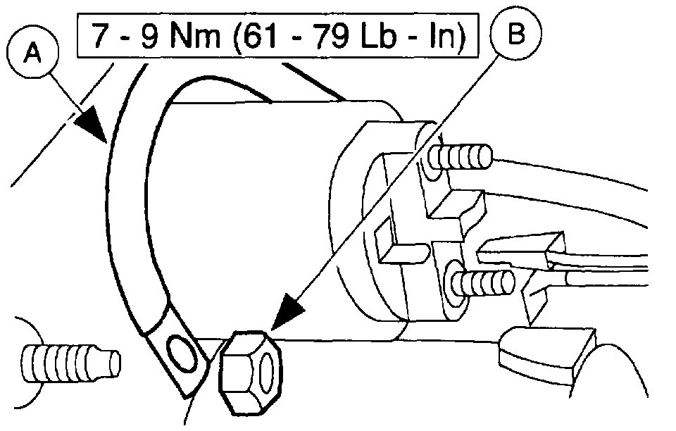
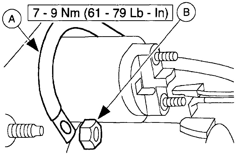
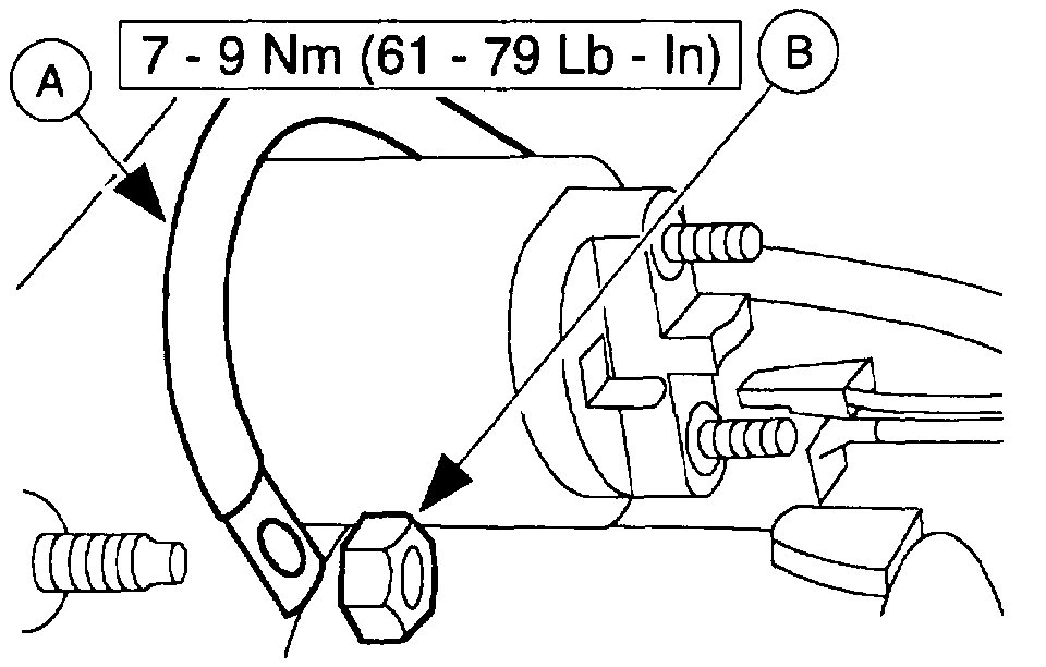
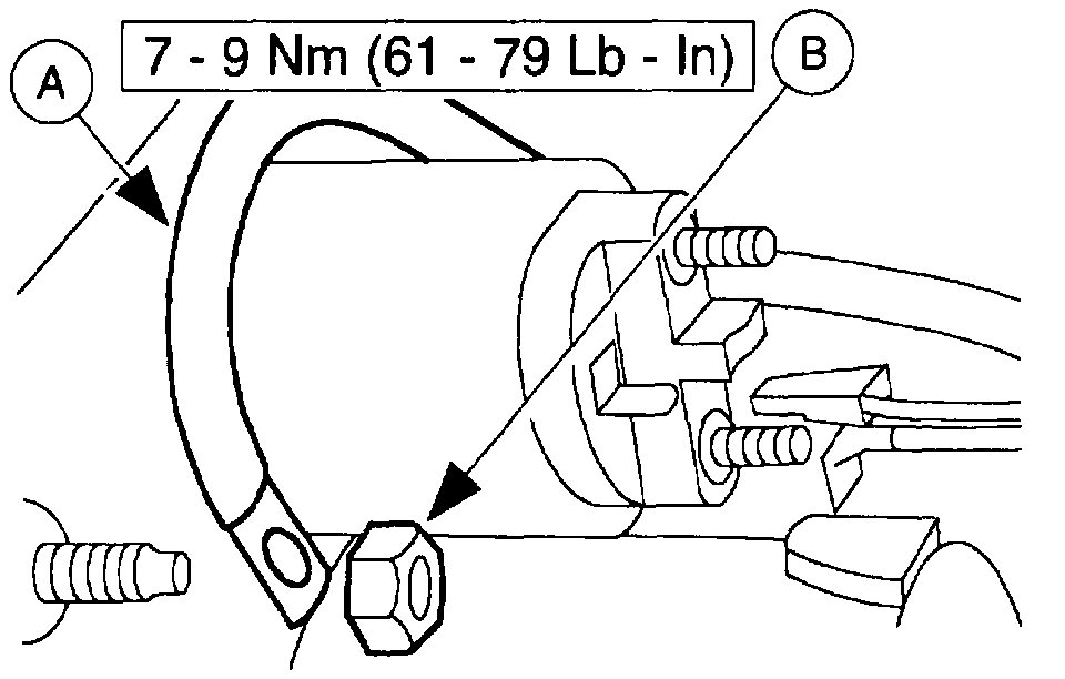
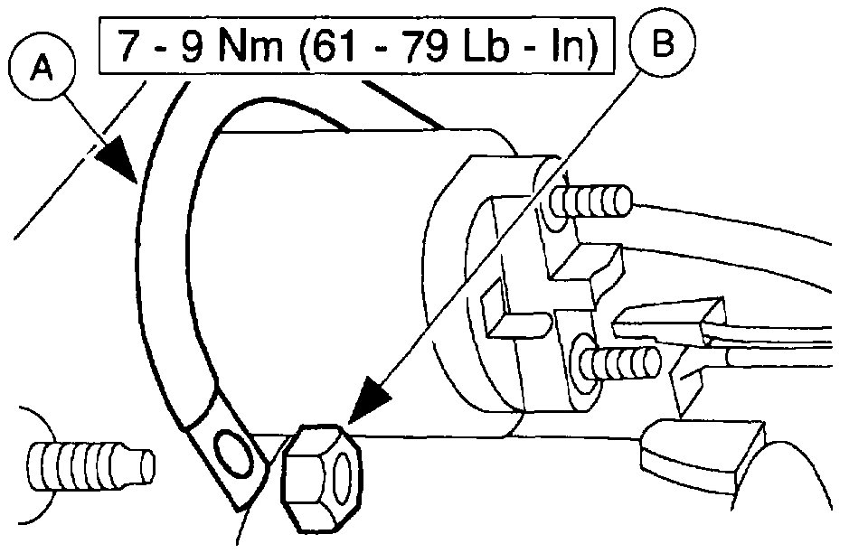
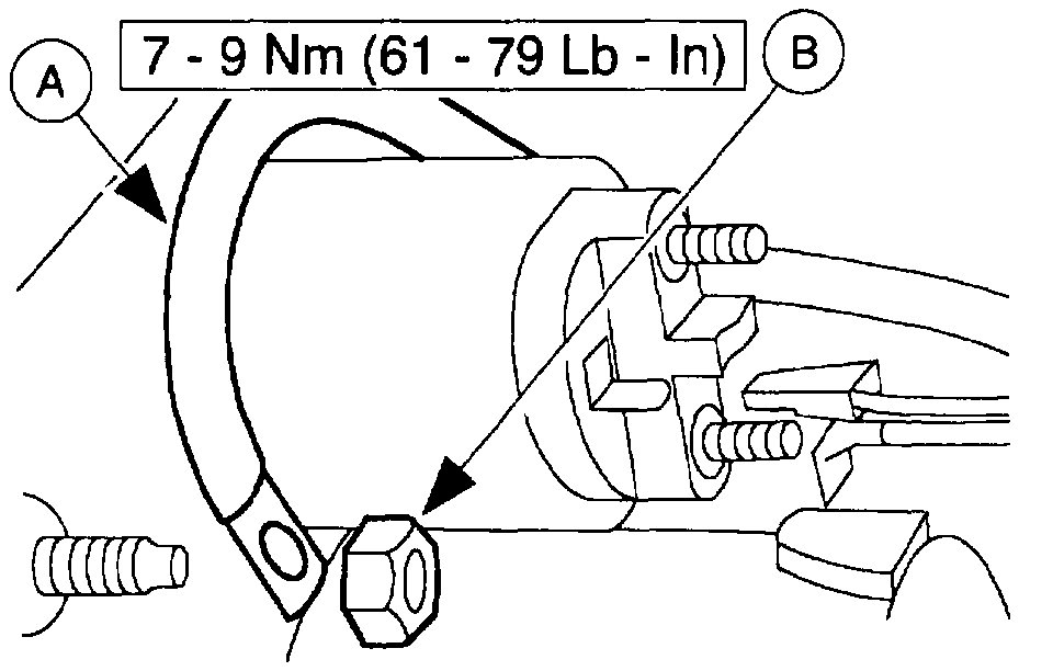
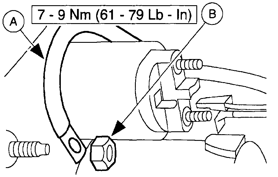
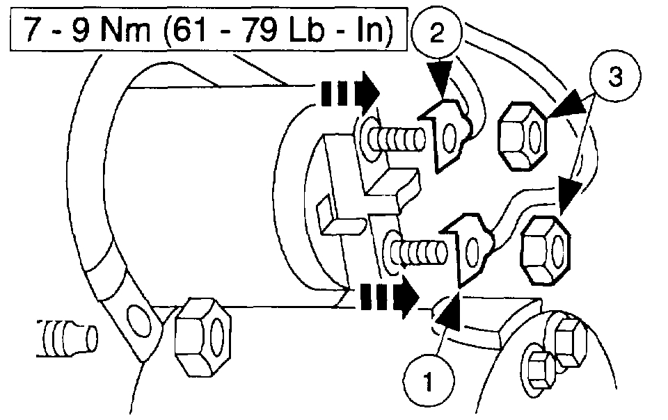
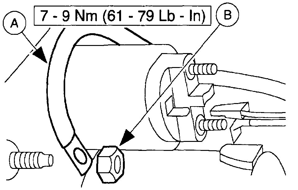
5. Remove the (A) starter motor ground cable nut and the (B) starter motor ground cable.

The 4.2L Engine Is Shown; The 4.6L Engine Is Similar

Pic 5

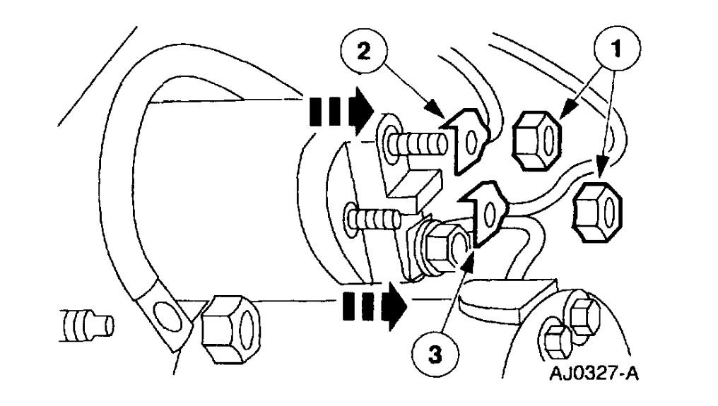
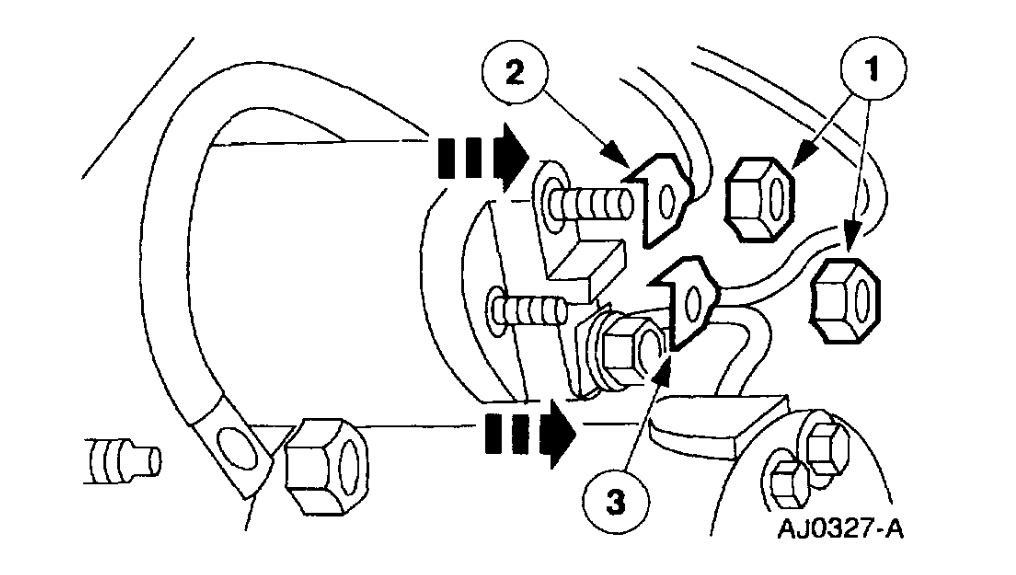
6. Remove the starter.
1 Remove the two bolts.
2 Remove the starter.

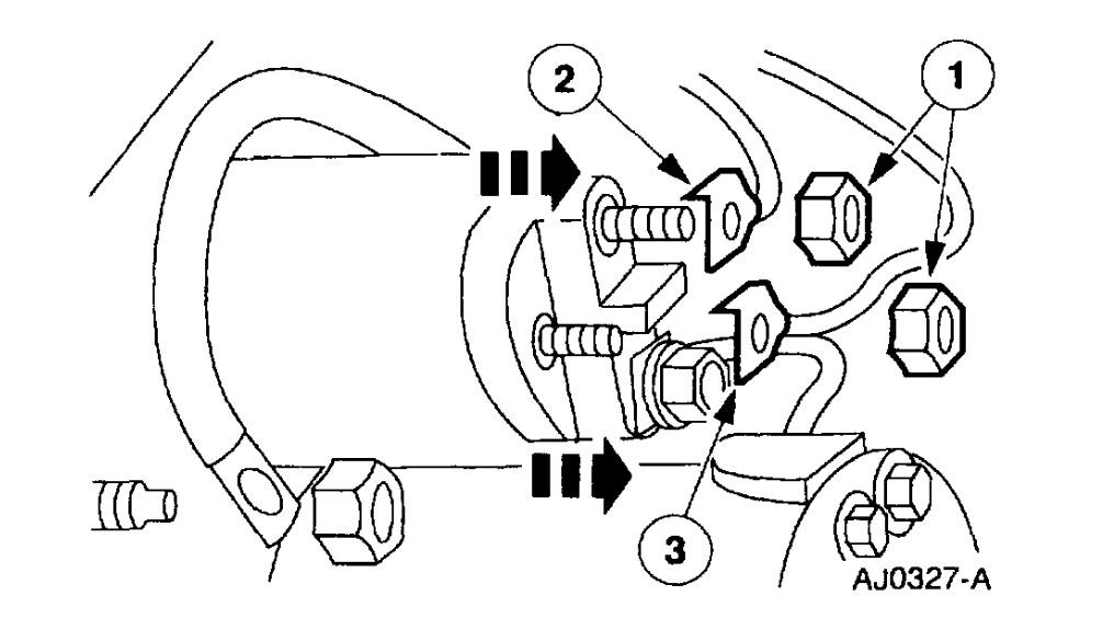
INSTALLATION

Warning: when performing maintenance on the starting system be aware that heavy gauge leads are connected directly to the battery. Make sure protective caps are in place when maintenance is complete.

The 4.2L Engine Is Shown; The 4.6L Engine Is Similar

Picture 6

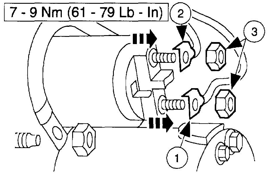
1. Install the starter motor.
1 Position the starter motor.
2 Install the two bolts.

The 4.6L Engine Is Shown; The 4.2L Engine Is Similar

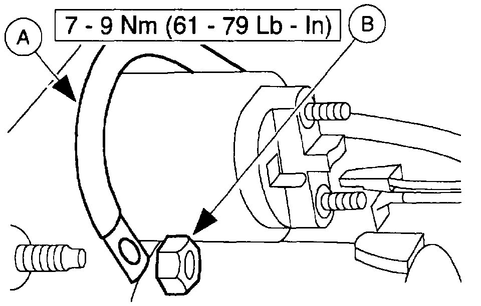
Picture 7

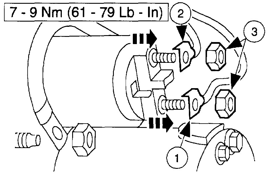
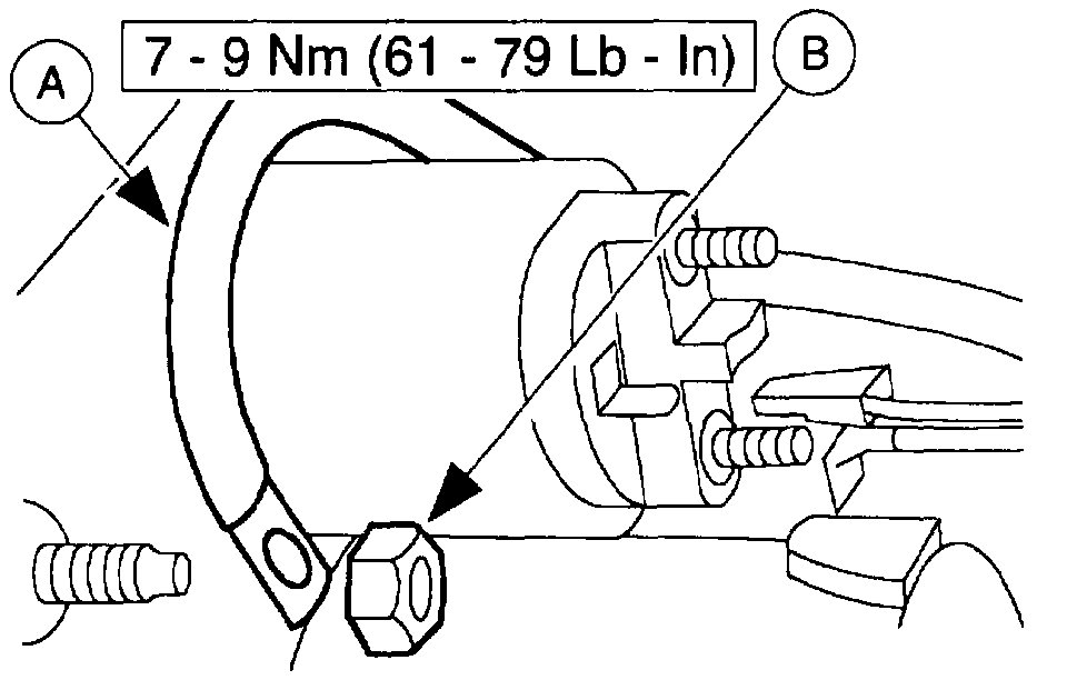
2. Connect the (A) starter motor ground cable and install the (B) starter motor ground cable nut.

The 4.6L Engine Is Shown; The 4.2L Engine Is Similar

Picture 8

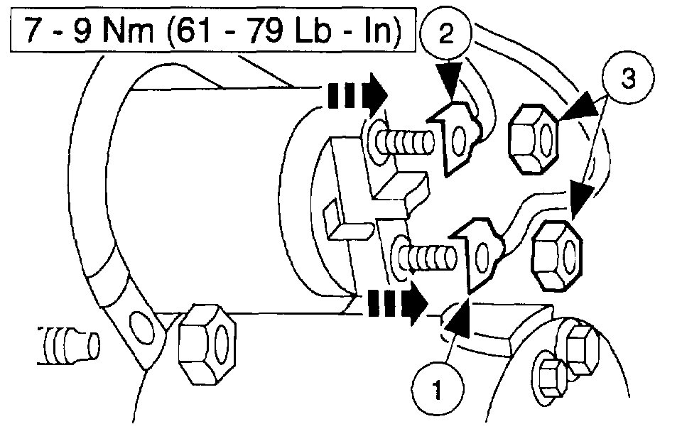
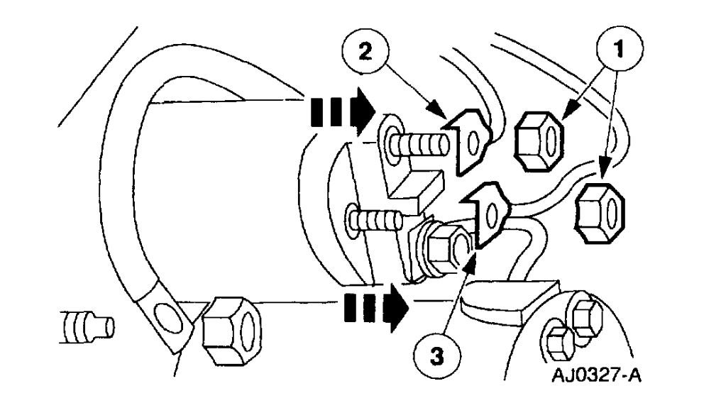
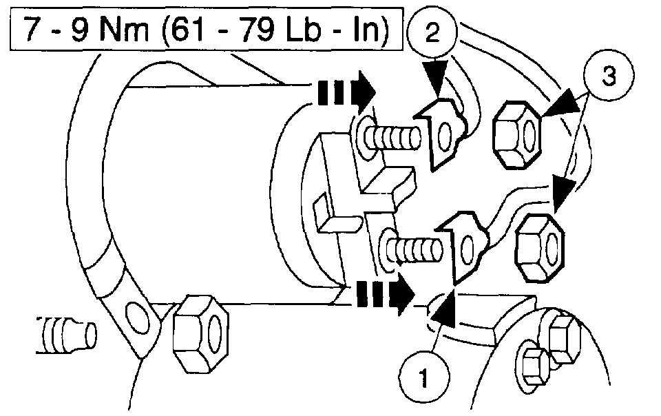
3. Connect the starter motor electrical connections.
1 Position the starter solenoid wire.
2 Position the battery cable.
3 Install the two nuts.

Picture 9

4. Install the starter motor solenoid terminal cover.
5. Lower the vehicle.

NOTE: If equipped with air suspension, reactivate the system by turning on the air suspension switch.

6. Connect the battery ground cable.

NOTE: When the battery is disconnected and reconnected, some abnormal drive symptoms may occur while the vehicle relearns its adaptive strategy. The vehicle may need to be driven 16 km (10 miles) or more to relearn the strategy.

________________________________

Let me know if this helps or if you need additional help.

Take care,
Joe
Was this
answer
helpful?
Yes
No
+1
Wednesday, January 20th, 2021 AT 12:49 PM (Merged)
Tiny
MAKOTILA
  • MEMBER
  • 1 POST
  • 1997 FORD F-150
I am trying to remove my starter on my truck and am having a hard time removing the bolts that hold it in place, I cannot access them. Any ideas on how to easily remove the starter bolts without all the hassle of removing the exhaust manifold?
Was this
answer
helpful?
Yes
No
Wednesday, January 20th, 2021 AT 12:49 PM (Merged)

Please login or register to post a reply.