Wrong transmission fluid was added now car will not Move when shifted into gear

Tiny
STARRSHERE
  • MEMBER
  • 2012 NISSAN ALTIMA
  • AUTOMATIC
  • 170,000 MILES
The car is for my mother. She says it seemed like it was having trouble shifting. Or shifting hard sometimes. Her and a friend checked the fluid, decided it was low. Added Pennzoil ATF about half of a half quart. Drove it to bring her friend home. Which would of been a 15 minute drive there, 15 minutes back. The car sat for maybe 2-3 hours. She tried to leave in it again and it only made it out the driveway. Was stuck there in the street in front the house. It was pushed back into the driveway and has been sitting for 2 days now.

it starts, you can shift it to drive or rev, but wont move.

and yes I know they added the wrong fluid type ATF was added. It needs CVT

i'm praying I can drain/flush and add correct fluid and not need a replacement transmission? Help
Wednesday, February 24th, 2021 AT 2:52 PM

1 Reply

Tiny
JACOBANDNICKOLAS
  • MECHANIC
  • 110,192 POSTS
Hi,

The wrong fluid will cause damage. Based on the mileage on the vehicle, it may happen quickly. Here is what I suggest: Drain and refill the transmission with the correct fluid. The directions indicate to drive the vehicle until the transmission warms up, but that can't be done. So, allow the engine to warm up first.

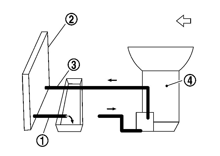
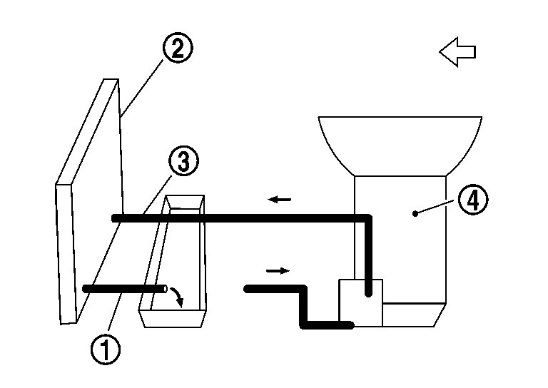
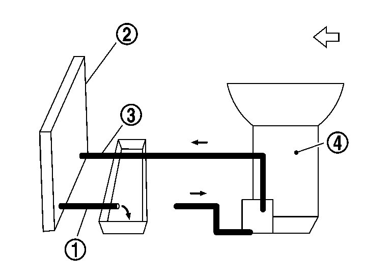
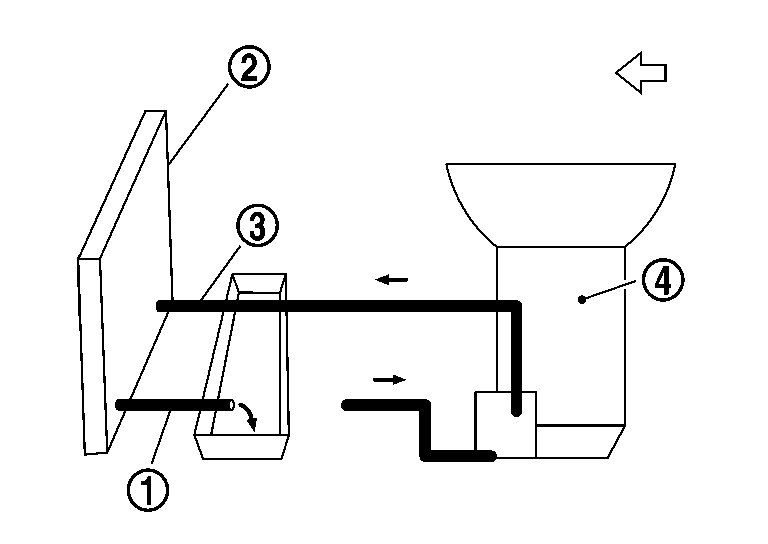
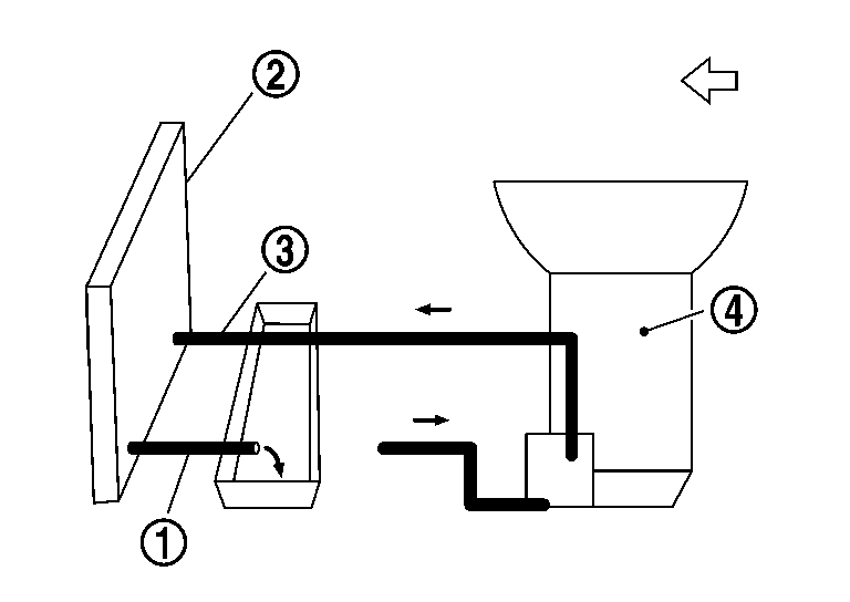
Here are the directions for the procedure. The attached pic correlates with the directions.

Changing CVT Fluid

1. Warm up CVT fluid by driving the vehicle for 10 minutes.
- arrow indicates: Vehicle front
- Radiator (2)
- CVT fluid cooler hose [inlet side (3)]
- Transaxle assembly (4)
2. Drain CVT fluid from CVT fluid cooler hose [outlet side (1)] and refill with new specified NISSAN CVT fluid in the CVT fluid charging pipe with the engine running at idle speed.
3. Refill until new CVT fluid comes out from CVT fluid cooler hose
[outlet side (1)].
NOTE:
About 30 to 50% extra fluid will be required for this procedure.
4. Check fluid level and condition. See: Fluid - CVT > Procedures > Inspection.

CVT fluid: See: Continuously Variable Transmission/Transaxle, CVT > Mechanical > General Specifications
Fluid capacity: See: Continuously Variable Transmission/Transaxle, CVT > Mechanical > General Specifications

CAUTION:
- Use only Genuine NISSAN CVT Fluid NS-2. Never mix with other fluid.
- Using CVT fluid other than Genuine NISSAN CVT Fluid NS-2 will deteriorate in driveability and
CVT durability, and may damage the CVT, which is not covered by the warranty.
- When filling CVT fluid, take care not to scatter heat generating parts such as exhaust.
- Sufficiently shake the container of CVT fluid before using.
- Delete CVT fluid deterioration date with CONSULT after changing CVT fluid..

Once you finish, here are the directions for checking the fluid level and condition.

Fluid level should be checked with the fluid warmed up to 50 to 80 C (122 to 176 F). The fluid level check procedure is as follows:

1. Check for fluid leakage.
2. With the engine warmed up, drive the vehicle in an urban area.
When ambient temperature is 20 C (68 F), it takes about 10 minutes for the CVT fluid to warm up to 50
to 80 C (122 to
176 F).
3. Park the vehicle on a level surface.
4. Apply parking brake firmly.
5. With engine at idle, while depressing brake pedal, move CVT shift selector throughout the entire shift range.
6. Pull out the CVT fluid level gauge from the CVT fluid charging pipe after pressing the tab on the CVT fluid level gauge to release the lock.

7. Wipe fluid off the CVT fluid level gauge. Insert the CVT fluid level gauge rotating 180
from the originally installed position, then securely push the CVT fluid level gauge until it meets the top end of the CVT fluid charging pipe.

CAUTION:
When wiping away the CVT fluid level gauge, always use lint-free paper, not a cloth rag.
8. Place the CVT shift selector in "P" or "N" and make sure the fluid level is within the specified range.

CAUTION:
When reinstalling CVT fluid level gauge, insert it into the
CVT fluid charging pipe and rotate it to the original installation position until it is securely locked.

Check out the diagrams (Below). Please let us know what happens.
Was this
answer
helpful?
Yes
No
Tuesday, April 20th, 2021 AT 12:05 PM

Please login or register to post a reply.