HOME
ASK A QUESTION
REPAIR GUIDES
BECOME A MEMBER
LOG IN
Login with Facebook
OR
Remember me
NOT A MEMBER?
FORGOT PASSWORD?
CONTACT US
PRIVACY POLICY
TERMS AND CONDITIONS
☰
Home
Ford
F-150
Ignition
Firing Order
Firing order needed?
DANLAFA
MEMBER
2003 FORD F-150
4.2L
V6
2WD
AUTOMATIC
160,400 MILES
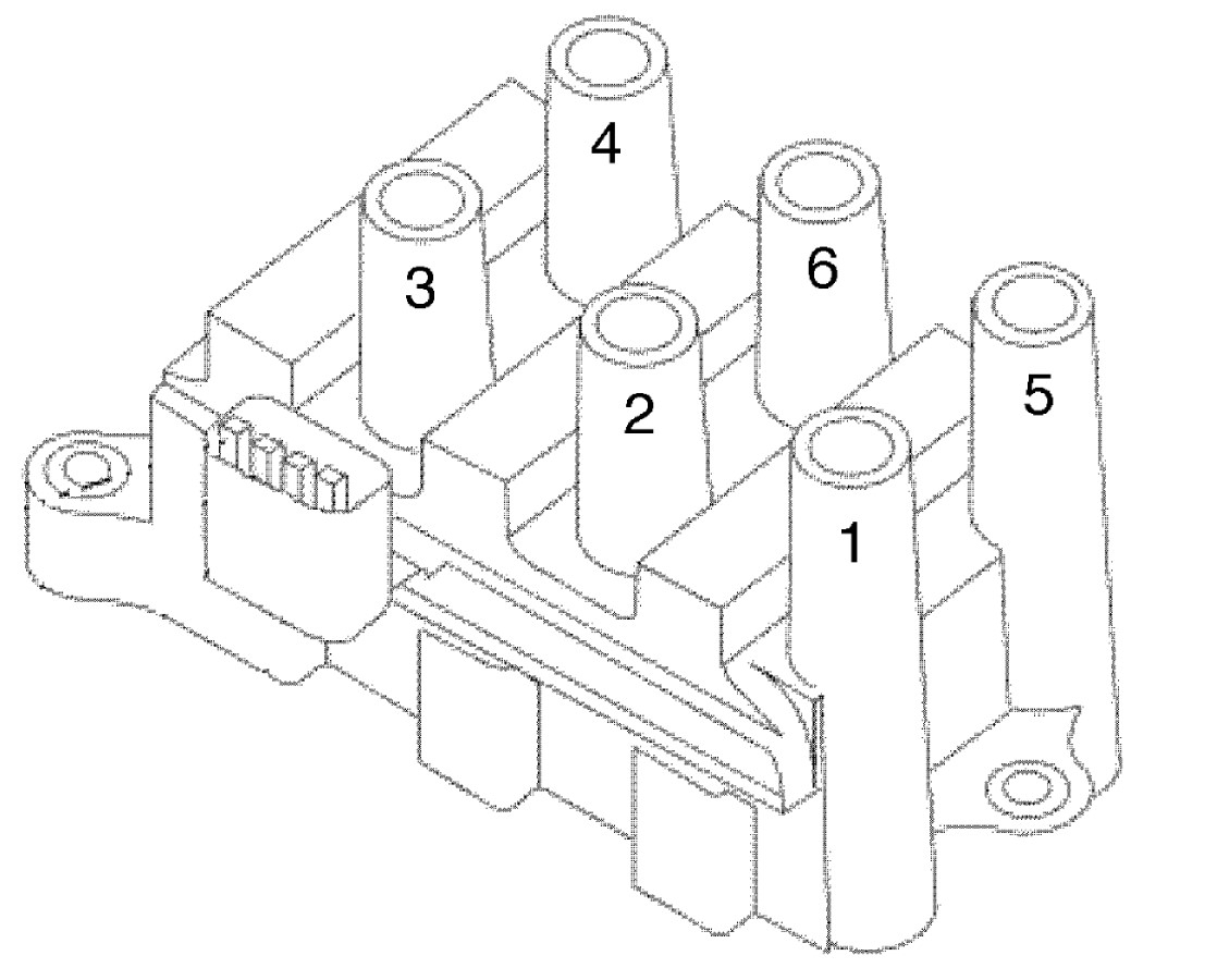
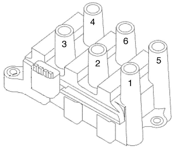
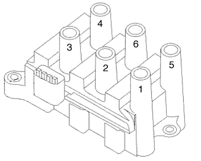
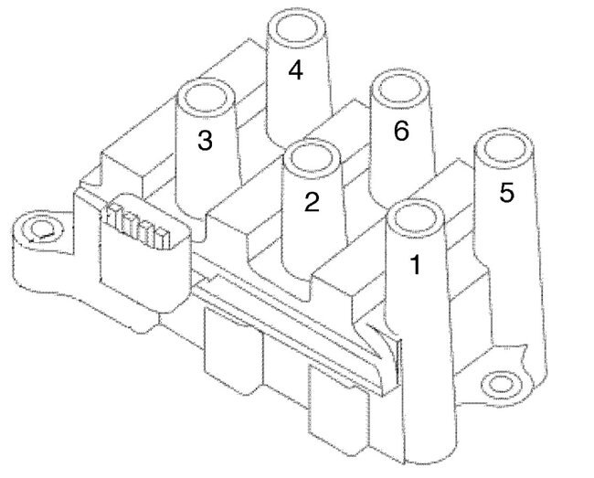
I need an exact firing order diagram coil pack and cylinder location please.
Saturday, December 28th, 2024 AT 3:49 PM
1 Reply
STEVE W.
MECHANIC
15,676 POSTS
This is the pack and the way for the wires that works on that V6. Watch out for corrosion in the coils electrical connection.
Images (Click to make bigger)
Was this
answer
helpful?
Yes
No
Saturday, December 28th, 2024 AT 4:12 PM
Please
login
or
register
to post a reply.
Related Firing Order Content
Firing Order
My Truck Has A 4.2l. What Is The Spark Plug Wires Routing? I.E From Coil On Top Of Tunnel Ram To Plugs.
Asked by
JEFFJ
·
23 ANSWERS
10 IMAGES
1997
FORD F-150
Firing Order ?
Is The Firing Order 1-4-2-5-3-6? Can You Send Me A Diagram Please? I Would Like To Get A Diagram For Replacing The Fuel Injectors If You...
Asked by
cpridgen007
·
14 ANSWERS
8 IMAGES
1999
FORD F-150
Firing Order?
Enter Your Question. I Need The Firing Order On A Ford F150 5.4, Looking For Cylinder 2
Asked by
fordsux
·
16 ANSWERS
5 IMAGES
2006
FORD F-150
1990 Ford F-150 Distibutor Firing Order On Cap
I Need The Firing Order On The Cap. I Know Its Counter Clockwise And Order Engine Fires Is 1-5-4-2-6-3-7-8 Wires Were Put On Incorrectly...
Asked by
derwrek
·
1 ANSWER
1 IMAGE
1990
FORD F-150
Firing Order
I Need To Know The Firing Order For A 1994 Lincoln Continental /150,000 Miles / 3.8 Liter
Asked by
weldorone
·
1 ANSWER
FORD F-150
VIEW MORE
Ask a Car Question. It's Free!
Spark Plug and Wire Replacement Ford Mustang
Spark Plug Replacement Honda Element
Spark Plug Replacement Mercedes Benz C230