Saturday, September 26th, 2020 AT 9:13 AM
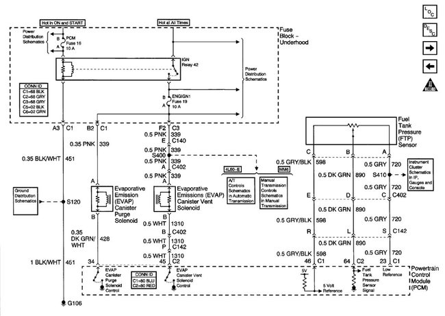
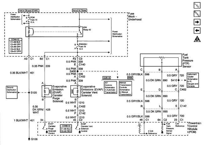
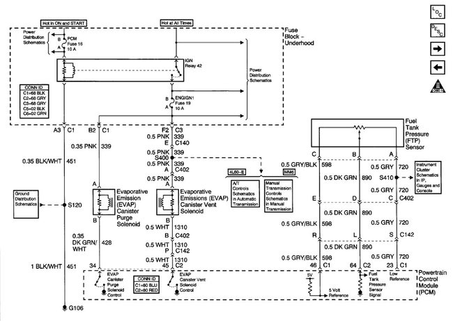
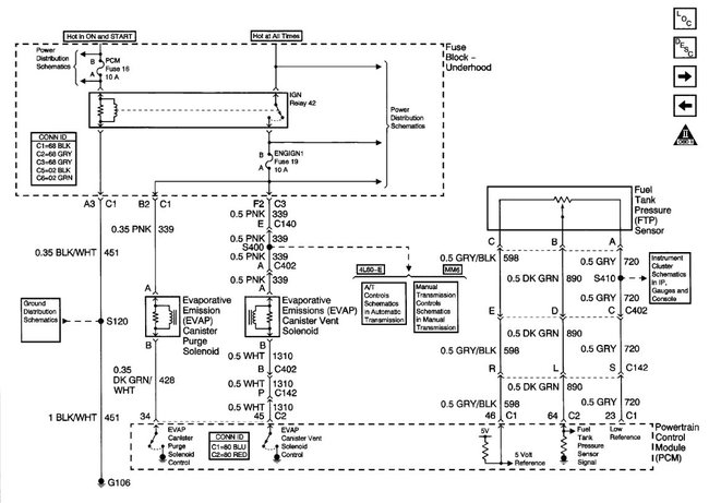
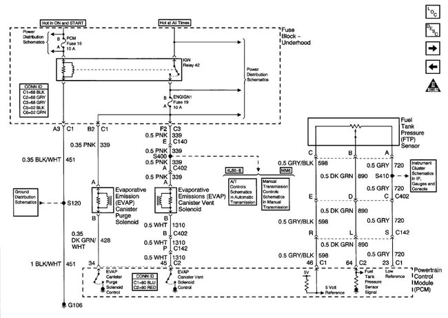
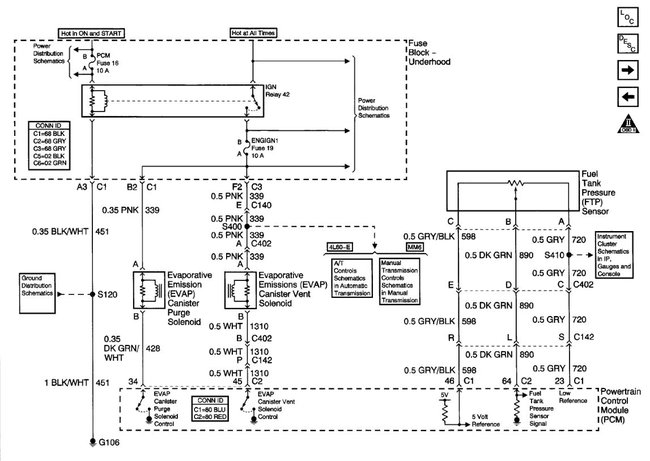
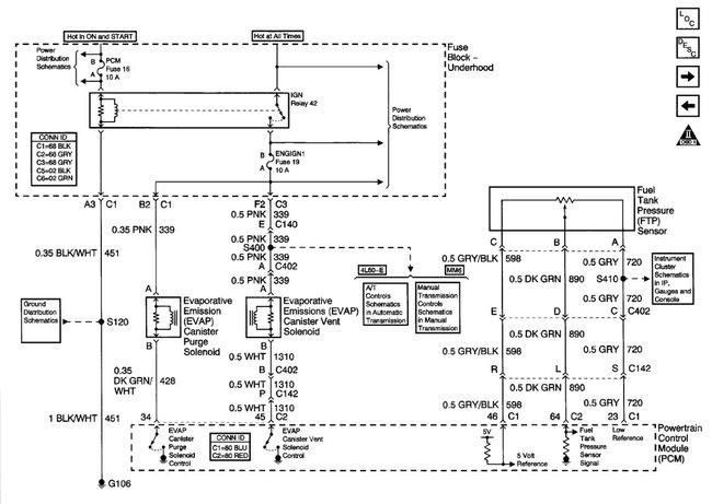
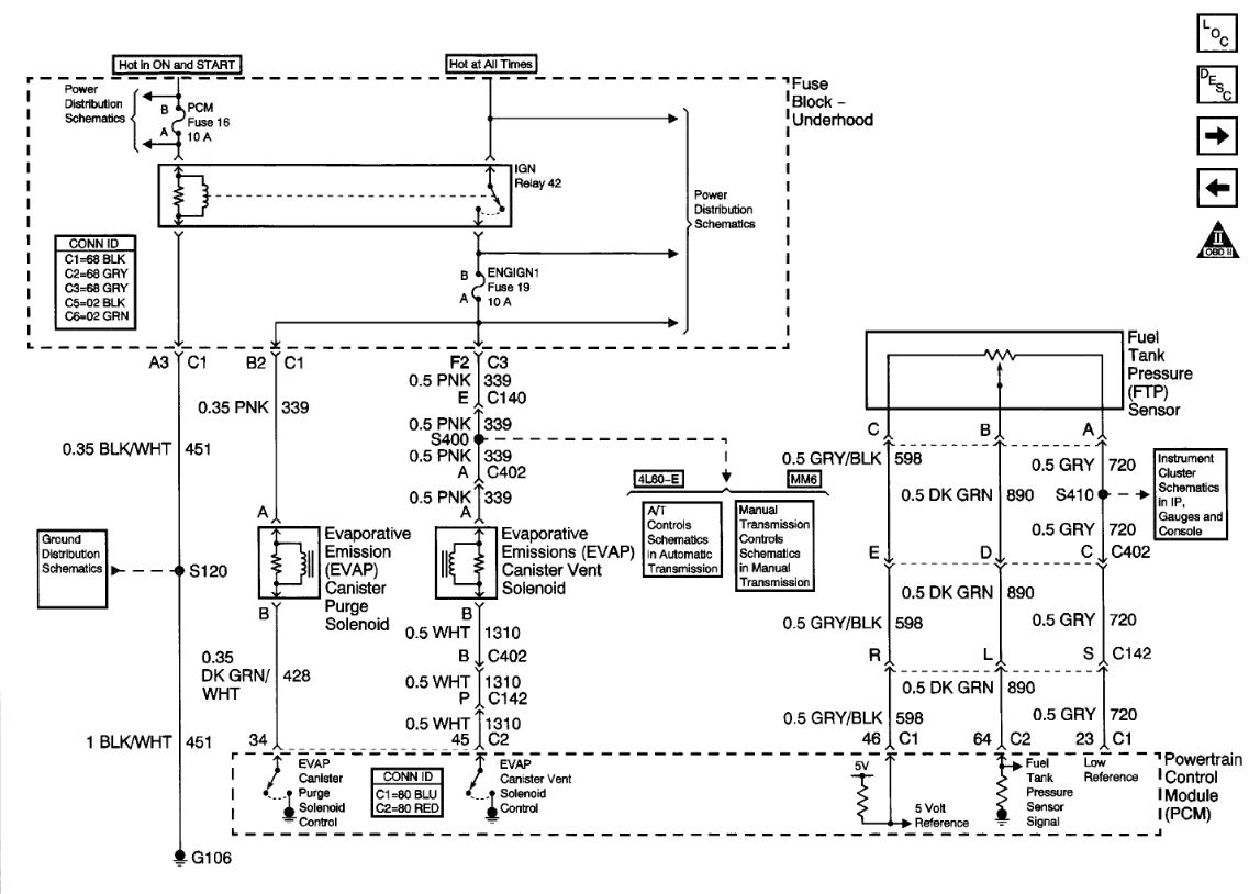
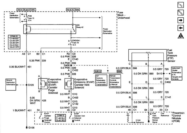
I know what problem is; the pressure sensor on driver side fuel tank is bad. Book does not even show it, but when I did evap test with scanner it’s shows it. Took a while to diagnosis this problem, but now driver side fuel tank cannot be removed without doing damage. What I need is a wiring diagram of driver side pressure sensor to ECM, so I can relocate sensor to different location. I could not find one with my resources. Factory manual did not even show to have one. I had to dig just to find pictures of it. If you could help that would be great.






