Saturday, January 25th, 2025 AT 12:29 PM
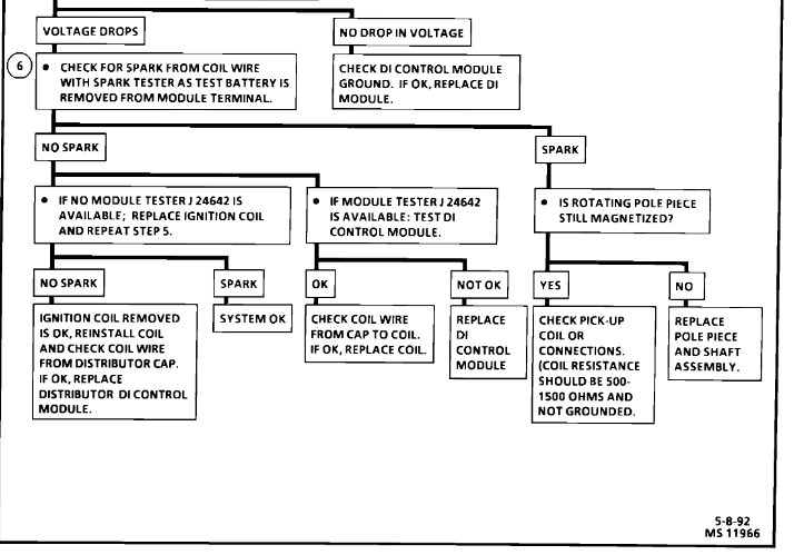
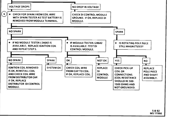
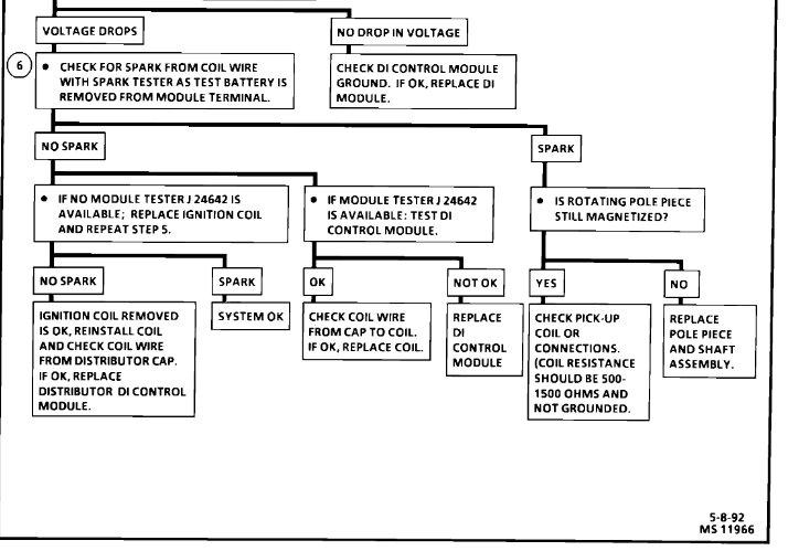
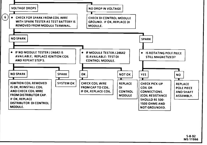
So, I got the truck from my uncle. It sat for a long time, probably 10 years or less, and I changed the ICM, distributor, spark plugs and the thing on the back of the distributor and I still have no spark. I don’t have any power to the radio or dash and stuff, and I cannot figure out what the problem may be. We tested the spark plug wires with a voltmeter and they were good. So, can anybody give me suggestions or answers that may solve this problem?




