Intermittent operation of driver"s window

Tiny
??????????
  • MEMBER
  • 1992 DODGE RAM
  • 5.9L
  • 6 CYL
  • TURBO
  • 2WD
  • AUTOMATIC
  • 100,000 MILES
Switch on door controls is good (tested, sending 12 volts to harness to drive motor). Need to see how to gain access to drive motor to check wiring connections at motor and to test motor. Thank You J.B. Am a retired Medium/Heavy Duty Master Mechanic 73 years old.
Wednesday, September 11th, 2019 AT 2:58 PM

12 Replies

Tiny
CARADIODOC
  • MECHANIC
  • 34,464 POSTS
Before you get all "wrapped around the axle", check for broken or frayed wires between the door hinges. The clue to this is the passenger window won't work from the driver's switch at the same time as the driver's window is dead.

Also be aware there's two parts to every window switch. Both parts provides the ground circuit for the motor when the switch is released, then, when the switch is activated, one of those parts switches from providing ground to providing the 12 volts. Just because the switch sends 12 volts to the motor doesn't mean it is good. The other half still has to provide the motor's ground.

Since you're already checking voltages, check for voltage on the black wire when the switch is pressed either way. If you find any voltage here, that wire has a break in it. Continuity tests can work too, but they are less trustworthy. All you need is one strand of wire still intact to get a good reading, but that won't pass enough current to run the motor.

Another quick clue is to observe if the window motor runs or cuts out when you open and close the door while pressing the switch.
Was this
answer
helpful?
Yes
No
-2
Wednesday, September 11th, 2019 AT 6:28 PM
Tiny
??????????
  • MEMBER
  • 5 POSTS
Do you have a schematic showing black wire and routing/locations so I can access it and check. It out?Also information on motor/regulator removal/replacement?
Was this
answer
helpful?
Yes
No
Sunday, September 15th, 2019 AT 9:43 AM
Tiny
KASEKENNY
  • MECHANIC
  • 18,907 POSTS
Hi,

I think this info was provided in another post. If you need more assistance please let us know. Thanks
Was this
answer
helpful?
Yes
No
Wednesday, September 18th, 2019 AT 3:13 PM
Tiny
CARADIODOC
  • MECHANIC
  • 34,464 POSTS
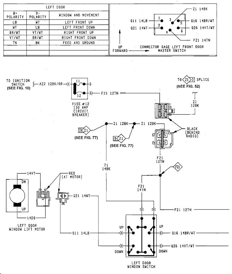
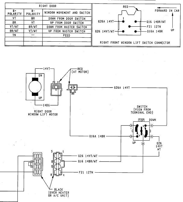
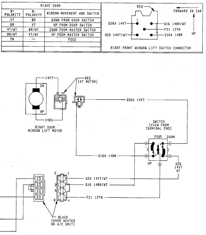
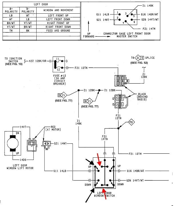
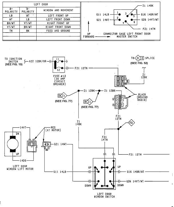
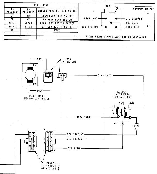
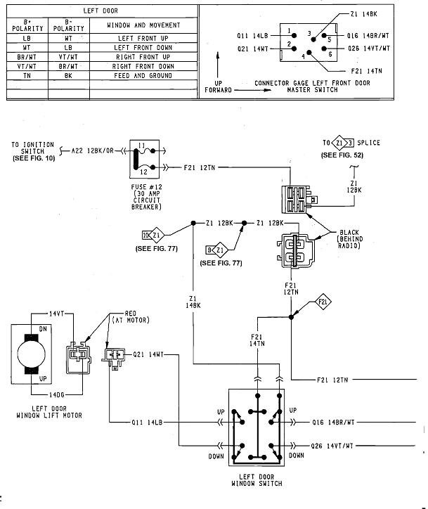
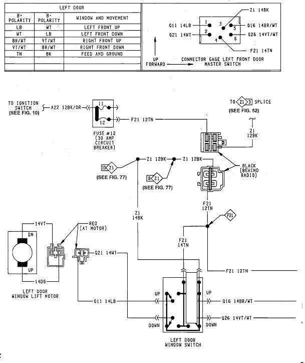
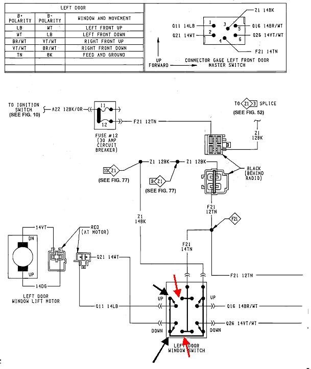
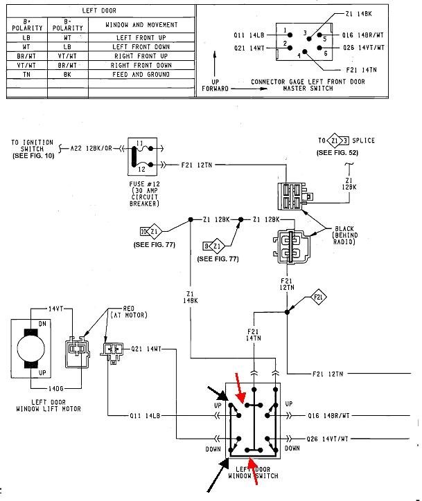
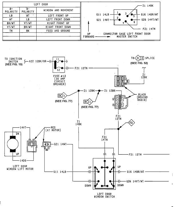
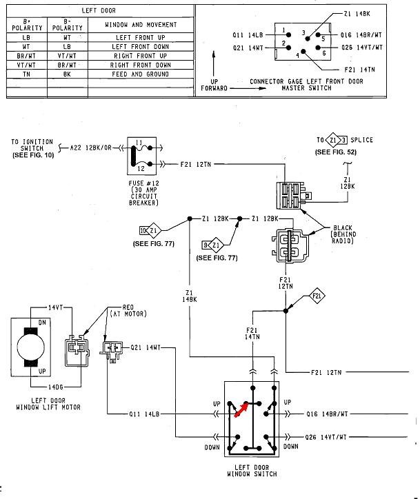
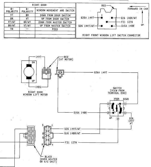
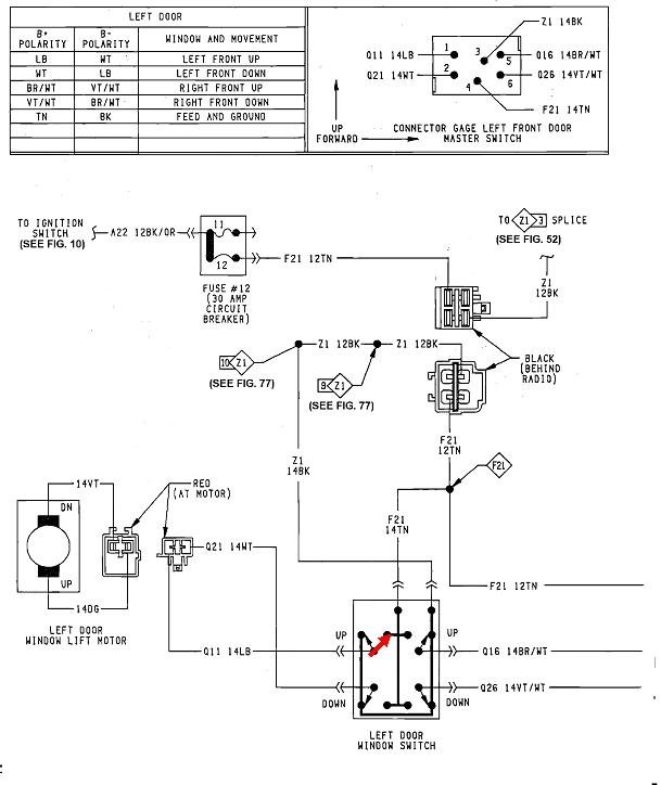
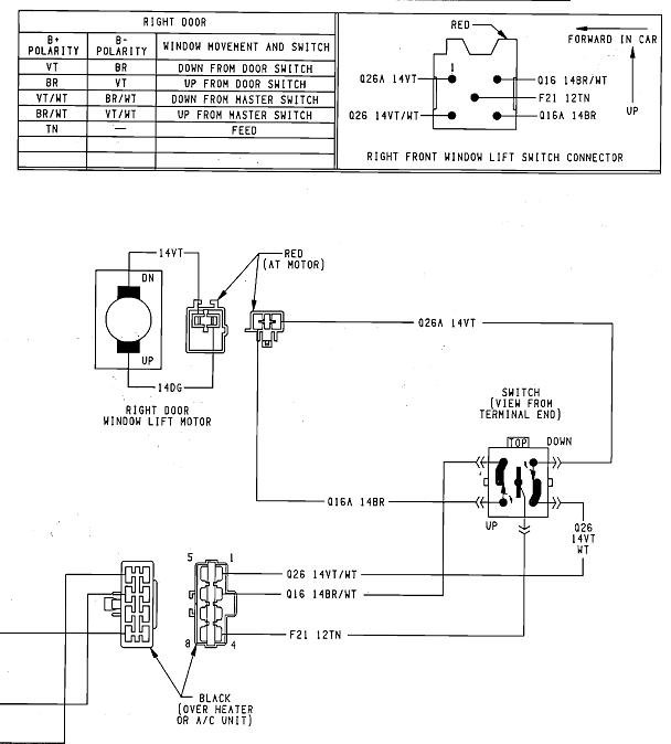
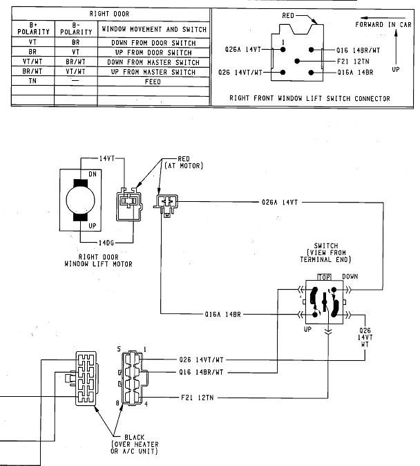
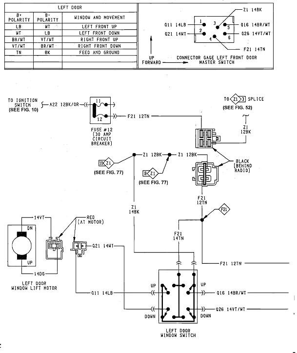
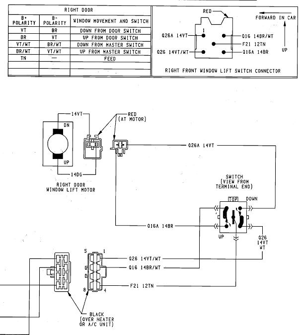
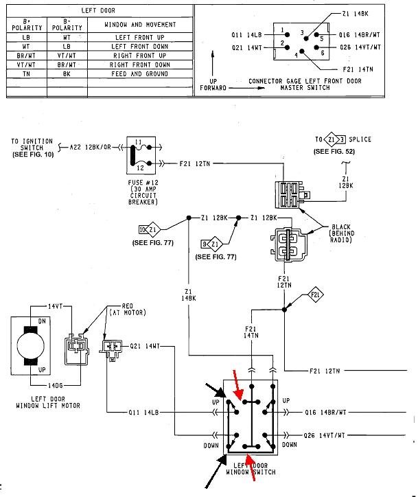
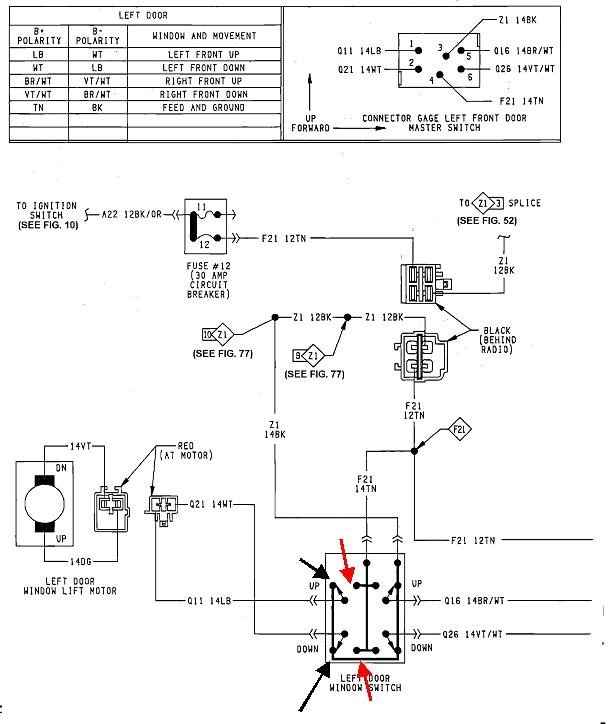
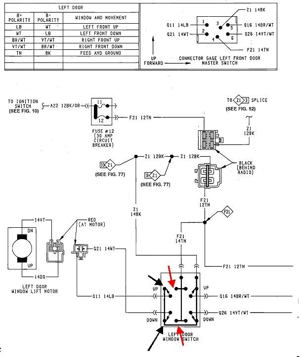
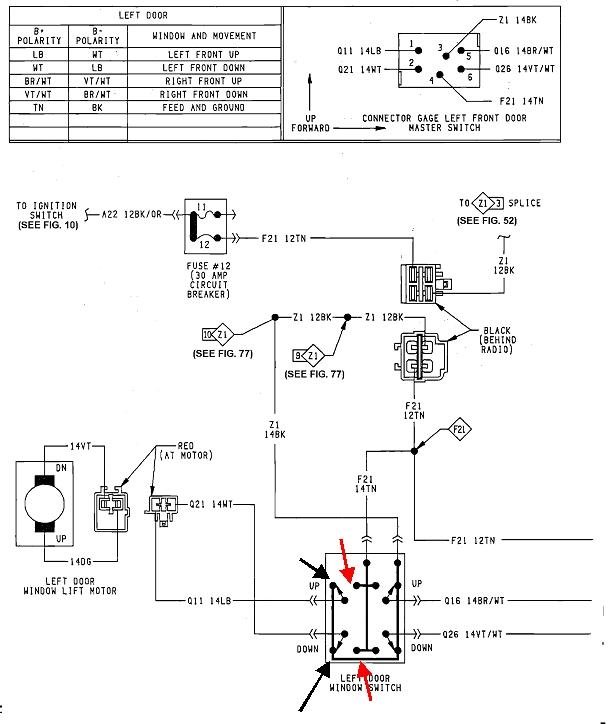
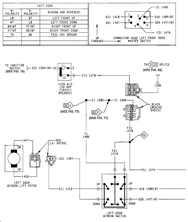
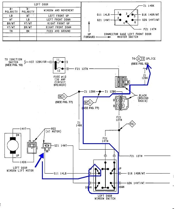
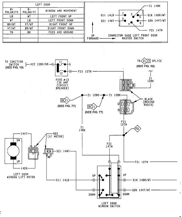
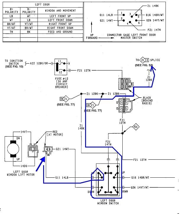
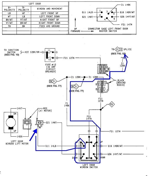
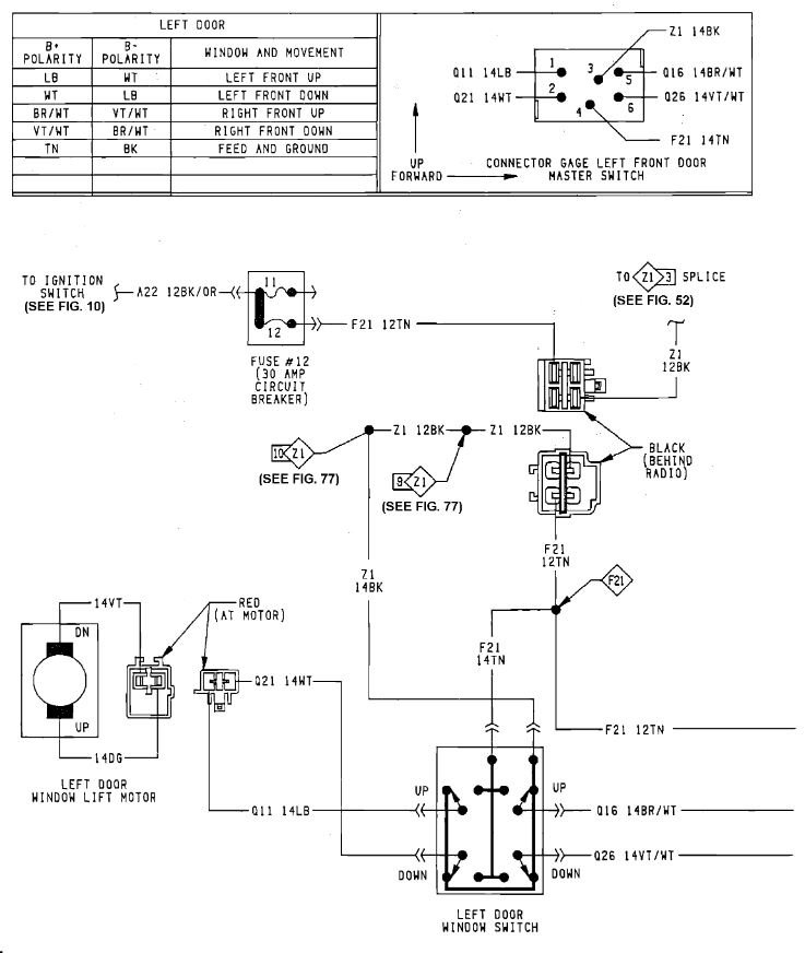
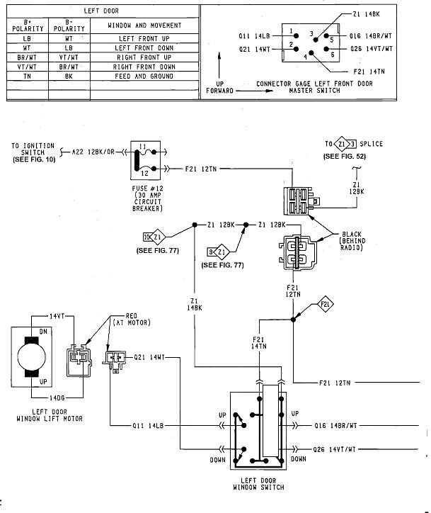
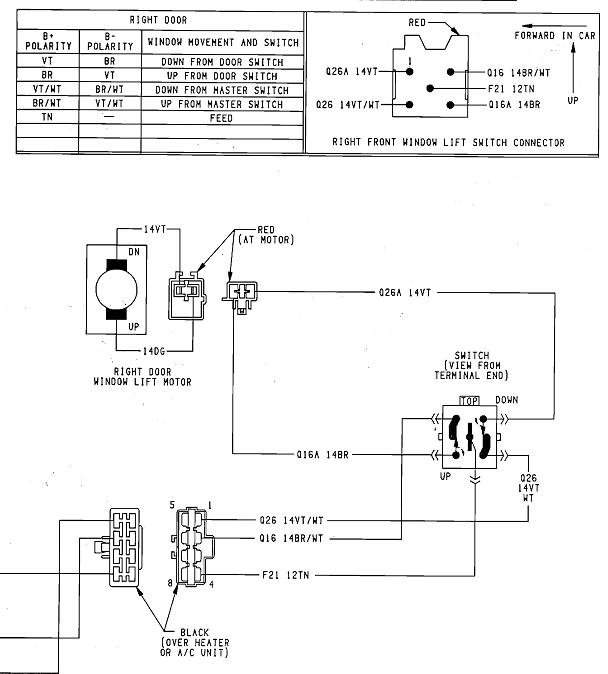
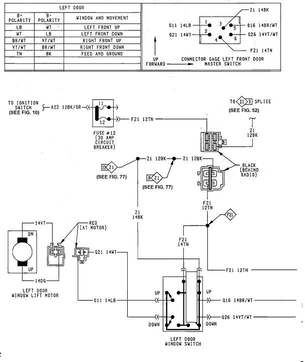
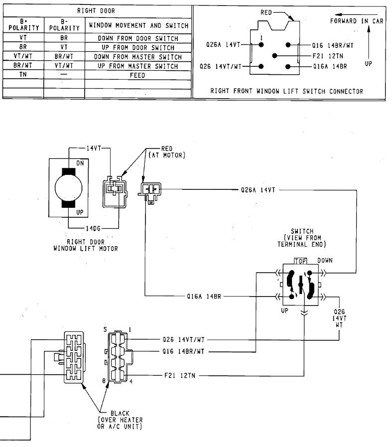
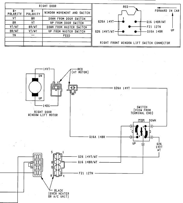
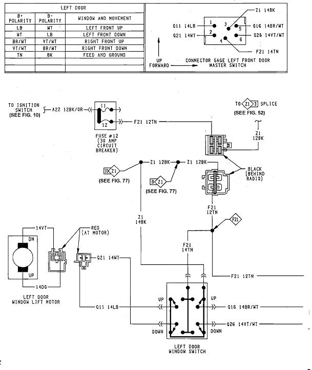
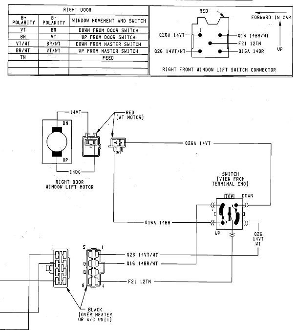
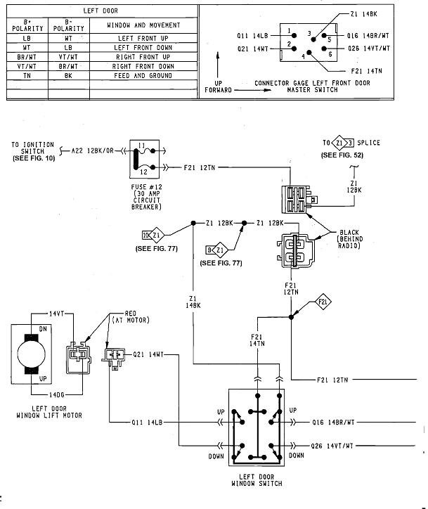
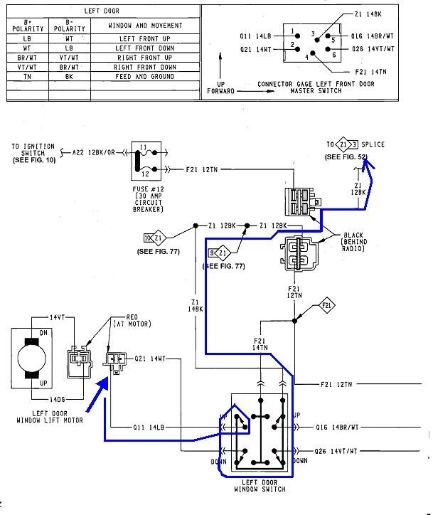
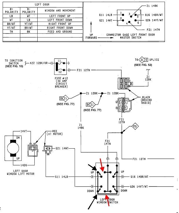
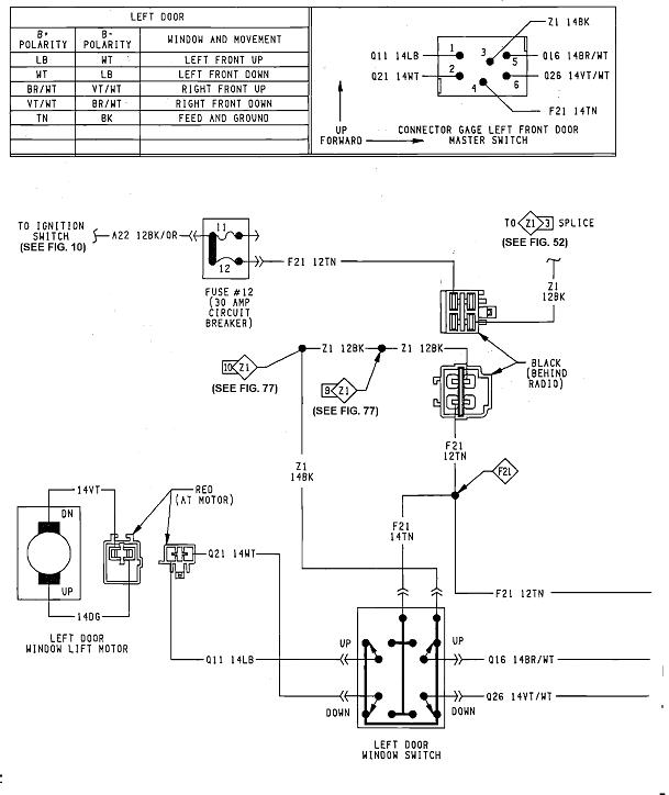
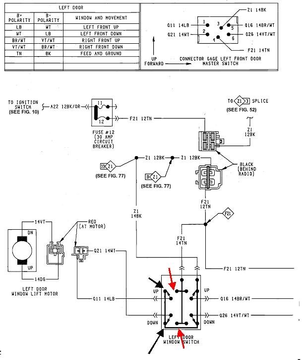
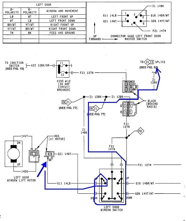
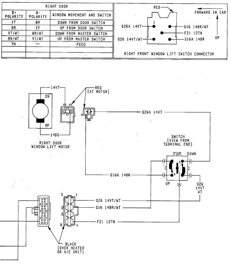
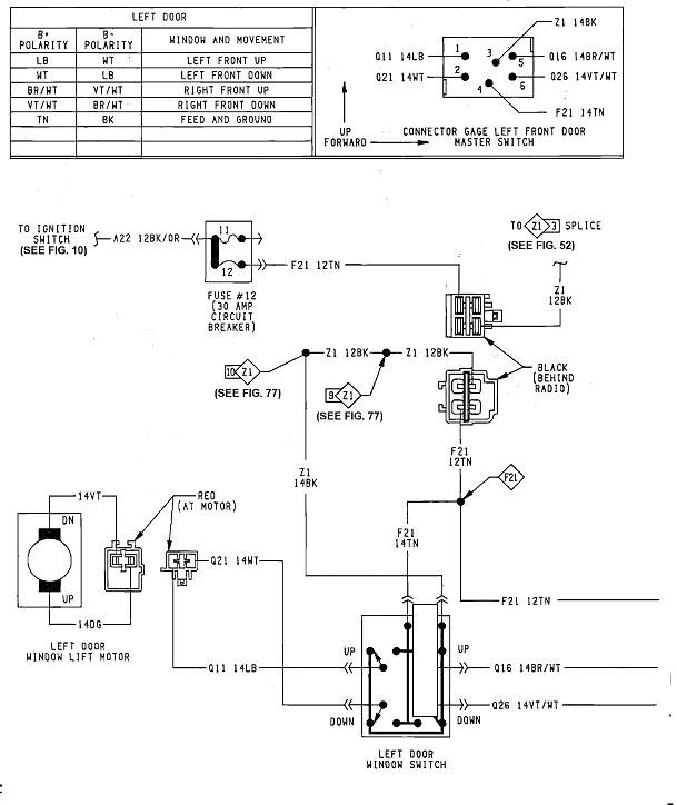
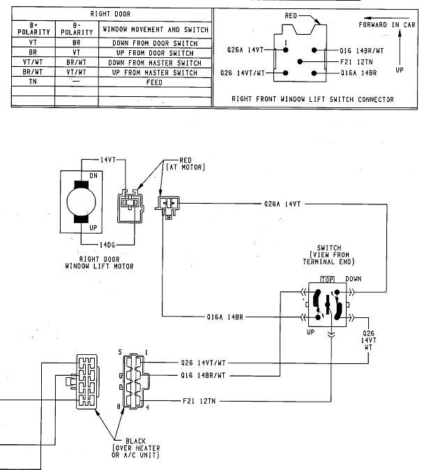
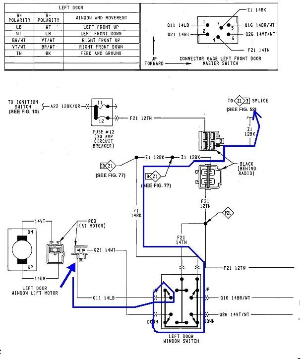
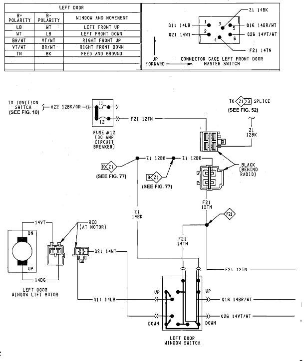
I'm very sorry that I didn't see the last replies sooner. Here's a whole pile of diagrams. The first two are of the entire power window system.

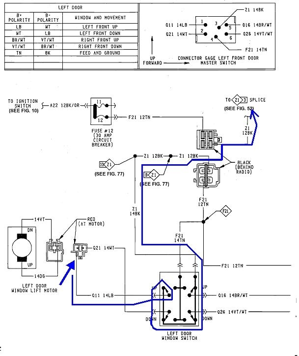
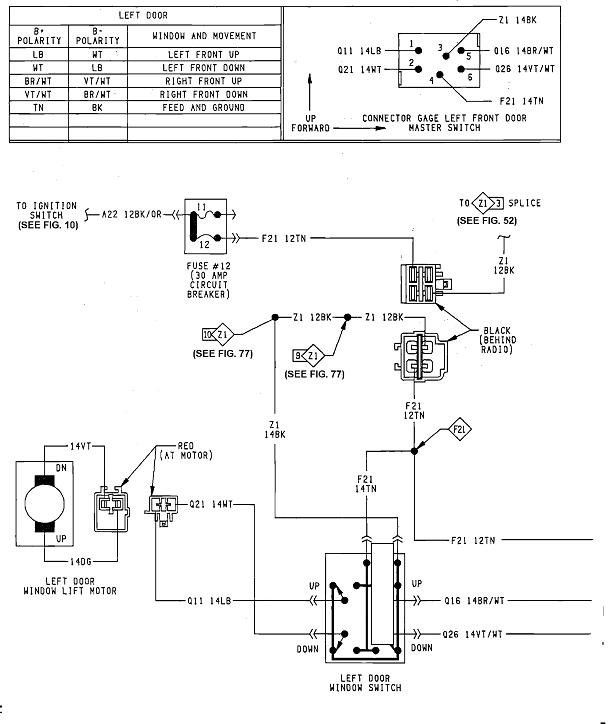
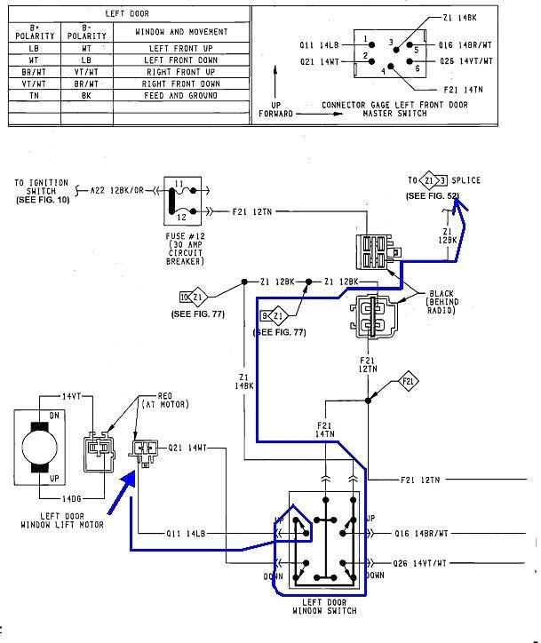
The third diagram just shows that if you get all the way down to the motor, there's two quick continuity checks you can do that may verify the switch and wiring are okay. You'll want to unplug the motor, otherwise you'll be able to read through the motor, then to ground on both of the wires. If one is open, you won't catch that because the meter will be reading through the motor, then to ground on the other wire. In this case, the blue arrow is pointing to the light blue wire in the motor's plug, and if you follow the blue line, it goes to the upper left switch, which is released, through that one, then onto the ground wire that ends under the dash. If you were to follow the white wire the same way, you'd see it goes through the released lower left switch, then onto the same ground circuit. To say that a simpler way, both motor wires should have continuity to ground as long as the switch is plugged in and those two sets of contacts are good. The reason I said this "may" show those circuits are okay is because if one of those contacts is arced or burned just a little, or if the ground wire is 99 percent broken, but just one single strand remains intact, you'll get a good reading. Those things will prevent sufficient current from passing to run the motor, so voltage tests in a completely connected circuit are more trustworthy than continuity tests.

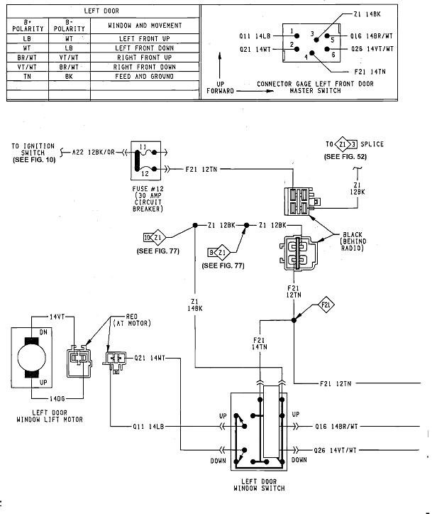
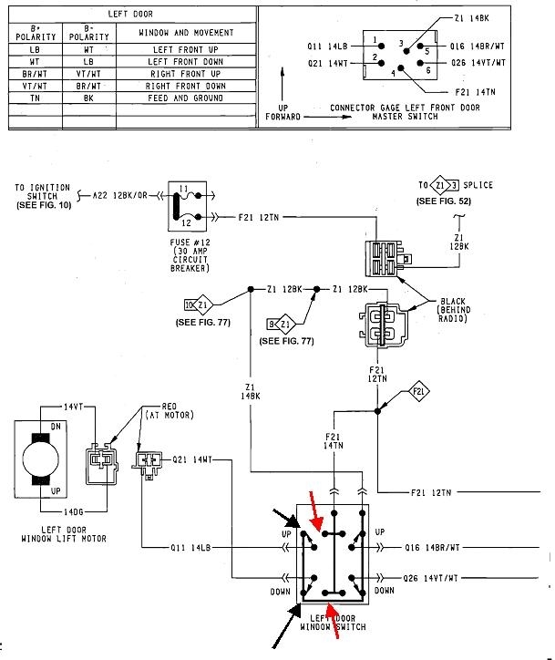
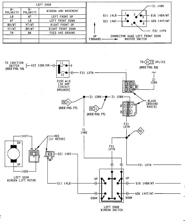
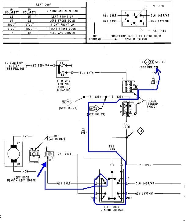
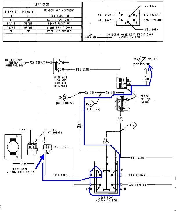
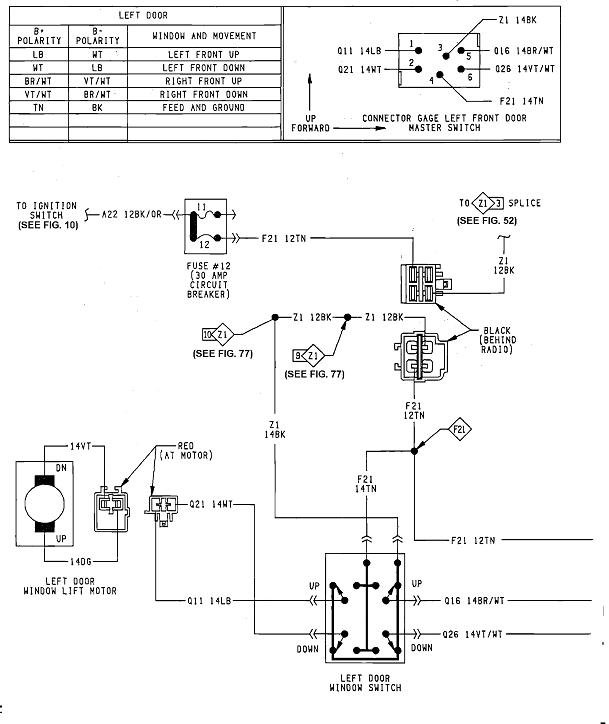
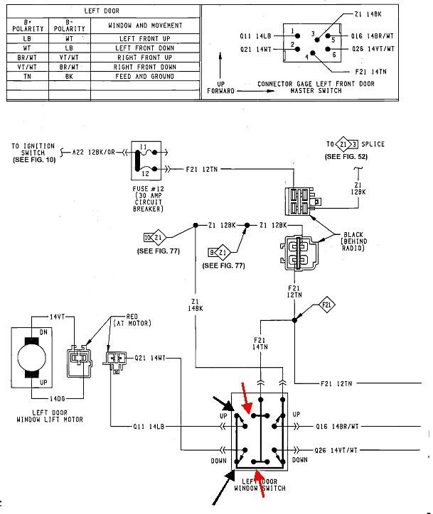
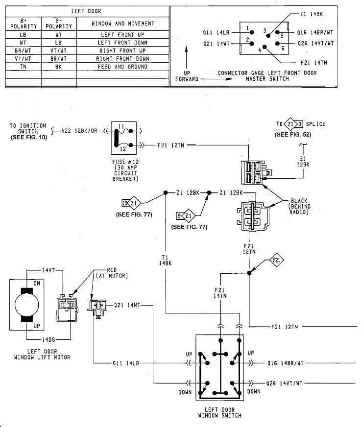
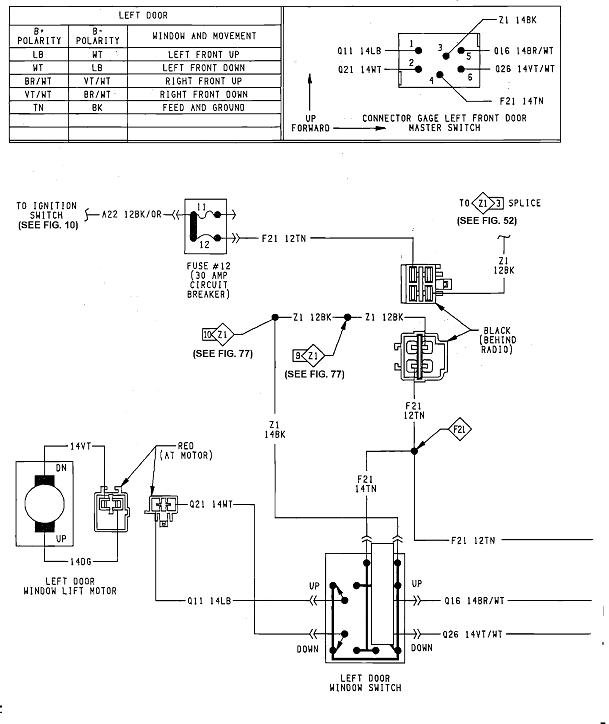
In the fourth diagram, I just blanked out the part of the driver's switch that is for the passenger window, to lessen the confusion. What's left on the left side of the switch assembly is all for the driver's window.

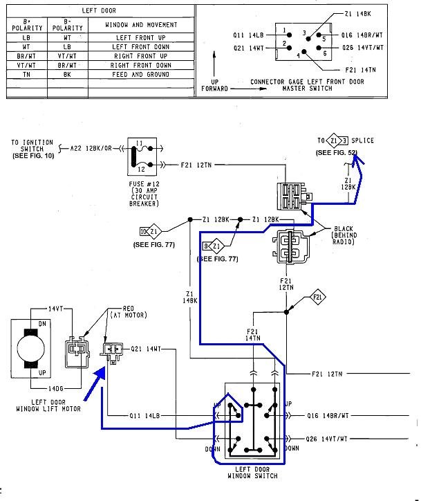
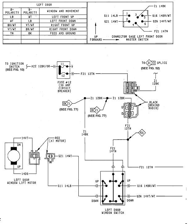
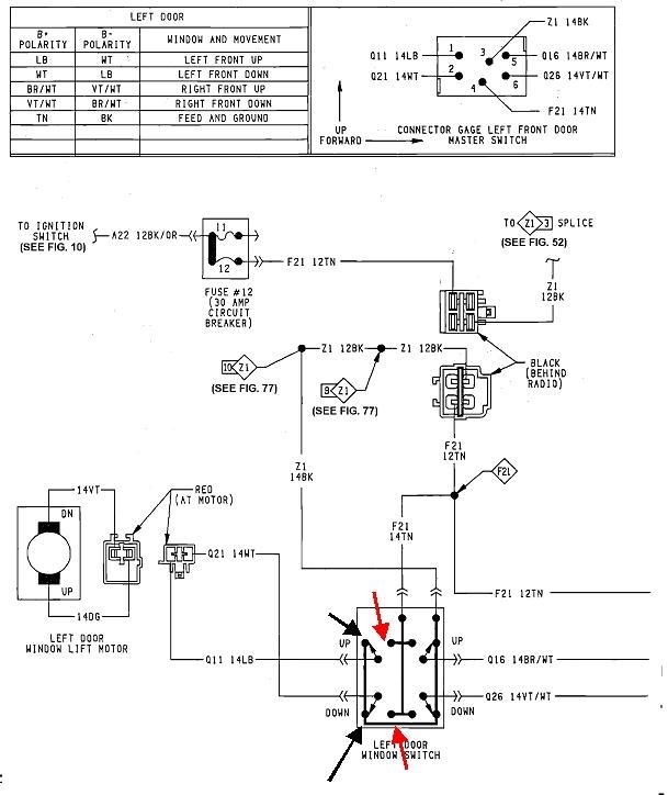
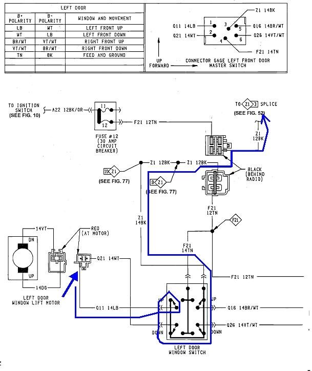
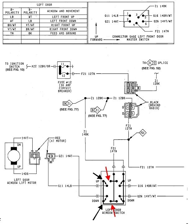
The fun starts in the fifth diagram. If you look closely at the top left switch, that one is pressed in the "up" direction. The movable contact has moved away from the ground terminal where it was at rest, then moved over to the 12 volt contact. 12 volts is applied to one motor terminal, and the other one is still grounded through the released lower left contact. When you press "down", the top contact stays grounded, and 12 volts is applied to the lower motor terminal, so the motor runs the other way. Power locks and power mirrors work the same way. The switch changes the polarity of the voltage applied to the motor.

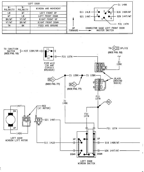
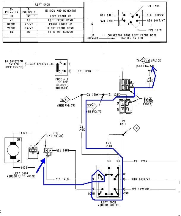
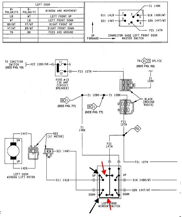
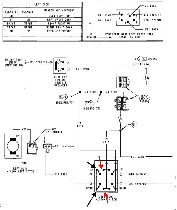
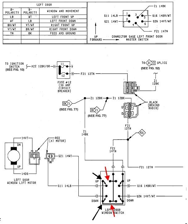
I added the sixth diagram to just show that there's actually four sets of contacts in the switch, and if one of those ground contacts is burned, it will prevent the circuit from working one way. This becomes more important when working on a passenger window that works one way from both switches, but the other way from only one of the switches. That set of symptoms verifies the wiring between the switches is okay, and one of the switches has a bad contact. The important point is without doing voltage tests to determine which switch is at fault, there is no way to know which one is defective. The switch that works properly both ways could be the one with a burned ground contact, or the other one could have a burned 12-volt contact. The bottom line is the switch that doesn't work one way has a 50 percent chance of being the good switch. If you follow the wires from the driver's switch, through the passenger switch, you'll see current has to go through both released ground contacts in the passenger switch when you press the driver's switch for the passenger window.

I know that sounds confusing, but now to address an intermittent issue, motors don't fail real often, but when they do, it's usually permanent. They typically don't work once in a while. Same with switches. If you take one apart, you might see how the springy contacts slide across each other as they're applied, similar to how older horn relays from the '60s and '70s worked. The high current in both systems causes a lot of arcing when the switch is turned off. The designed-in sliding action helps to scrub the contact to clean off any burned area.

Wiring inside the door isn't going to cause a problem unless someone was in there previously and unhooked a harness from an anchor, then it got caught by moving parts. What's left is the most vulnerable part. That is the wiring between the door hinges. The best potential clue is when you hold the switch pressed, then the affected part runs and stops intermittently as you open and close the door. That is proof the wires are frayed between the hinges. If that is what you ultimately find, I'll describe how I repaired them on older Caravans. A lot of Jeep vehicles used a short wiring harness that could be unbolted, then unplugged on both ends, then you could do the repairs in comfort by your workbench. I never did this repair on a truck, so I don't know how the harness is designed.

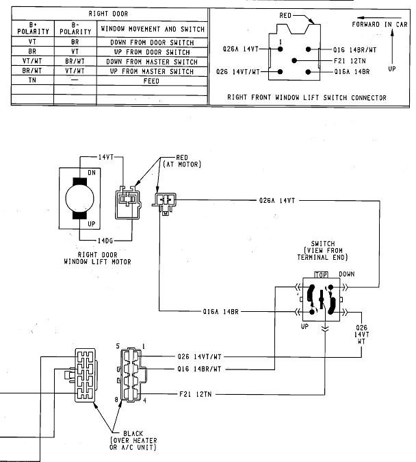
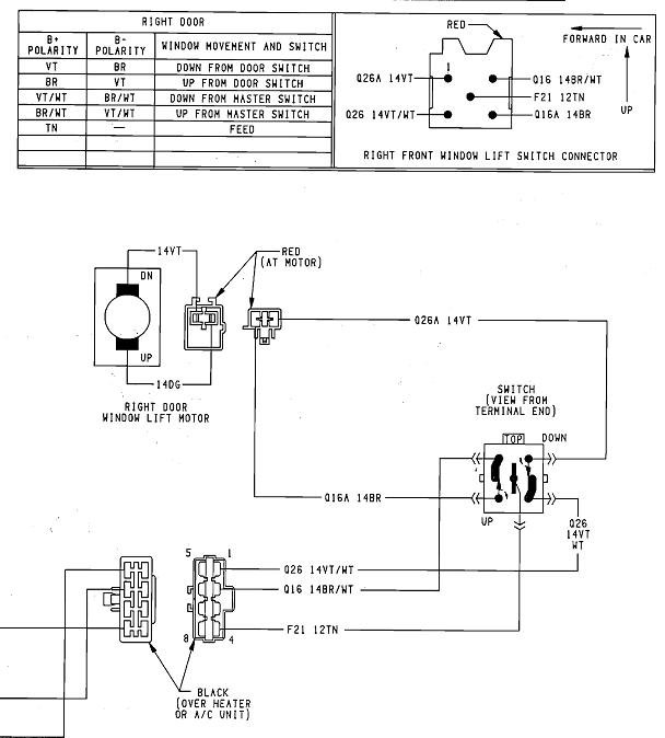
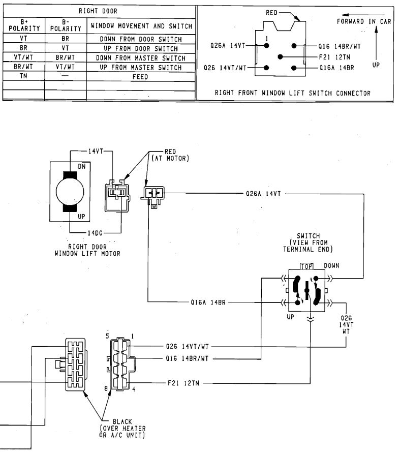
In the second diagram, notice there's no ground wire on that page. They do send a 12-volt feed wire over there, (that's the wire that would have a "lock-out" switch in it, if used, to prevent kids from playing with the windows. Once the passenger's switch is pressed, that contact applies 12 volts to one side of the motor, but the other terminal is still grounded through the released half of the switch, the wire going back to the driver's switch, through that released contact, then back to ground on the same black wire the driver's half of the system uses.

Since we're just looking at the driver's window now, you only have the ground wire and the 12-volt feed wire to worry about. The others are for the passenger window. If you have to repair some wires, you'll want to do all of them right away. Let me know first. I'll be typing up the repair description later to have ready to add if necessary.
Was this
answer
helpful?
Yes
No
Sunday, September 22nd, 2019 AT 12:29 AM
Tiny
CARADIODOC
  • MECHANIC
  • 34,464 POSTS
Now I remember what the problem was a few nights ago. I get error messages when trying to upload diagrams. I'll keep trying, so hang in there.
Was this
answer
helpful?
Yes
No
+1
Sunday, September 22nd, 2019 AT 12:29 AM
Tiny
STEVE W.
  • MECHANIC
  • 15,676 POSTS
Door wiring.
Was this
answer
helpful?
Yes
No
+1
Sunday, September 22nd, 2019 AT 8:36 AM
Tiny
CARADIODOC
  • MECHANIC
  • 34,464 POSTS
Tst
Was this
answer
helpful?
Yes
No
Monday, September 23rd, 2019 AT 4:22 PM
Tiny
CARADIODOC
  • MECHANIC
  • 34,464 POSTS
Diagrams
Was this
answer
helpful?
Yes
No
Tuesday, October 1st, 2019 AT 3:37 PM
Tiny
CARADIODOC
  • MECHANIC
  • 34,464 POSTS
Diagrams are able to be uploaded now, to go with my previous circuit description. I figured out the problem which involved renaming the titles I gave to my diagrams. Problem is now they're out of order, so I'm going to retype my previous reply and try to fix the description.
Was this
answer
helpful?
Yes
No
Tuesday, October 1st, 2019 AT 3:40 PM
Tiny
CARADIODOC
  • MECHANIC
  • 34,464 POSTS
Okay; lets try this again. The first two are of the entire power window system.

The third diagram just shows that if you get all the way down to the motor, there's two quick continuity checks you can do that may verify the switch and wiring are okay. You'll want to unplug the motor, otherwise you'll be able to read through the motor, then to ground on both of the wires. If one is open, you won't catch that because the meter will be reading through the motor, then to ground on the other wire. In this case, the blue arrow is pointing to the light blue wire in the motor's plug, and if you follow the blue line, it goes to the upper left switch, which is released, through that one, then onto the ground wire that ends under the dash. If you were to follow the white wire the same way, you'd see it goes through the released lower left switch, then onto the same ground circuit. To say that a simpler way, both motor wires should have continuity to ground as long as the switch is plugged in and those two sets of contacts are good. The reason I said this "may" show those circuits are okay is because if one of those contacts is arced or burned just a little, or if the ground wire is 99 percent broken, but just one single strand remains intact, you'll get a good reading. Those things will prevent sufficient current from passing to run the motor, so voltage tests in a completely connected circuit are more trustworthy than continuity tests.

In the fourth diagram, I just blanked out the part of the driver's switch that is for the passenger window, to lessen the confusion. What's left on the left side of the switch assembly is all for the driver's window.

The fun starts in the fifth diagram. If you look closely at the top left switch, that one is pressed in the "up" direction. The movable contact has moved away from the ground terminal where it was at rest, then moved over to the 12 volt contact. 12 volts is applied to one motor terminal, and the other one is still grounded through the released lower left contact. When you press "down", the top contact stays grounded, and 12 volts is applied to the lower motor terminal, so the motor runs the other way. Power locks and power mirrors work the same way. The switch changes the polarity of the voltage applied to the motor.

I added the sixth diagram to just show that there's actually four sets of contacts in the switch, and if one of those ground contacts is burned, it will prevent the circuit from working one way. This becomes more important when working on a passenger window that works one way from both switches, but the other way from only one of the switches. That set of symptoms verifies the wiring between the switches is okay, and one of the switches has a bad contact. The important point is without doing voltage tests to determine which switch is at fault, there is no way to know which one is defective. The switch that works properly both ways could be the one with a burned ground contact, or the other one could have a burned 12-volt contact. The bottom line is the switch that doesn't work one way has a 50 percent chance of being the good switch. If you follow the wires from the driver's switch, through the passenger switch, you'll see current has to go through both released ground contacts in the passenger switch when you press the driver's switch for the passenger window.

I know that sounds confusing, but now to address an intermittent issue, motors don't fail real often, but when they do, it's usually permanent. They typically don't work once in a while. Same with switches. If you take one apart, you might see how the springy contacts slide across each other as they're applied, similar to how older horn relays from the '60s and '70s worked. The high current in both systems causes a lot of arcing when the switch is turned off. The designed-in sliding action helps to scrub the contact to clean off any burned area.

Wiring inside the door isn't going to cause a problem unless someone was in there previously and unhooked a harness from an anchor, then it got caught by moving parts. What's left is the most vulnerable part. That is the wiring between the door hinges. The best potential clue is when you hold the switch pressed, then the affected part runs and stops intermittently as you open and close the door. That is proof the wires are frayed between the hinges. If that is what you ultimately find, I'll describe how I repaired them on older Caravans. A lot of Jeep vehicles used a short wiring harness that could be unbolted, then unplugged on both ends, then you could do the repairs in comfort by your workbench. I never did this repair on a truck, so I don't know how the harness is designed.

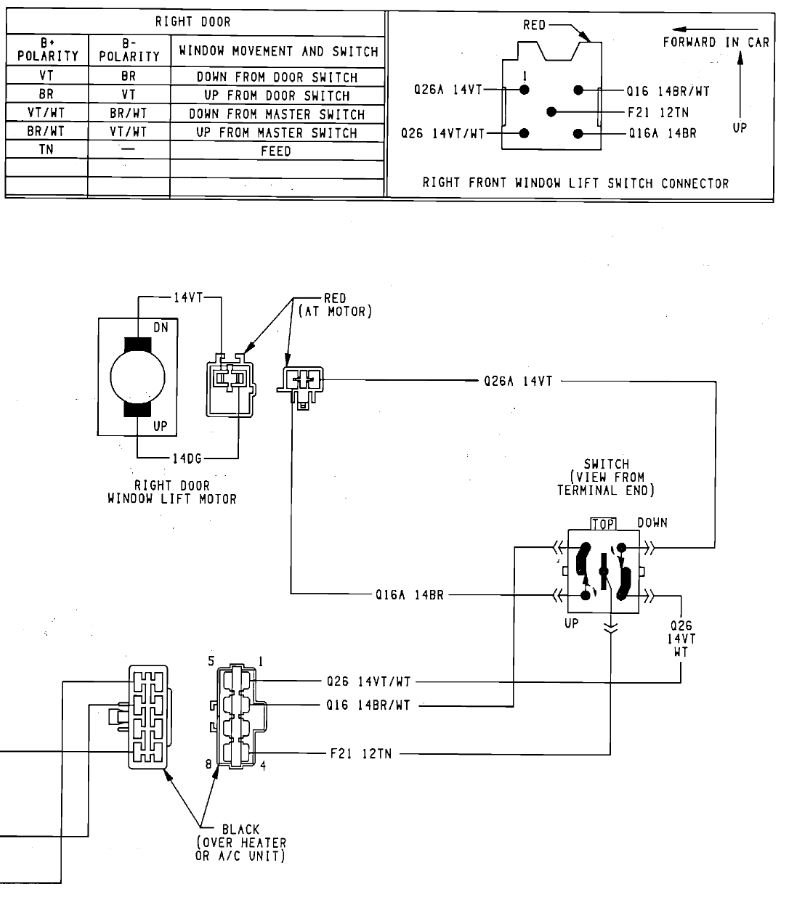
In the second diagram, notice there's no ground wire on that page. They do send a 12-volt feed wire over there, (that's the wire that would have a "lock-out" switch in it, if used, to prevent kids from playing with the windows. Once the passenger's switch is pressed, that contact applies 12 volts to one side of the motor, but the other terminal is still grounded through the released half of the switch, the wire going back to the driver's switch, through that released contact, then back to ground on the same black wire the driver's half of the system uses.

Since we're just looking at the driver's window now, you only have the ground wire and the 12-volt feed wire to worry about. The others are for the passenger window. If you have to repair some wires, you'll want to do all of them right away. Let me know first. I'll be typing up the repair description later to have ready to add if necessary.
Was this
answer
helpful?
Yes
No
Tuesday, October 1st, 2019 AT 3:42 PM
Tiny
??????????
  • MEMBER
  • 5 POSTS
Thanks for your attempt to help out. I check the wire/all good. I have replaced many regulators/motors. This door very different from the older doors I worked on in 1960's, 1970's, 1980's, ( Lincoln, Ford, Dodge, Chevy, Mercury, etc. Door is spot welded and riveted together. Not being too old to learn, I called my son who’s also a Master medium/ Heavy Duty Truck/Bus / Equipment Mechanic/ just like the ol man. Only better! He came by on his day off, and was going to help by cutting bottom rivets off. He looked at the door and said no way! He called a friend at a dealership, and they told him to do a “ Quick Access “, which amounted to hole-sawing 2/3 holes in door panel for access to the regulator/motor mount bolts. Pulled the motor/regulator, found motor too weak to work when it reached the “Spring position, new motor ordered. Thanks, J. B.
Was this
answer
helpful?
Yes
No
Wednesday, October 2nd, 2019 AT 6:46 PM
Tiny
STEVE W.
  • MECHANIC
  • 15,676 POSTS
Good to hear you found the problem. The way they are built these days it can drive you up a wall doing repairs. My favorites are the actuators on the HVAC, you have to tear the entire dash and heater box out to change a $10.00 part, that could have been put on the opposite side where you could change it by reaching up under the dash!
Thank you for using 2CarPros. Please return anytime with your automotive questions.
Was this
answer
helpful?
Yes
No
Saturday, October 5th, 2019 AT 9:26 PM

Please login or register to post a reply.