Start the truck fire right up but will stall out 5-7 times then starts and runs?

Tiny
JOHN LAYMAN
  • MEMBER
  • 2000 CHEVROLET BLAZER
  • 4.3L
  • V6
  • 2WD
  • AUTOMATIC
  • 199,000 MILES
Mainly in the colder months I go to start the truck fire right up but will stall out 5-7 times then start and run. I have changed the cam shaft sensor and crankshaft position sensor, but still not starting. Any ideas?
Saturday, October 1st, 2022 AT 11:54 AM

2 Replies

Tiny
KEN L
  • MASTER CERTIFIED MECHANIC
  • 55,488 POSTS
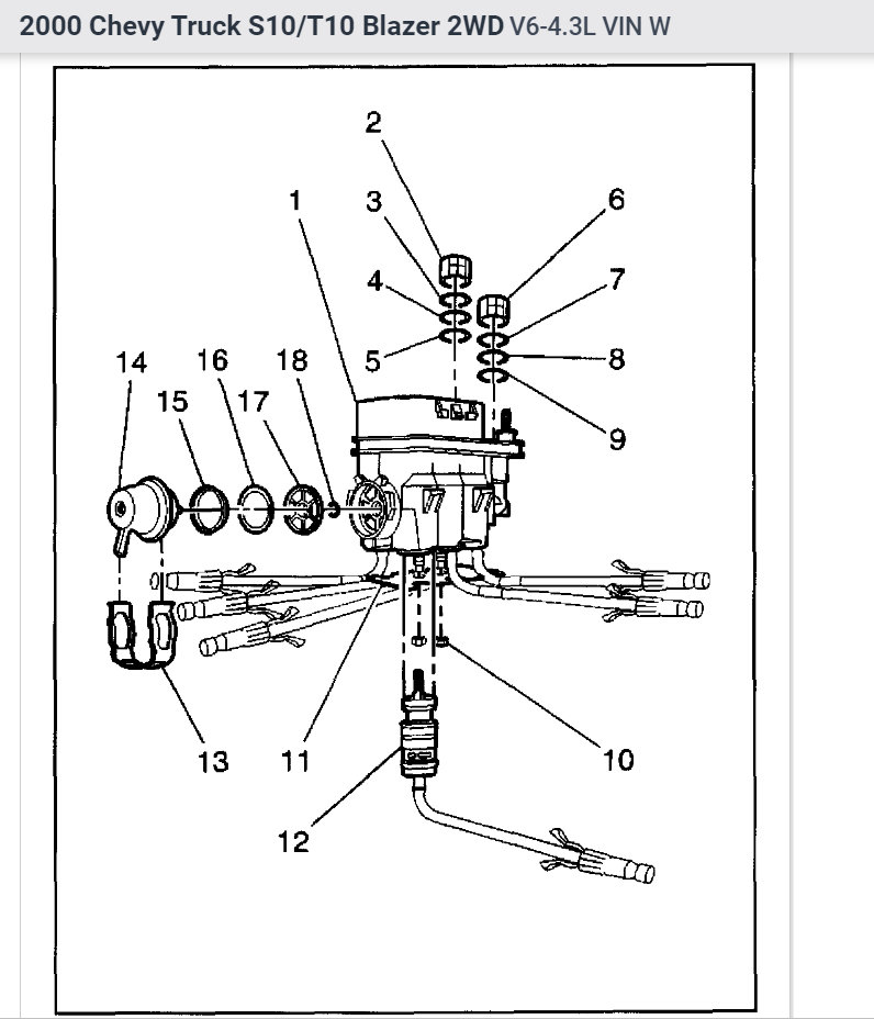
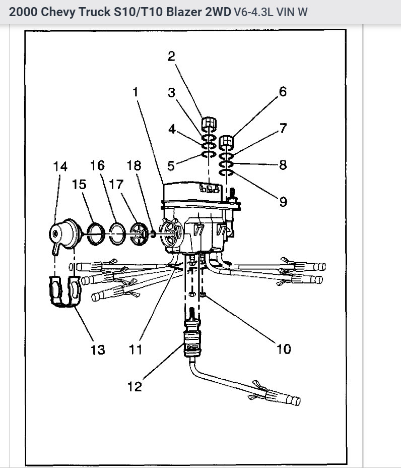
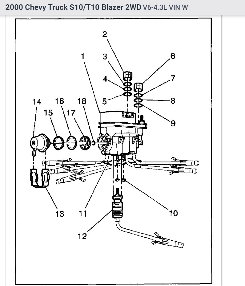
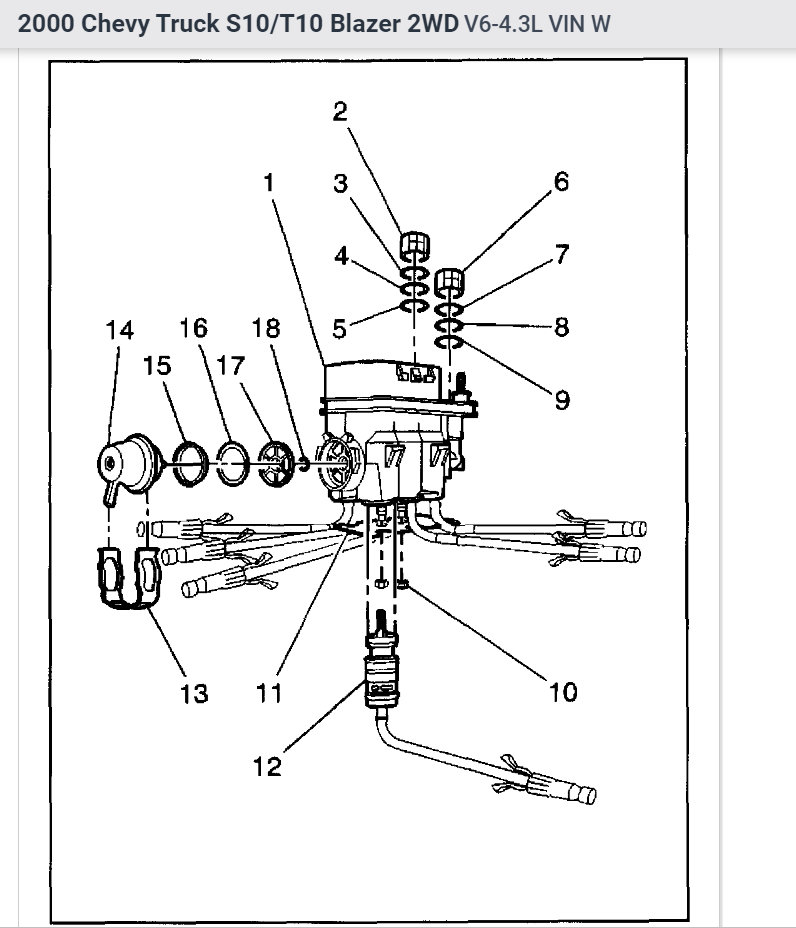
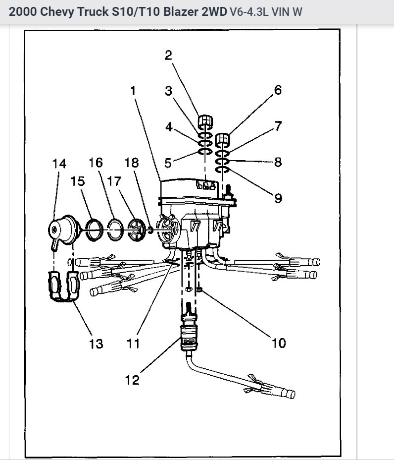
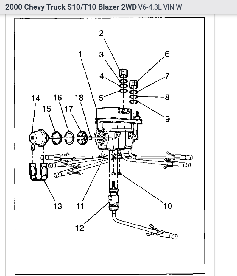
Yep, do you have black smoke from the tailpipe when this happens? If so, it sounds like you have a spider injector and fuel pressure regulator that is going out which is common, when you get a new one make sure it is an ACDelco unit. Here is how the job is done in the images below. Make sure you get the fuel pressure regulator as well.

We should check the fuel pressure as well because a bad fuel pump can do the same thing.

https://www.2carpros.com/articles/how-to-check-fuel-system-pressure-and-regulator

You can get a fuel pump pressure gauge from the auto parts store and rent it for cheap.

Key On Engine Off .................... 60-66 psi

Check out the images (below). Let us know what happens and please upload pictures or videos of the problem.
Was this
answer
helpful?
Yes
No
Saturday, October 1st, 2022 AT 1:00 PM
Tiny
JOHN LAYMAN
  • MEMBER
  • 2 POSTS
Just tried starting and did the same thing. Now it has a lot of white smoke after it was running.
Was this
answer
helpful?
Yes
No
Saturday, October 1st, 2022 AT 1:47 PM

Please login or register to post a reply.