Will not crank

Tiny
IVANPARRISH
  • MEMBER
  • 2006 SUBARU FORESTER
  • 4 CYL
  • 4WD
  • AUTOMATIC
  • 140,000 MILES
The car will not crank and I don't think the fuel pump is getting power. The starter will engage if you supply 12v to the engage supply. Did head gaskets removed engine.
Monday, June 24th, 2019 AT 12:29 AM

6 Replies

Tiny
SCGRANTURISMO
  • MECHANIC
  • 4,897 POSTS
Hello,

When you turn the ignition key does the engine crank and not start, or does it not crank at all?

Thanks,
Alex
2CarPros
Was this
answer
helpful?
Yes
No
Monday, June 24th, 2019 AT 1:48 AM
Tiny
IVANPARRISH
  • MEMBER
  • 4 POSTS
No crank at all, but if you give it 12v it will crank?
Was this
answer
helpful?
Yes
No
Monday, June 24th, 2019 AT 2:23 AM
Tiny
SCGRANTURISMO
  • MECHANIC
  • 4,897 POSTS
Hello again,

I'm sorry, do you mean the starter 12 volts and it will crank?

Thanks,
Alex
2CarPros
Was this
answer
helpful?
Yes
No
Monday, June 24th, 2019 AT 11:01 AM
Tiny
IVANPARRISH
  • MEMBER
  • 4 POSTS
Yes if you jump it with 12v it will turn over not start.
Was this
answer
helpful?
Yes
No
Monday, June 24th, 2019 AT 5:44 PM
Tiny
IVANPARRISH
  • MEMBER
  • 4 POSTS
I have heard the security system can cause the vehicle to shut down the fuel system and the ignition system. Leaning toward the security system being my issue.
Was this
answer
helpful?
Yes
No
Monday, June 24th, 2019 AT 8:51 PM
Tiny
SCGRANTURISMO
  • MECHANIC
  • 4,897 POSTS
Hello again,

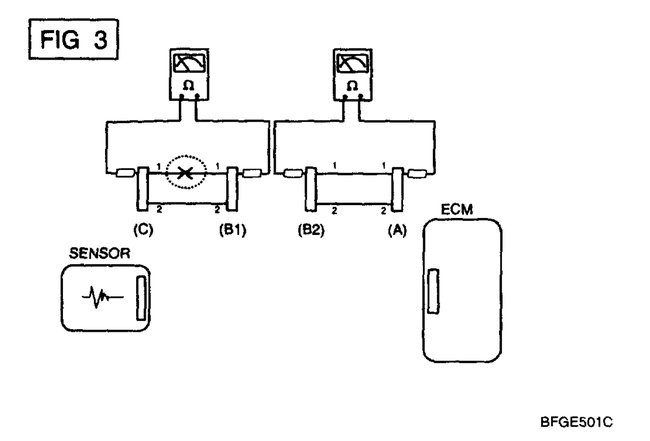
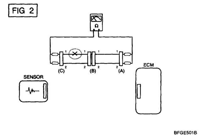
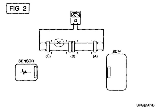
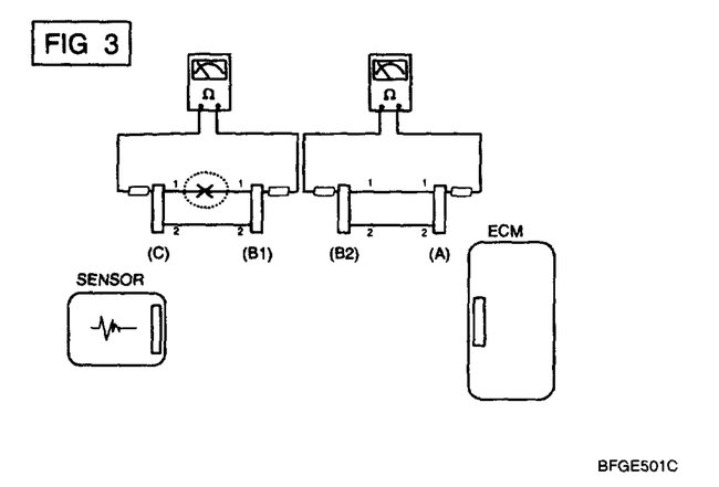
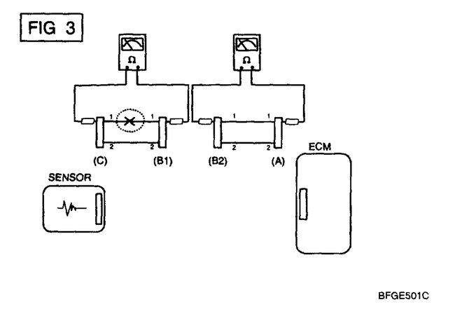
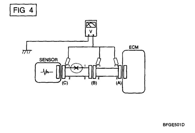
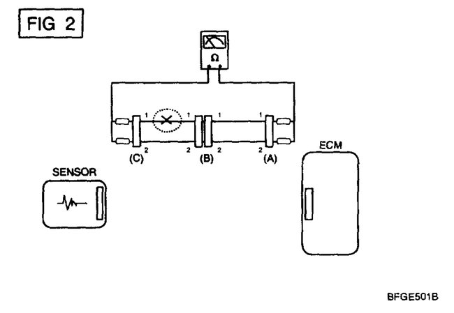
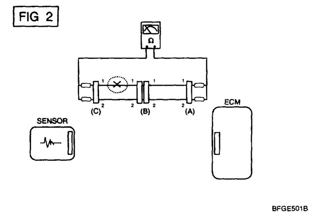
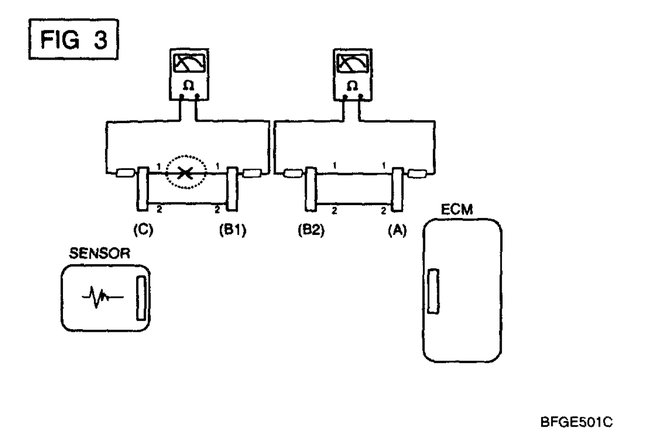
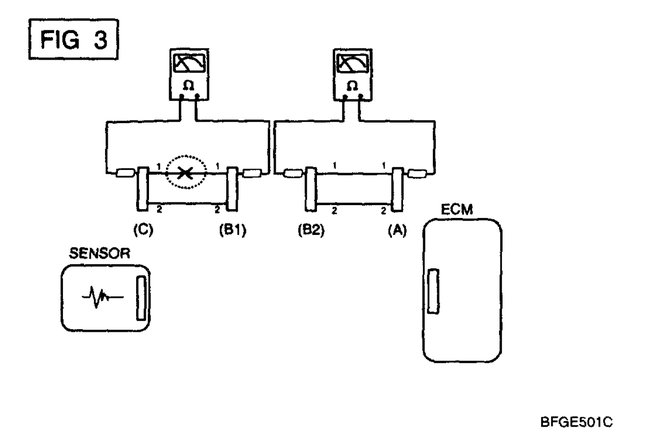
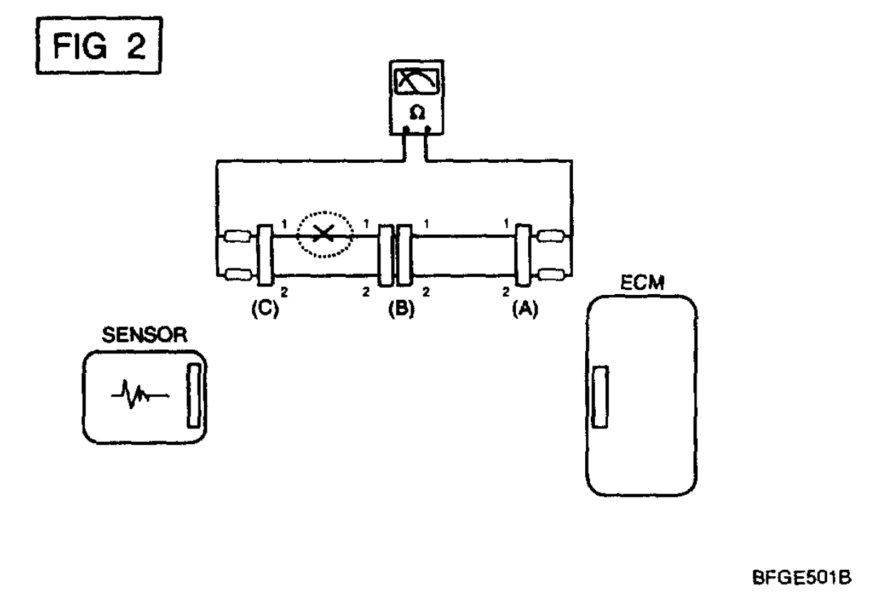
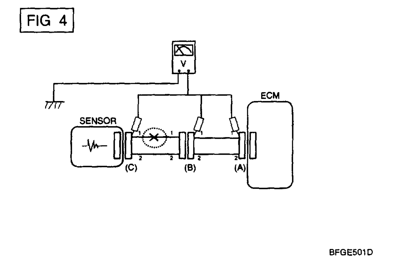
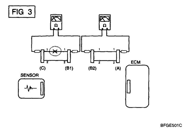
If it is the security system that is the problem then when you jump the starter your vehicle still wouldn't start because the spark plugs and the fuel injectors would not work from the security system. It would just crank and that's it. No the problem is going to be an open in the circuit somewhere in between the battery and the starter. In the diagrams down below I have included a wiring diagram of your vehicle's starting circuit and instructions on how to find an open in any electrical circuit.I have highlighted all the sections of the circuit to check for you as well. It will require you to use a multi-meter and here is a link for you if you are unfamiliar with how to use one:

https://www.2carpros.com/articles/how-to-use-a-voltmeter

Please go through these guides, find the open in the circuit, and report back here to us with where it was, please.

Thanks,
Alex
2CarPros
Was this
answer
helpful?
Yes
No
Tuesday, June 25th, 2019 AT 1:16 AM

Please login or register to post a reply.