HOME
ASK A QUESTION
REPAIR GUIDES
BECOME A MEMBER
LOG IN
Login with Facebook
OR
Remember me
NOT A MEMBER?
FORGOT PASSWORD?
CONTACT US
PRIVACY POLICY
TERMS AND CONDITIONS
☰
Home
Cadillac
Fleetwood
Climate Control
Air Conditioner
Fuel readout A/C and heat all quit?
CCAMPBELL24
MEMBER
1992 CADILLAC FLEETWOOD
4.9L
V8
2WD
AUTOMATIC
84,600 MILES
Fuel readout AC and heat all quit at the same time.
Tuesday, June 24th, 2025 AT 8:05 AM
1 Reply
KEN L
MASTER CERTIFIED MECHANIC
54,591 POSTS
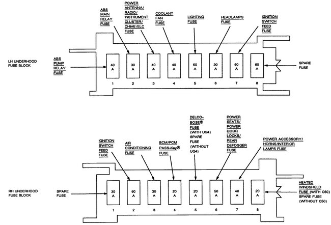
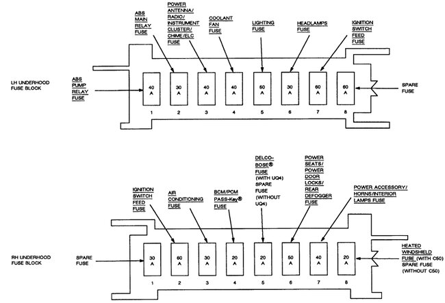
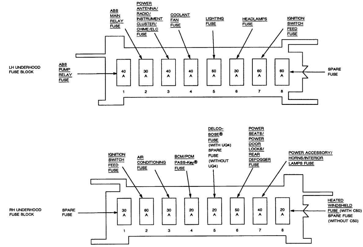
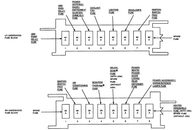
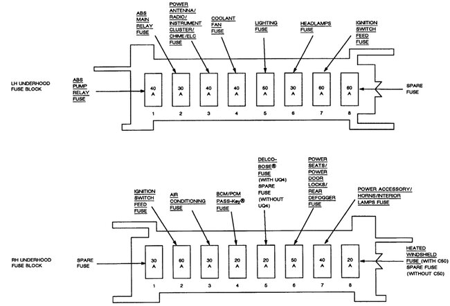
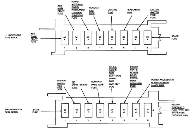
I would start by checking the fuses, this guide can help start testing with the key on:
https://www.2carpros.com/articles/how-to-check-a-car-fuse
Check out the images (below). Please let us know what happens.
Images (Click to make bigger)
Was this
answer
helpful?
Yes
No
Tuesday, June 24th, 2025 AT 1:01 PM
Please
login
or
register
to post a reply.
Related Air Conditioner Content
92 Caddy
What Is The A/c Pressure On A 92 Caddy
Asked by
fbdrake
·
1 ANSWER
1992
CADILLAC FLEETWOOD
GUIDE
Air Conditioner
Would you like to know how your vehicle’s air conditioner works? The system looks complicated, but it's really quite simple. Once you know how it delivers cold air you...
1996 Cadillac Fleetwood Doesn't Produce Much Cool Air
Ac Makes Noise, Doesn't Produce Enough Cool Air To Effectly Make A Difference
Asked by
crusin4u
·
1 ANSWER
1996
CADILLAC FLEETWOOD
Electrical Problem
My Odometer, Fuel Gage And Climate Control Is Not Working. Check Fuse And They Are Okay
Asked by
nursing1
·
2 ANSWERS
1992
CADILLAC FLEETWOOD
1996 Cadillac Fleetwood A/c Codes
How Do I Get The Codes To Show Up On The Dash. I Remember Holding In 2 Buttons But Don't Remember Which Ones. And How Do I Reset Them Again.
Asked by
richboyer6
·
1 ANSWER
1996
CADILLAC FLEETWOOD
1994 Cadillac Fleetwood Heater
Heater Dose Not Work? Air Works. Fan Work On Top With Air, Dose Not With Heat? But Fan Is Runing
Asked by
bobhoover
·
1 ANSWER
1994
CADILLAC FLEETWOOD
VIEW MORE
Ask a Car Question. It's Free!
Air Conditioner Recharge - Simple
Heater Hose Replacement Chevrolet Camaro
Air Conditioner Compressor Replacement