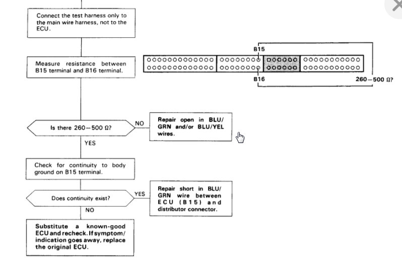
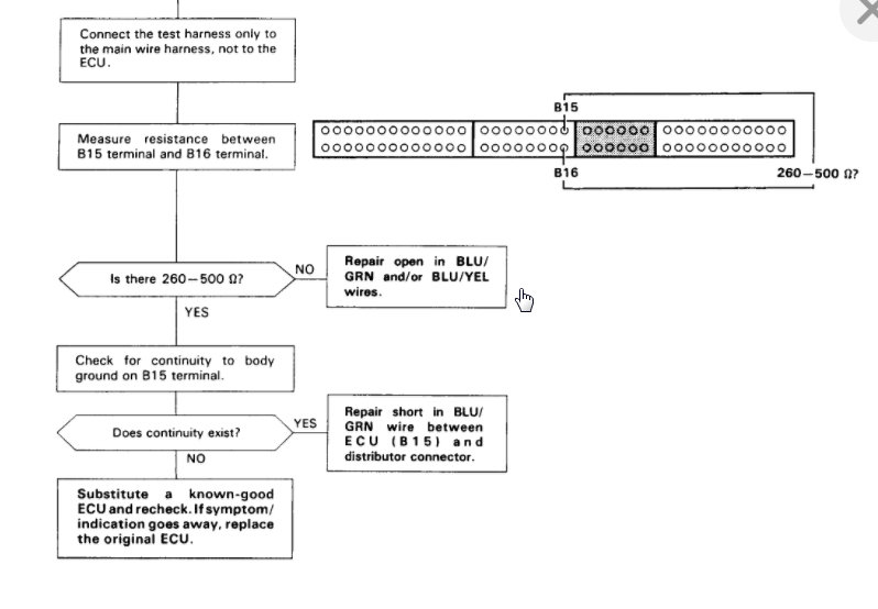
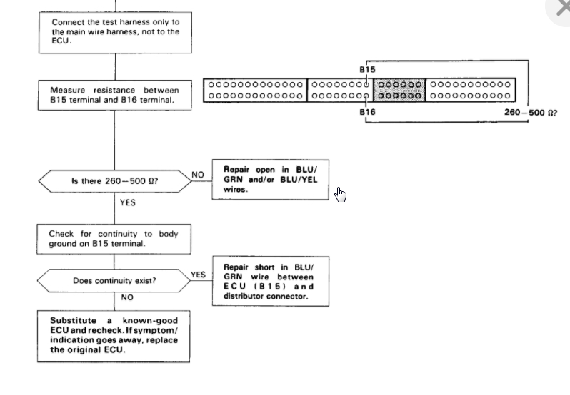
Friday, January 8th, 2021 AT 8:10 PM
I changed the timing belts, did a tune up and oil change, new front and driver motor mounts, got it started. Drove it to work for 2 days (160 miles). First day ran okat it had 1 hesitation, day 2 on the way to work started running bad. Check engine light came on, made it to work. Got off work cleared the codes. Check light went out ran okay for 10 miles then it started; check light came on. Temperature gauge going to hot fast. I turned the heater and the fan to high and hit the A/C switch to make sure the engine fans were on. The temperature came down, had to keep the RPM's at about 2,000 dropping it in to neutral if it slow down and slamming it into gear to go ahead. I got home and read the codes. Two of the distributor sensors were bad and the coolant sensor to the ECM was bad. When I did the time I belts I also did the water pump. So I replaced distributor, coolant switch and thermostat got it running but the d4 light stayed on. Drove 10 miles, check engine light came on, it shut off. Had to push to side of road. Got codes; 4 and 12, One was for igniter, had one so put it in, drove it home where it shut off in the driveway. So, checked main relay, circuits, taped any cracked lines or wiring that looked bad, adjusted throttle cable and throttle lever cable (one that comes off the transmission) and adjusted shift cable. Now it starts up fine (though the d4 light stays on unless brought up to 1,800 RPM's) until it reaches running temperature. Then it shut off unless kept at 1,800 RPM's. If it idles, it shuts off and won't start again until it cools down. No engine codes come up at all now. I have not checked the fast idle sensor and valve or the start idle sensor valve, MAP sensor or the EGR sensor valve. So, any suggestions?









