Cutting out and backfires

Tiny
TSTILLWELL
  • MEMBER
  • 1992 CHEVROLET SILVERADO
  • 7.4L
  • V8
  • 4WD
  • MANUAL
  • 153,000 MILES
After truck warms up driving down road starts to cut out and backfire. Sometimes it will shut off and will not restart. Pulls voltage down on battery but will restart after it cools down.
Saturday, November 24th, 2018 AT 10:56 AM

1 Reply

Tiny
JACOBANDNICKOLAS
  • MECHANIC
  • 110,194 POSTS
Hi and thanks for using 2CarPros.

To be honest, it sounds like the ignition control module is failing when it gets hot. Do me a favor, when it does not restart, check to see if you lost spark to the plugs. Here is a link that shows how that is done:

https://www.2carpros.com/articles/how-to-test-an-ignition-system

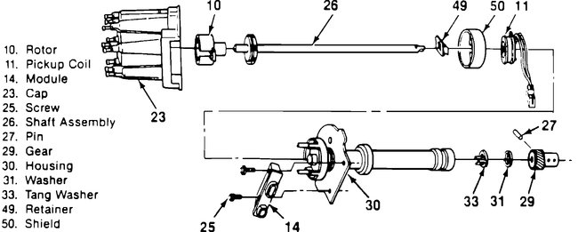
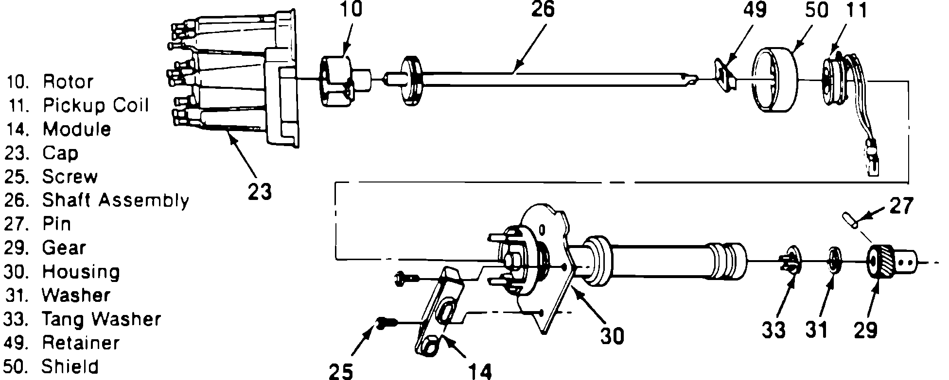
If you find there is no spark to the plugs, my first suspect is the module I mentioned. It is located in the distributor. I attached an exploded view of the distributor to help identify the part. The module is number 14. Also, check the coil pick up. Make sure there is no dirt or rust that could cause it to fail.

If you decide that is the problem, here are the directions for replacing it.

REMOVE OR DISCONNECT

NOTE It is not necessary to remove ignition distributor assembly from engine.

- Distributor cap and rotor.
- Connectors from module.
- Two module attaching screws.
- Lift module from housing and remove.

INSTALL OR CONNECT

NOTE: Do not wipe silicone grease from metal face of module or distributor base (where the module seats), when reinstalling the same module. If new module is to be installed clean distributor module base and spread new silicone grease on base and metal face of ignition module. The purpose of the silicone grease is to cool module.

- Module onto housing.
- Module attaching screws. Tighten to 2 Nm (18 lb.in.)
- Connectors to module.
- Rotor and cap.

Let me know if you lose spark.

Joe
Was this
answer
helpful?
Yes
No
Saturday, November 24th, 2018 AT 9:53 PM

Please login or register to post a reply.