Timing belt

Tiny
JCLEMO
  • MEMBER
  • 2000 KIA SPORTAGE
  • 2.0L
  • 4 CYL
  • 2WD
  • 147,000 MILES
The small gear on the crankshaft doesn't want to budge. I can't find a puller that will fit this thing. It's so small and there is no room to get the hooks behind it with my regular gear puller. I'm trying to change the seal behind it. I'm assuming this is the front main seal? Do they make a special puller for this gear? Also I'd like to know instructions on changing the two camshaft seals. The timing belt look good it's had to have been changed. Also the water pump housing is still shiny like it's fairly new as well. Thanks. Jack
Friday, March 29th, 2019 AT 3:26 PM

4 Replies

Tiny
JACOBANDNICKOLAS
  • MECHANIC
  • 110,192 POSTS
Welcome to 2CarPros.

What you need to get is a steering wheel puller. They are small enough to fit behind the gear and between the obstructions. Most parts stores will lend or rent one to you.

Here are the directions for seal replacement. The attached pics correlate with the directions.

PROCEDURES
REMOVAL
1. Disconnect the negative battery cable.
2. Remove the four undercover bolts.
3. Remove the engine undercover.
4. Remove the timing belt.
5. Remove the timing belt pulley lock bolt.
6. Remove the timing belt pulley.

NOTICE: If necessary, remove the pulley with a steering wheel puller (commercially available).

7. Remove the pulley Woodruff key.
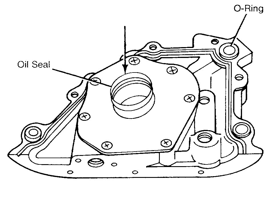
8. Cut the oil seal lip with a razor knife.

Picture 1

9. Remove the oil seal with a screwdriver protected with a shop rag.

INSTALLATION
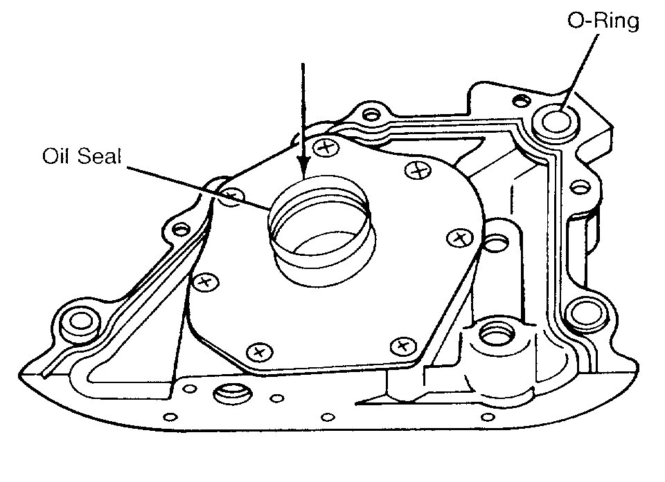
1. Apply a small amount of clean engine oil to the lip of a new oil seal.

Picture 2

2. Push the oil seal slightly in by hand.

NOTICE: The oil seal must be pressed in until it is flush with the edge of the oil pump body.

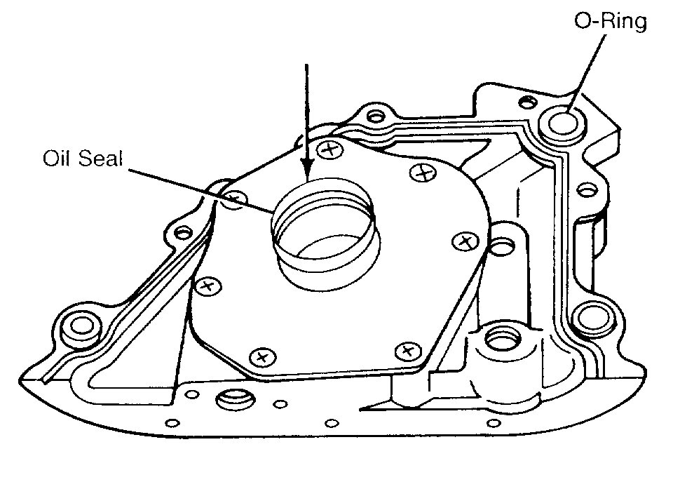
Picture 3

3. Install the oil seal into the oil pump body.
4. Install the timing belt pulley.
5. Install the pulley Woodruff key.
6. Install the pulley lock bolt.

Tighten the lock bolt to 116 - 123 ft. Lbs. (157 - 167 Nm)

7. Install the timing belt.
8. Install the undercover.
9. Install the four undercover bolts.

Tighten the four bolts to 18 ft. Lbs. (25 Nm)

10. Connect the negative battery cable.
11. Start the engine and check the ignition timing.
____________________________

If you need timing information or anything other, let me know.

Take care,
Joe
Was this
answer
helpful?
Yes
No
+1
Wednesday, April 7th, 2021 AT 1:45 PM
Tiny
JCLEMO
  • MEMBER
  • 161 POSTS
Do you know what size the bolts are in the gear on the crankshaft? The ones I used in the puller got bent they we're not strong enough to pull the gear off.
Was this
answer
helpful?
Yes
No
Wednesday, April 7th, 2021 AT 1:45 PM
Tiny
JCLEMO
  • MEMBER
  • 161 POSTS
I can't get the gear off the crankshaft Joe. Help. Jack
Was this
answer
helpful?
Yes
No
Wednesday, April 7th, 2021 AT 1:45 PM
Tiny
JACOBANDNICKOLAS
  • MECHANIC
  • 110,192 POSTS
I'm not sure of the specific thread pitch. However, if yours bent, it sounds like they weren't parallel with where they screw into the crankshaft gear. Also, you can get a steering wheel puller that is a claw type. They are much thinner and will fit. The top of the puller, however, must not be larger than the diameter of the pulley. Most parts stores will have them. It is a standard item.
Was this
answer
helpful?
Yes
No
+1
Wednesday, April 7th, 2021 AT 1:45 PM

Please login or register to post a reply.