Saturday, May 18th, 2013 AT 12:55 PM
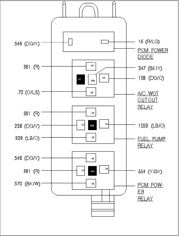
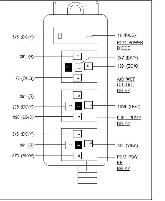
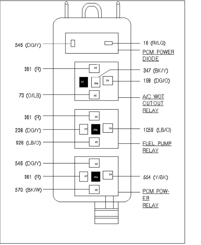
I have a 1999 crown vic police interceptor 4.6 v8 have replaced radiator cooling fan and also installed after market temp gauge cooling fan does not come on with engine running or shut down shop manual indicates fan should kick in at 221* engine ran hot fluid levels all in range as per mfg. Problem I dont know which relay to test fuse/breaker box located in engine compartment.







