My parking brake is on and the release handle broke

Tiny
ANDY KRAK8
  • MEMBER
  • 2006 CHRYSLER 300
My parking brake is on and the release handle broke. Is there a way to release the park brake without the release handle?
Sunday, November 9th, 2008 AT 7:25 PM

1 Reply

Tiny
KEN L
  • MASTER CERTIFIED MECHANIC
  • 55,475 POSTS
Hello,

Not without cutting the parking brake cables it best to get it released. Here is a guide (below) on how to fix the problem. You can release the lever by activating the release on the mechanism. You can do this by pulling on #4 in the diagrams below.

Raise and support vehicle.

https://www.2carpros.com/articles/jack-up-and-lift-your-car-safely

NOTE: Due to short travel and low spring tension, it is not necessary to lock-out parking brake lever to service parking brake components.

Disconnect front parking brake cable (5) at connector (3) to right rear parking brake cable.
Lower vehicle.
Remove fasteners (6) securing steering column opening cover (1) in place.
Disconnect wiring connector (3) at decklid release switch.
Disconnect parking brake release cable (4) at lever (5) and remove steering column opening cover (1).

Disconnect wiring connector (7) at parking brake switch (1).
Disconnect front parking brake cable strand (3) at lever connector (2).

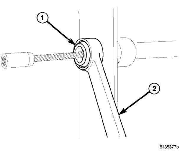
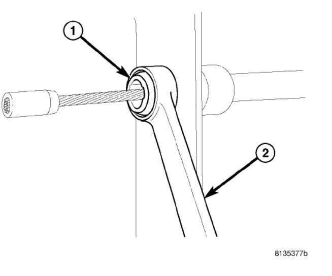
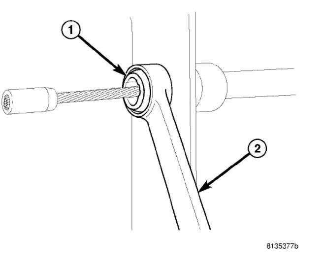
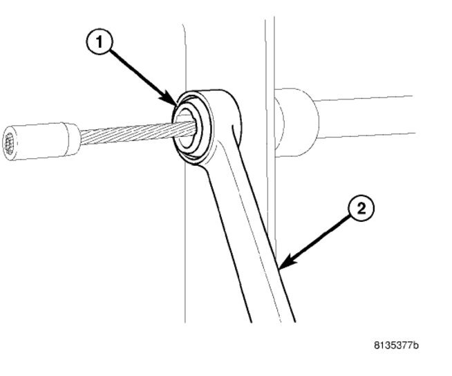
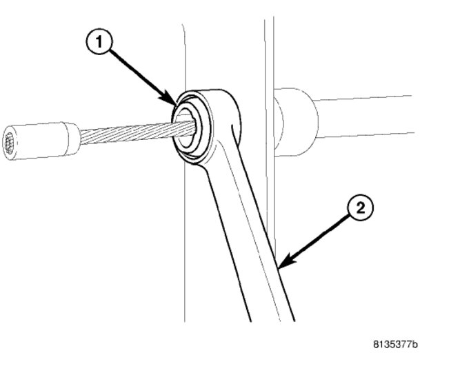
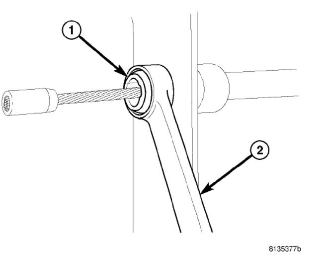
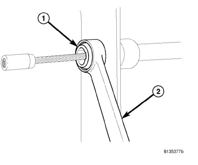
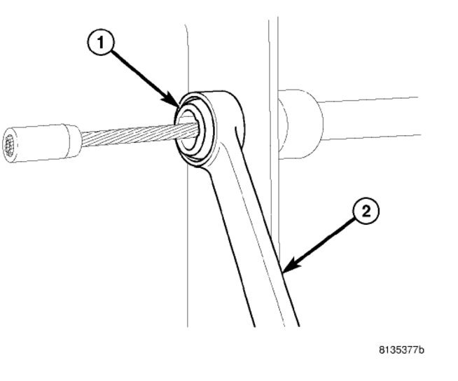
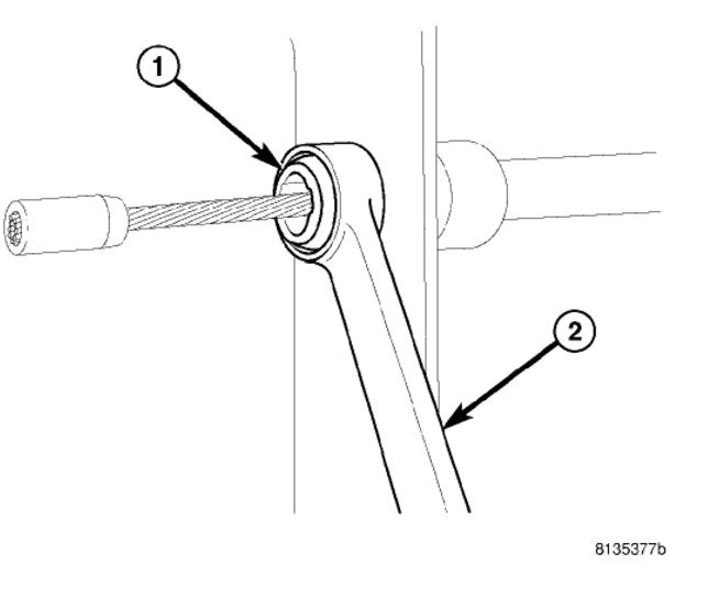
Place 13 mm 12-point box wrench (2) over cable retainer (1) at lever bracket as shown to collapse retainer fingers. Pull cable from bracket.

Remove bolt (4) and two nuts (2) mounting parking brake lever (3) to body (5).
Remove parking brake lever (3).

Please let us know if you need anything else to get the problem fixed.

Cheers, Ken

Was this
answer
helpful?
Yes
No
+2
Thursday, June 1st, 2017 AT 12:54 PM

Please login or register to post a reply.