Saturday, April 4th, 2009 AT 4:06 PM
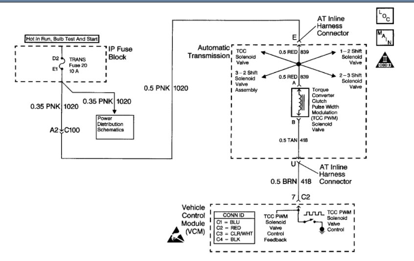
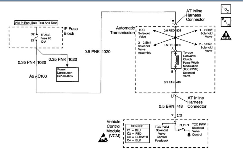
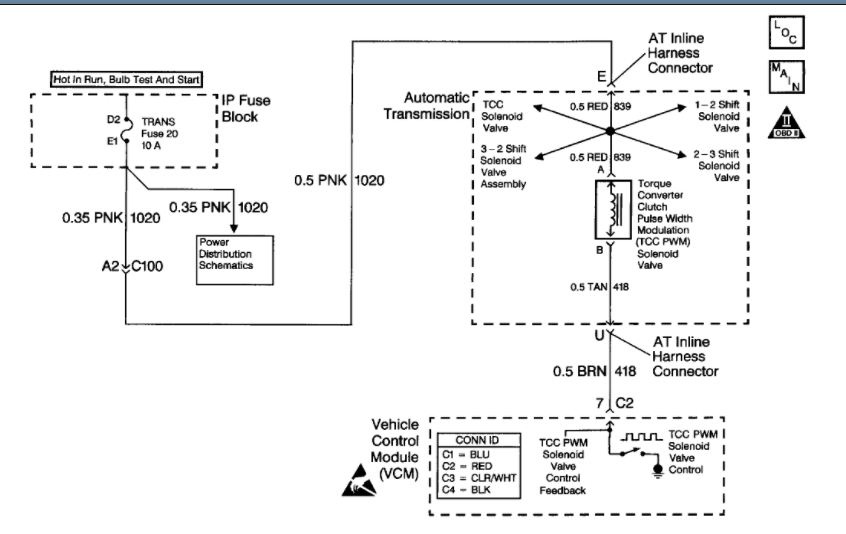
Changed the tcc pwm solenoid circuit. The p1860 message tells you to change. The change went good new part installed and still getting service enginee light. Had computer hooked up reset the code and 3 blocks later came back on. Hooked computer back up and still getting the p1860 message. Brand new part why doesn't it go off, service engine light, that is. Was told light will go off after 120 miles. Is this true? If not what next? I have to get it to pass smog and can't do it with service light on. Please help.







