P1345 code repair fix solved?

Tiny
JOHNDEEREMAN
  • MEMBER
  • 2001 CHEVROLET SILVERADO
  • 6 CYL
  • 2WD
  • MANUAL
  • 104,000 MILES
Check engine light keeps coming on, code is P1345, ckp/cpm corolation problem, checked wiring and fuses can not seem to get code clear. Wondering what causes this code
Friday, February 6th, 2009 AT 1:23 PM

20 Replies

Tiny
BRIAN 1
  • MECHANIC
  • 1,030 POSTS
A bad crank position sensor, had some with high mileage get worn this video will show you how to fix it.

https://youtu.be/-Ib3Lkde3Wo

Please let us know if you need anything else to get the problem fixed.
Was this
answer
helpful?
Yes
No
Friday, February 6th, 2009 AT 2:09 PM
Tiny
AARON WITHINGTON
  • MEMBER
  • 1 POST
  • 1997 CHEVROLET SILVERADO
  • 5.7L
  • V8
  • 4WD
  • AUTOMATIC
  • 153,000 MILES
Starts runs rough, will not idle. New fuel pump and fuel filter, new crank position and throttle.
Was this
answer
helpful?
Yes
No
Thursday, May 6th, 2021 AT 1:54 PM (Merged)
Tiny
DANNY L
  • MECHANIC
  • 5,648 POSTS
Hello, I'm Danny.

The code P1345 is for Crankshaft/Camshaft correlation and code P1351 is for Ignition Coil Control circuit high voltage. Here is a tutorial on how to test your trucks wiring:

https://www.2carpros.com/articles/how-to-check-wiring

I've attached step-by-step instruction pictures for your truck below to help get started diagnosing your vehicle.Hope this helps and thanks for using 2CarPros.
Was this
answer
helpful?
Yes
No
Thursday, May 6th, 2021 AT 1:54 PM (Merged)
Tiny
INDO54
  • MEMBER
  • 2 POSTS
  • 1997 CHEVROLET SILVERADO
  • 5.7L
  • V8
  • 2WD
  • AUTOMATIC
  • 150,000 MILES
I recently purchased this pickup from a family member and they replaced a lot of parts trying to figure it out, that what I'm trying to avoid. So, here goes. When I start truck it usually starts fairly easy and fairly soon after starts surging or hiccuping like, if I don't do anything it will keep doing it until it stalls. If I give it gas it will stumble a bit and then eventually kind of clear up enough to where the response of the giving it gas is good. If I floor it it will get passed all that and seem good for a half a minute or so almost like it loads up again. I can unplug the MAF sensor and it will run great except for the poor fuel mileage. The computer was replaced with a new one, new coil, new "used" distributor, new MAF sensor, new battery, new alternator, and new plugs. I know that it hasn't had the distributor adjusted on a scan tool (to get with the +-2°) and have been trying to find a scanner capable to use to do it but haven't as of yet. Could that be the reason of what's going on? Also the check engine light is on and it's throwing the P1345 code which I think will stay on until distributor is adjusted correctly? Ultimately, I cannot smog it and don't have endless funds to keep throwing whatever at it and honestly I don't like working on things like that anyways. Any and all help is greatly appreciated. Thank you for your time. Brandon
Was this
answer
helpful?
Yes
No
Thursday, May 6th, 2021 AT 1:55 PM (Merged)
Tiny
KASEKENNY
  • MECHANIC
  • 18,907 POSTS
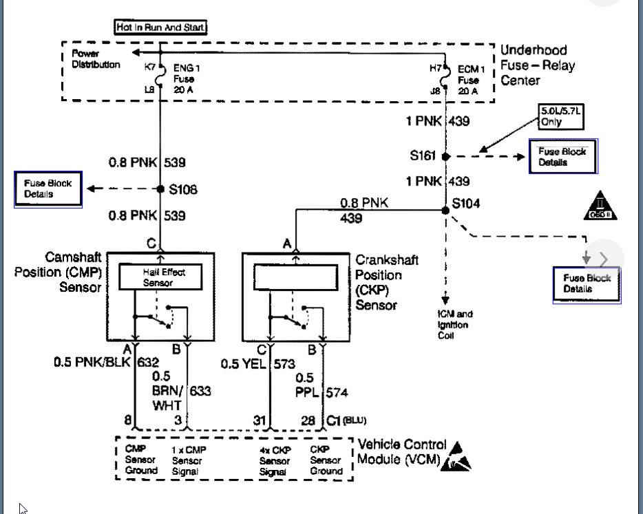
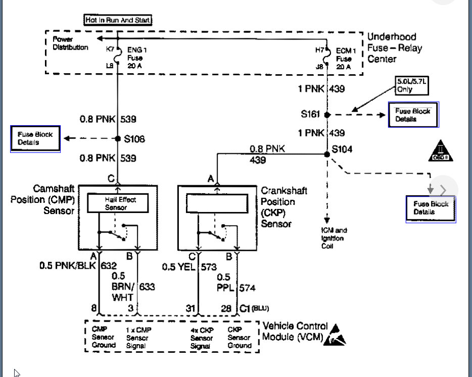
Here is the diagram information for this code. Based on what was replaced, I suspect you will find the crank sensor is the issue (step 2).

Basically this code is saying that the cam shaft and crank shaft sensor are not telling the computer the engine is moving at the same speed.

Let me know if you have questions but I think you will be on the right path after reviewing this material and following this test. Thanks
Was this
answer
helpful?
Yes
No
Thursday, May 6th, 2021 AT 1:55 PM (Merged)
Tiny
INDO54
  • MEMBER
  • 2 POSTS
First thank you very much for your time, it is greatly appreciated. I am going to follow what you gave me as soon as I get home. I do have a question though, about the distributor adjustment process. Is it true that the only way to get the truck timed correctly is by using a scan tool capable of reading and showing the cam retard in degrees and getting it within +, - 2°? Am I going to have to have that done? Or should I? Thank you again for your time and expertise.
Was this
answer
helpful?
Yes
No
Thursday, May 6th, 2021 AT 1:55 PM (Merged)
Tiny
KASEKENNY
  • MECHANIC
  • 18,907 POSTS
Sounds good.

Yes. You pretty much nailed it as regards to the timing. Attached is the procedure.

I would have this checked but normally you would have more than just the CMP/CKP correlation code. You would have this code but other timing codes to go along with it. Checking it is always a good idea.
Was this
answer
helpful?
Yes
No
Thursday, May 6th, 2021 AT 1:55 PM (Merged)
Tiny
JIMRHALL
  • MEMBER
  • 1 POST
  • 1997 CHEVROLET SILVERADO
  • V8
  • 4WD
  • AUTOMATIC
  • 13,635 MILES
We get a code P1345 that says the code is undefined. In our Chilton's book P1345 says it's the Crankshaft position/ Camshaft position (CKP/CMP) correlation. It starts and runs then runs rough and dies. We just put it back together after changing the head gaskets. I'm not understanding what this means.

Thanks,
Jim
Was this
answer
helpful?
Yes
No
Thursday, May 6th, 2021 AT 1:55 PM (Merged)
Tiny
BLUELIGHTNIN6
  • MECHANIC
  • 16,542 POSTS
Sounds like you installed the distributor incorrectly.
Was this
answer
helpful?
Yes
No
Thursday, May 6th, 2021 AT 1:55 PM (Merged)
Tiny
MC D
  • MEMBER
  • 1 POST
Yes I think your off one tooth make sure with motor at top dead center that rotor is pointing at #1cyinder then adjust dist base to #1 on cap so cam retard is at 0.
Was this
answer
helpful?
Yes
No
+1
Thursday, May 6th, 2021 AT 1:55 PM (Merged)
Tiny
GREEN6977
  • MEMBER
  • 25 POSTS
What do u mean so cam retard is at 0
Was this
answer
helpful?
Yes
No
Thursday, May 6th, 2021 AT 1:55 PM (Merged)
Tiny
WILLIAM MORRIS
  • MEMBER
  • 6 POSTS
  • 1996 CHEVROLET SILVERADO
  • V8
  • 2WD
  • AUTOMATIC
Im getting a p1345 code on the scanner, I have just rebuilted the motor, The wires to the distributor were broke while takeing the engine out, I replaced the connector, still getting the code. I have searched for a wireing diagram for it, can't fine one. Can yall help in any way. Thanks
Was this
answer
helpful?
Yes
No
Thursday, May 6th, 2021 AT 1:56 PM (Merged)
Tiny
WRENCHTECH
  • MECHANIC
  • 20,761 POSTS
The wiring diagram isn't going to help you. The problem is the distributor is installed incorrectly. You probably tried to use a timing light to set it and that can't be done. You need a professional scan tool that can read the cam/crank offset. The problem is the cam sensor in the distributor is not synched with the crank sensor signal. There is a PID in there that reads offset and it needs to be set to zero or very close. Anything over 4 degrees plus or minus with set that code.
Was this
answer
helpful?
Yes
No
+1
Thursday, May 6th, 2021 AT 1:56 PM (Merged)
Tiny
WILLIAM MORRIS
  • MEMBER
  • 6 POSTS
When I set the distributor, I had #1 cylinder at top dead center, I thought that would be the right way to put the dist back in
Was this
answer
helpful?
Yes
No
+2
Thursday, May 6th, 2021 AT 1:56 PM (Merged)
Tiny
WRENCHTECH
  • MECHANIC
  • 20,761 POSTS
That's a starting point but you need to fine tune that with a scan tool.
Was this
answer
helpful?
Yes
No
+1
Thursday, May 6th, 2021 AT 1:56 PM (Merged)
Tiny
WILLIAM MORRIS
  • MEMBER
  • 6 POSTS
How do I synch it with the scan tool, I havent done anything like that before. Thanks again for the information.
Was this
answer
helpful?
Yes
No
+2
Thursday, May 6th, 2021 AT 1:56 PM (Merged)
Tiny
WILLIAM MORRIS
  • MEMBER
  • 6 POSTS
Wrenchtech, I have done what you have said to do, Now my question is, The timeing is set at TDC, The scanner is showing 22 deg after TDC, I was able to put a timeing light on it, It is showing about an 1 1/2 inch before TDC. Any sugestions about what to do with it.
Thanks again
Bill
Was this
answer
helpful?
Yes
No
+1
Thursday, May 6th, 2021 AT 1:56 PM (Merged)
Tiny
WRENCHTECH
  • MECHANIC
  • 20,761 POSTS
Nothing at all. The timing is not adjustable, cannot be changed and controlled by the computer.
Was this
answer
helpful?
Yes
No
Thursday, May 6th, 2021 AT 1:56 PM (Merged)
Tiny
WILLIAM MORRIS
  • MEMBER
  • 6 POSTS
Something had to be able to be done, I cant keep playing with the distributor, The p1345 code is no longer there, I am getting a p0300 sometimes now
Was this
answer
helpful?
Yes
No
+1
Thursday, May 6th, 2021 AT 1:56 PM (Merged)
Tiny
WRENCHTECH
  • MECHANIC
  • 20,761 POSTS
You cant change the timing. Turning the distributor only changes the synchronizing of the cam sensor, not the timing. If you have a misfire issue, look elsewhere.
Was this
answer
helpful?
Yes
No
+1
Thursday, May 6th, 2021 AT 1:56 PM (Merged)

Please login or register to post a reply.