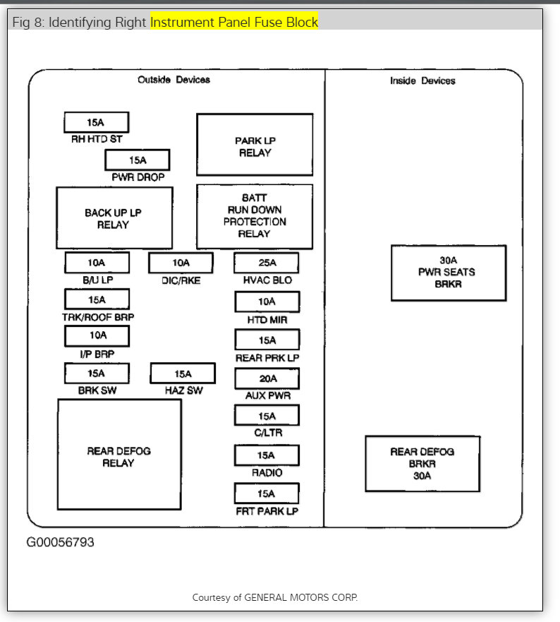
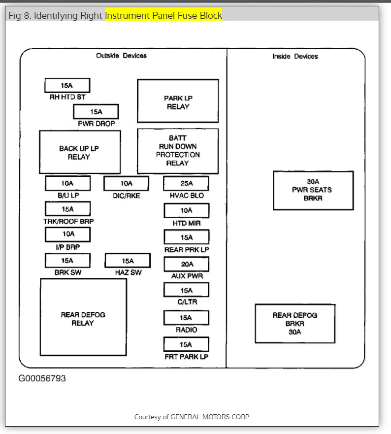
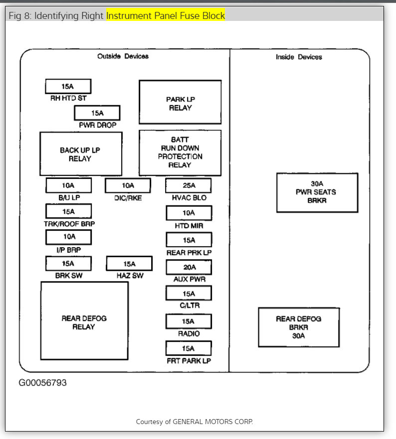
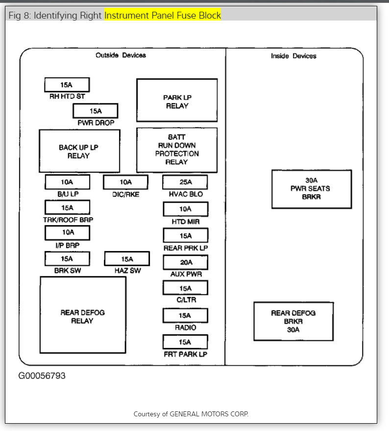
Tuesday, July 28th, 2009 AT 11:08 AM
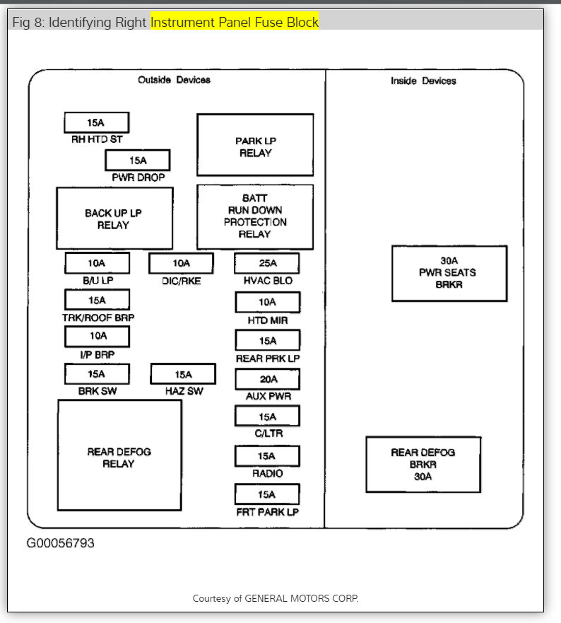
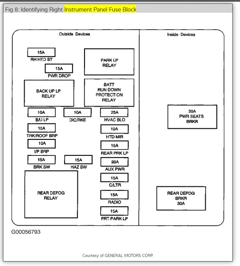
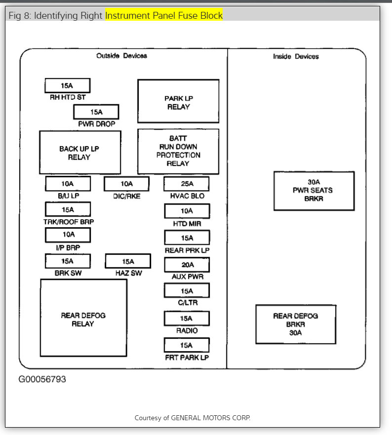
The power windows on my car just went fizzle when I tried to roll them down on the ninety degree day. I pulled the fuse box and checked each one and noticed that there is no fuse on the box for the power window system. How do I fix my windows and what do I need to do?







