HOME
ASK A QUESTION
REPAIR GUIDES
BECOME A MEMBER
LOG IN
Login with Facebook
OR
Remember me
NOT A MEMBER?
FORGOT PASSWORD?
CONTACT US
PRIVACY POLICY
TERMS AND CONDITIONS
☰
Home
Chevrolet
Cavalier
Steering
Steering Wheel
Locked steering wheel
ELTON HOWARD
MEMBER
2002 CHEVROLET CAVALIER
Steering problem 6 cyl Front Wheel Drive Manual 300000 miles
The steering wheel locked up and need to know how to unlock it.
Sunday, September 12th, 2010 AT 8:43 AM
1 Reply
KEN L
MASTER CERTIFIED MECHANIC
55,404 POSTS
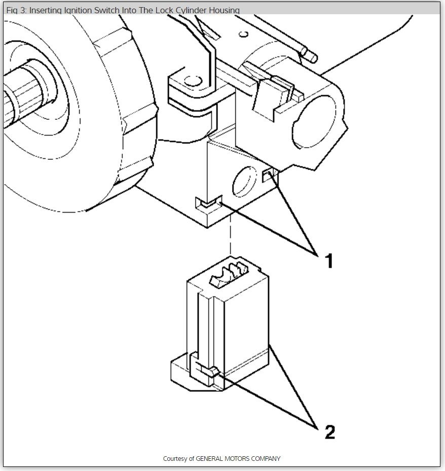
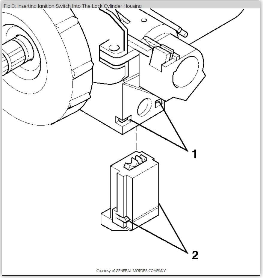
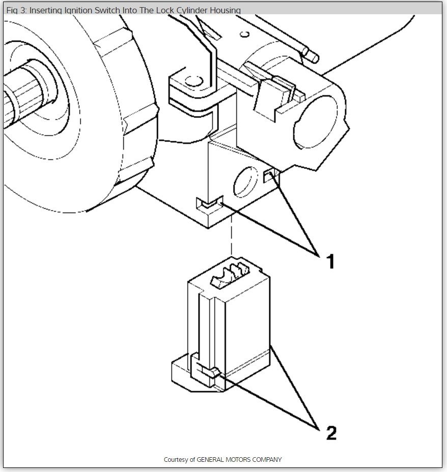
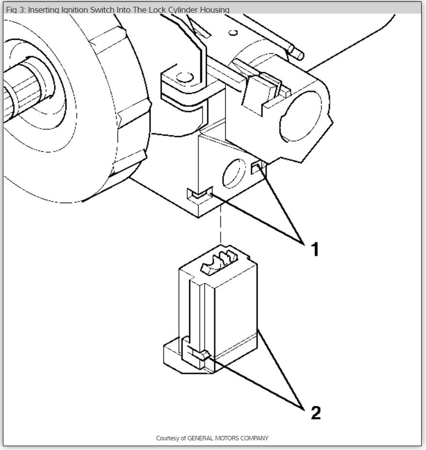
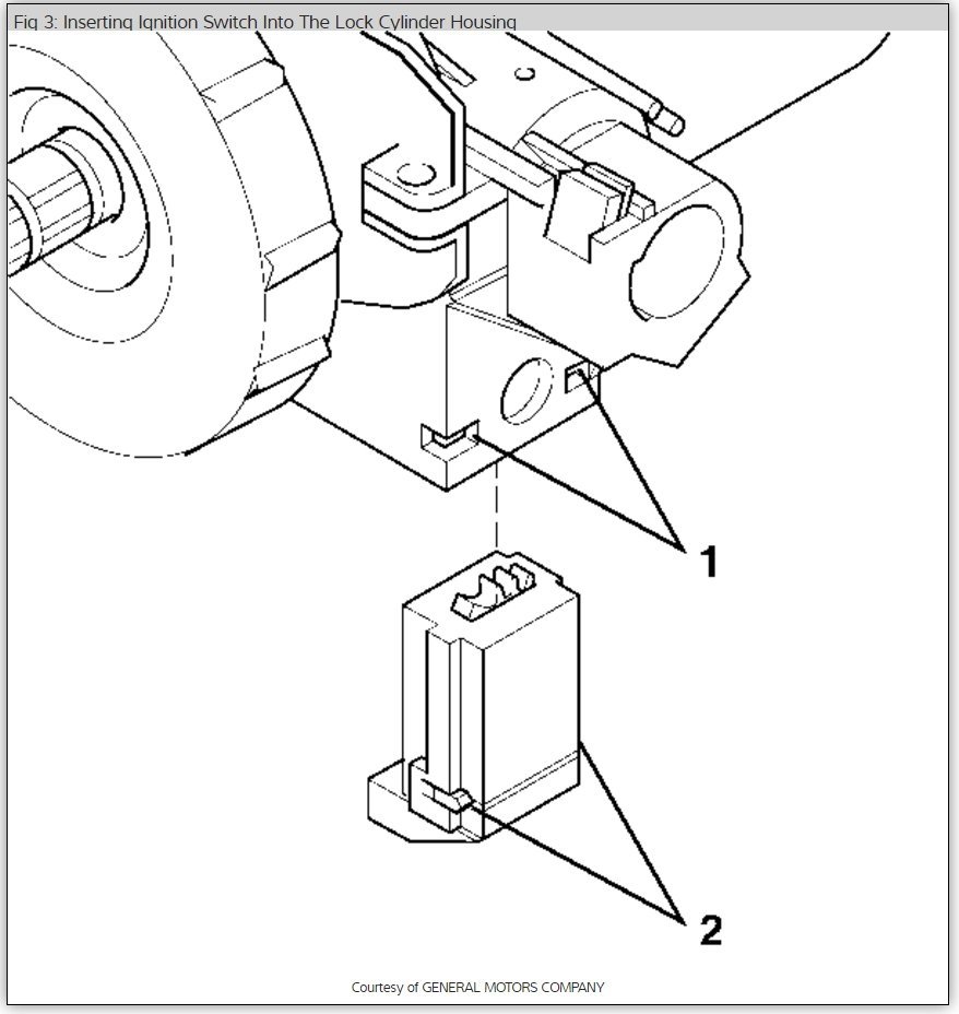
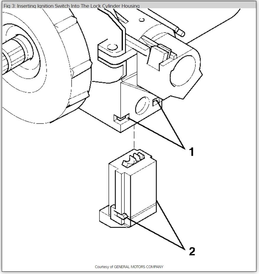
Hello,
It could be one of a few problems, First follow this guide to go over the obvious.
https://www.2carpros.com/articles/ignition-switch-wont-turn-stuck
But is it probably becasue the key is worn out and needs replacement, here is some guides (BELOW) to help you get the problem fixed.
Please let us know what happens.
Cheers, Ken
Images (Click to make bigger)
Was this
answer
helpful?
Yes
No
Wednesday, May 17th, 2017 AT 5:54 PM
Please
login
or
register
to post a reply.
Related Steering Wheel Content
97 Cavalier
Hit A Curb Hard The Other Day And Not The Car Does Not Drive Right At All, Steering Wheel Is Off And When I Look At The Front Tires One Is...
Asked by
magnus89
·
3 ANSWERS
1997
CHEVROLET CAVALIER
1996 Chevy Cavalier Steering Jams Up Completly On...
Yes When I Make A Left Turn Sometimes, Well Most Times The Wheels Just Jam Up And I Can Not Turn. Do You Have Any Idea? Thank You...
Asked by
belinda123
·
5 ANSWERS
1996
CHEVROLET CAVALIER
Will Not Turn Out Of On Position
I Can Start My Car, But When I Turn It Off I Cannot Turn The Key Any Farther Than The On Position. The Steering Wheel Is Not Locked, It Is...
Asked by
Trent Porter
·
3 ANSWERS
1 IMAGE
2001
CHEVROLET CAVALIER
Smoke
I Have 2001 Chevy Cavalier 67,000 Miles I Was Driving When I Smelled Something Like Burnt Plastic Then There Was Smoke Coming Out From...
Asked by
Med80
·
2 ANSWERS
CHEVROLET CAVALIER
1995 Chevy Cavalier I Hit A Curb
We Had Real Bad Snow Storm Which Made The Roads Bad I Slid And Hit A Curb. Now My Steering Wheel Is Turned Even When Going Straight It Also...
Asked by
shaun1
·
1 ANSWER
1995
CHEVROLET CAVALIER
VIEW MORE
Ask a Car Question. It's Free!
Steering Wheel Shaking
Steering Wheel Removal
Airbag Removal - Drivers Side