Wednesday, December 17th, 2008 AT 8:49 AM
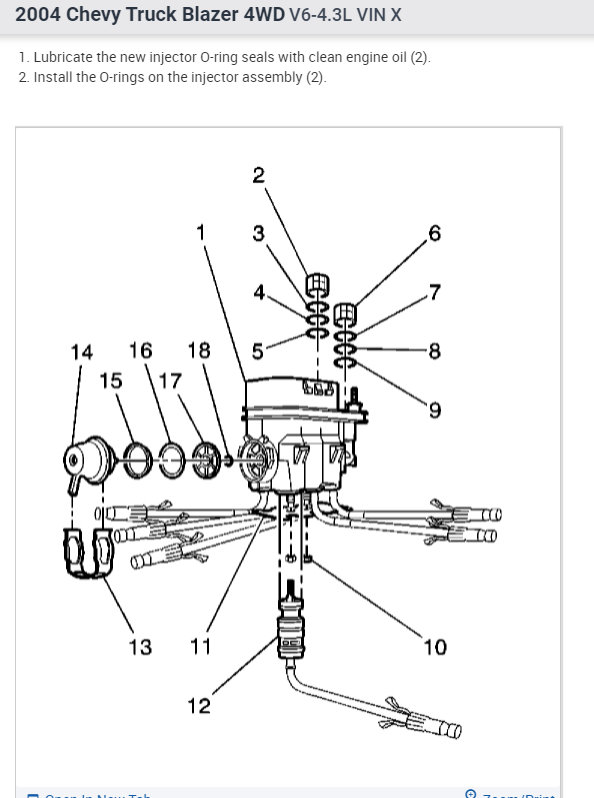
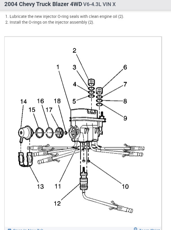
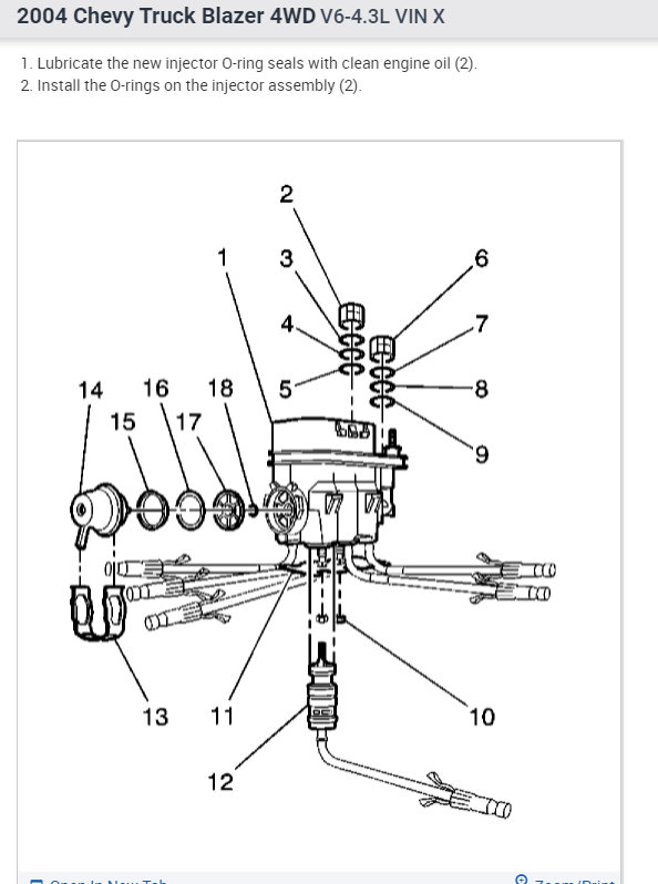
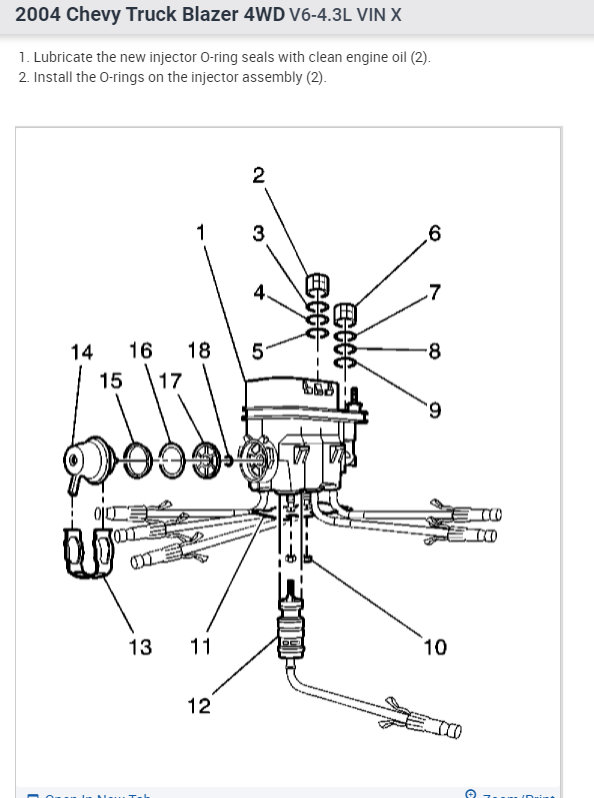
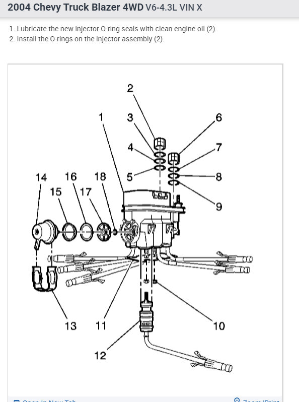
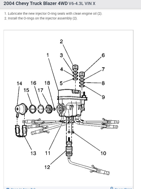
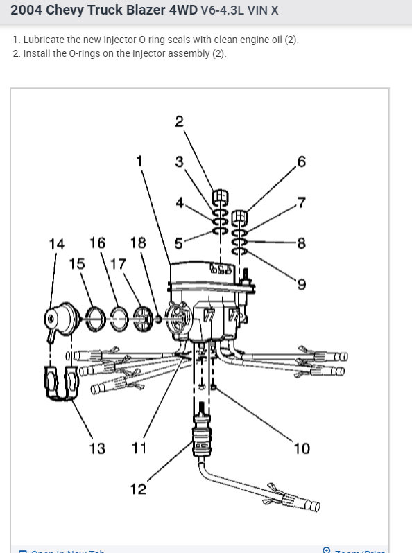
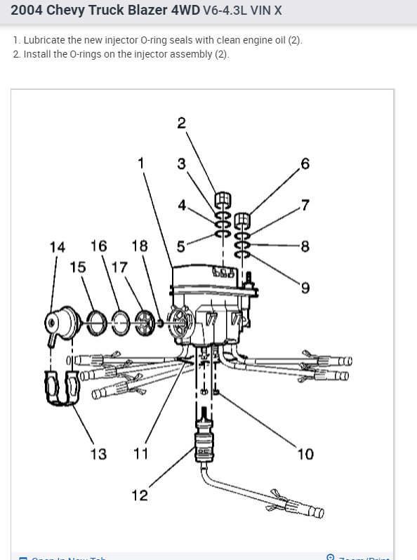
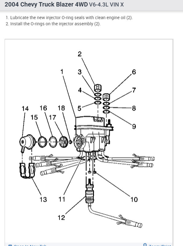
I have the vehicle listed above that was running bad. I took it to the dealership they said it has a 2004 or newer motor. They told me that four of my fuel injectors were bad. Well I paid them to fix it. Then another guy that works at a local shop, said that I have a spider injector which he says is one big injector with line running off of it. My question is, is there more than one injector on a spider injector system, on the 1996 Blazer or a 2004 Blazer. Did they come with regular injectors in either of those years or just spider injectors? Thank you







